Портал для радиолюбителей
   УКВ приемник в пачке Marlboro
    Главная -> Статьи -> Радиоприемники -> УКВ приемник в пачке Marlboro


<< Назад в раздел   Распечатать Дата добавления: 2008-02-18 | Просмотров: 9888

Одно из несомненных достоинств приемника - возможность приема около десятка популярных радиостанций в диапазоне 65,8...74 МГц или 88...108 МГц. Кроме того, приемник обладает неплохими параметрами: его чувствительность - не хуже 7 мкВ, выходная мощность - более 40 мВт, отношение сигнал/шум -не менее 40 дБ, ток потребления в режиме молчания (при отсутствии принимаемого сигнала) - максимум 10 мА, а потребляемый ток - не более 35 мА. Звуковой излучатель приемника (малогабаритная динамическая головка) воспроизводит сигналы в полосе частот 450.. .3150 Гц. Источник питания - батарея напряжением 3 В, работоспособность приемника сохраняется при снижении напряжения до 2 В. Если в качестве источника питания использовать два последовательно соединенных элемента A316, они проработают непрерывно 40.. .50 ч, а с элементами "Varta" - 70.. .80 ч.

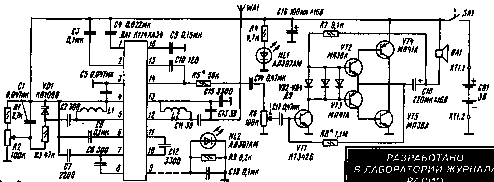
Схема приемника
Puc.1

Основу приемника (рис. 1) составляет многофункциональная микросхема К174ХА34 (DA1), которая представляет собой готовый супергетеродинный УКВ приемник, поскольку содержит и гетеродин, и смеситель, и усилитель ПЧ, и частотный детектор, и предварительный усилитель 3Ч. Кроме того, имеются амплитудный ограничитель и система автоподстройки частоты (АПЧ). Остается лишь подключить навесные элементы да "раскачать", при необходимости, выходной сигнал 3Ч до нужной мощности - это и было осуществлено в радиолаборатории журнала "Радио", причем с максимальным использованием типового включения микросхемы.

С антенны WA1 (ею служит плетеная ручка приемника из многожильного монтажного провода в изоляции) принимаемый сигнал поступает на широкополосный входной колебательный контур L2C11C13, рассчитанный на выбранный диапазон, а с контура - на вход микросхемы (выводы 12, 13). К другому входу микросхемы (выводы 4. 5) подключен контур гетеродина L1C2VD1. Изменением резонансной частоты этого контура настраивают приемник на нужную радиостанцию. Органом настройки в данном случае является варикап VD1. Его емкость изменяют электронным способом, подавая на варикап то или иное постоянное напряжение, снимаемое с движка переменного резистора R2. При этом частота настройки гетеродина превышает частоту сигнала принимаемой радиостанции на 75 кГц- значение промежуточной частоты.

Вся остальная обработка сигналов - смешение, усиление сигнала ПЧ, детектирование, предварительное усиление сигнала 3Ч осуществляется микросхемой. В итоге на выводе 14 появляется сигнал 3Ч амплитудой не менее 100 мВ, который, в принципе, можно подавать на головной телефон сопротивлением не менее 100 Ом. Для получения наибольшего выходного сигнала 3Ч вывод 16 микросхемы соединен с общим проводом через конденсатор С9. а для корректировки предыскажений сигнала ЧМ и обеспечения большей устойчивости работы усилителя между выводами 15 и 14 включен конденсатор С 10, образующий отрицательную обратную связь.

На выводе 9 микросхемы формируется постоянное напряжение, обратно пропорциоиальное уровню несущей частоты. Его можно использовать, например. для индикации настройки приемника на радиостанцию - светодиод HL2, являющийся одновременно индикатором включения приемника, при точной настройке на радиостанцию будет гаснуть. Правда, в данном варианте приемника эта цепь не реализована.

Катушка L1 содержит 12 витков на каркасе диаметром 5 мм, длина намотки 12...16 мм. L2 содержит 7 витков на таком же каркасе, длина намотки 7...10 мм. Провод для обеих катушек - ПЭВ 0,9.

Выходной сигнал 3Ч поступает с микросхемы на переменный резистор регулировки громкости R6, а с его движка - на усилитель 3Ч, выполненный по двухтактной схеме на транзисторах VT1-VT5. Но возможно применение других вариантов усилителей, способных работать на нагрузку сопротивлением 8 Ом при питающем напряжении 2-3 В. Рассмотрим некоторые из них.

Схема усилителя
Puc.2

Более всего этим требованиям удовлетворяет усилитель, выполненный на микросхеме К174УН4А (рис. 2), несмотря на то, что в справочнике на нее приведена нижняя граница питающего напряжения 5,4 В. Тем не менее эксперименты показали, что собранный по приведенной схеме усилитель при напряжении питания 3 В развивает на нагрузке сопротивлением 8 Ом выходную мощность 50...60 мВт и сохраняет работоспособность при снижении напряжения до 2 В. Достоинство усилителя также и в малом токе потребления: в режиме молчания - 3 мА, при максимальной громкости - 40...50 мА. Недостатком усилителя следует признать искажения типа "ступенька", которые становятся заметны при уменьшении питающего напряжения и амплитуды входного сигнала.

Следующим вариантом может быть усилитель 3Ч, выполненный на микросхеме К174УН17, рассчитанной на работу с высокоомными (не менее 30 Ом) стереофоническими головными телефонами. В данном случав вместо телефонов будет работать, например, динамическая головка 0.5ГДШ-1 со звуковой катушкой сопротивлением 50 Ом. При напряжении 2...3 В такой усилитель сможет развивать выходную мощность около 20 мВт, что обеспечит достаточно громкое звучание.

Усилитель 3Ч на микросхеме К174УН14 работает без искажений при минимальном напряжении питания 2,5 В. Недостатком такого усилителя является значительный ток потребления - это необходимая плата за "чистый* и громкий звук. Так, при питающем напряжении 3 В ток покоя составлял 17 мА. При входном сигнале амплитудой 40 мВ выходное напряжение достигало 1 В, потребляемый ток - 40 мА, а выходная мощность на нагрузке сопротивлением 8 Ом - 45 мВт.

Если использовать две микросхемы К174УН14 и включить их по мостовой схеме, то при питающем напряжении 3 В можно добиться выходной мощности 100... 110 мВт на той же нагрузке 8 Ом, но значительно (до 120... 130 мА) возрастет максимальный потребляемый ток, что неприемлемо для малогабаритного приемника.

Опробован и вариант использования микросхемы К174УН20, представляющей собой стереоусилитель для переносной и автомобильной аппаратуры. Она содержит в своем корпусе как бы два микросхемы К174УН14 и имеет несколько лучшие параметры по сравнению с К174УН14 в обычном и мостовом включении. К примеру, нижняя граница питающего напряжения сместилась к 2,2 В, а выходную мощность в мостовом включении 100.. .110 мВт на нагрузке 8 Ом удалось получить при напряжении 3 В и токе потребления 80...100 мА.

Усилитель 3Ч на микросхеме К174УН7 начинал работать без искажений при питающем напряжении 3,8 В, его выходная мощность на нагрузке сопротивлением 8 Ом составляла 50 мВт при потребляемом токе 35 мА. С таким же напряжением получались хорошие результаты в случае использования операционного усилителя К157УД1, обладающего максимальным выходным током 300 мА.

Многие вопросы при построении усилителей 3Ч для низковольтной миниатюрной аппаратуры снимаются при использовании микросхемы К174УН23 - двухканального усилителя мощности 3Ч с электронной регулировкой громкости. Эта микросхема может работать как в стереофоническом режиме с выходом на головные телефоны, так и в мостовом монофоническом варианте с нагрузкой на низкоомную динамическую головку.

Печатная плата радиоприемника приведена на рис.3.

Д. МАКАРОВ, г. Москва

(Радио 10/95)


Добавил:  Павел (Admin)  
Автор:  Д. МАКАРОВ, г. Москва (Радио 10/95) 

Вас может заинтересовать:

  1. Частотный детектор
  2. Синтезатор частоты и микрокомпьютер автомагнитолы Yamaha YX-9500
  3. Тракт ПЧ ЧМ автомагнитолы на микросхемах
  4. Усилитель низкой частоты
  5. Высокая чувствительность приемника, простыми методами


    © PavKo, 2007-2018   Обратная связь   Ссылки views: 7286 -- users: 7070 -- web3   Яндекс.Метрика