Портал для радиолюбителей
   Пробник для тиристоров и симисторов
    Главная -> Статьи -> Измерительная техника -> Пробник для тиристоров и симисторов


<< Назад в раздел   Распечатать Дата добавления: 2008-05-14 | Просмотров: 13100

   Пробник позволяет контролировать правильное функционирование симистора или тиристора. Работоспособность проверяемого элемента можно оценить, задавая отпирающий ток управляющего электрода. Так, для симистора можно показать отличие его поведения в зависимости от способа отпирания: I, II, III и IV. С помощью такого прибора легко определяется сопротивление в цепи управляющего электрода, достаточное для правильного запуска.

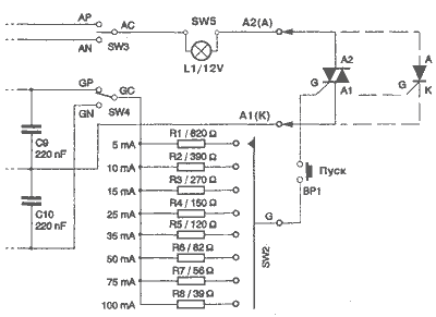
   Основа пробника - переключатель с резисторами R1 - R8, которые задают ток управляющего электрода тиристора или симистора. Положительное или отрицательное управляющее напряжение позволяет отпирать тестируемый элемент двумя способами. Выбор полярности управляющего тока осуществляется с помощью переключателя SW4. Другой переключатель (SW3) позволяет выбрать полярность питания между рабочими электродами проверяемого элемента или полностью его отключить.

Описание схемы

   Принципиальная электрическая схема устройства представлена на рис. 1. Питающий трансформатор TR1 снижает сетевое напряжение 220 В и обеспечивает гальваническую развязку между сетью и цепями пробника. Вторичная обмотка TR1 выполнена со средней точкой, откуда снимается напряжение с эффективным значением примерно 2x9 В. Двухполупериодный выпрямитель собран на диодном мосте D1. Сглаживание положительного и отрицательного напряжений обеспечивается конденсаторами С1 - С4. Напряжение на контакте АР относительно общего провода (А1) составляет примерно +11 В, в то время как напряжение на контакте AN составляет около -11 В. Переключателем SW3 изменяется полярность напряжения питания лампы.

   Стабилизированное напряжение питания ±5 В вырабатывается с помощью стабилизаторов положительного напряжения (7805) и отрицательного напряжения (7905) и обеспечивает нормированный ток управления.

   Диоды D2 и D3 не допускают резкого падения входного напряжения стабилизаторов при отпирании тестируемого тиристора или симистора.

   Величину управляющего тока определяют резисторы R1 - R8, включаемые в цепь управляющего электрода с помощью переключателя SW2. Напряжение на управляющем электроде тиристора или симистора составляет примерно 1 В, поэтому величина управляющего тока рассчитывается по следующей формуле:

Iу=4/R

   Сопротивление R соответствует сопротивлению в цепи управляющего электрода тиристора или симистора. Пробник позволит определить максимальное значение этого сопротивления для различных способов запуска с напряжением управления 5 В.

   Различные способы отпирания симистора реализуются посредством четырех возможных комбинаций положений переключателей SW3 и SW4.

   Для тиристора используется единственный режим + + (см. табл.), который соответствует положению АР переключателя SW3 и положению GP переключателя SW4.

Электрическая схема пробника

Рис. 1. Электрическая схема пробника (1 из 2).

Электрическая схема пробника

Рис. 1. Электрическая схема пробника (2 из 2}.

Изготовление

   Разводка печатной платы пробника и размещение радиодеталей показаны на рис. 2 и 3 соответственно. Внешний вид собранного пробника изображен на рис. 4.

   Для первых испытаний внешние переключатели SW3 и SW4 можно не подключать. Необходимые соединения осуществляются посредством проводов с зажимами.

   Сначала необходимо проконтролировать напряжение между контактами АР и А1 (примерно +11 В) и между контактами AN и А1 (-11 В), затем измерить два симметричных напряжения питания +5 В между GP и А1 и -5 В между GN и А1.

   После предварительной проверки можно подсоединить переключатель SW3 к контактам АР и АС, а переключатель SW4 - к контактам GP и GN.

Разводка печатной платы пробника

Рис. 2. Разводка печатной платы пробника

Схема размещения радиодеталей на плате пробника

Рис. 3. Схема размещения радиодеталей на плате пробника

   Следующий шаг - подключение сими-стора или тиристора, как показано на схеме. При исправном элементе лампочка не должна гореть.

   Нажатие кнопки ВР1 должно включить тиристор или симистор.

   Если лампочка не зажглась, то, увеличивая величину управляющего тока переключателем SW2 и снова нажимая на пусковую кнопку, можно добиться включения лампочки.

   При разрыве цепи АР - АС лампочка должна погаснуть.

   Если все этапы этого испытания выполнены успешно, то тестируемый радиоэлемент считается исправным.

   С тестируемым симистором можно провести предыдущее испытание, применяя три другие способа отпирания, то есть чередуя GP с GN и АР с AN при помощи переключателей SW3 и SW4.

   Тогда лампочка должна гаснуть при смене положения переключателя SW3.

   Перечень элементов, необходимых для сборки пробника, приведен в табл. 1.

Внешний вид пробника

Рис. 4. Внешний вид пробника


Таблица 1. Перечень элементов для сборки пробника

Обозначение Наименование Примечание
Резисторы
R1 820 0м  
R2 390 0м  
R3 270 0м  
R4 150 0м  
R5 120 0м  
R6 82 0м  
R7 56 0м  
R8 39 0м  
Конденсаторы
С1,С2 470мкФ/25В  
СЗ,С4 470 нФ  
С5,С6 100мкФ/25В  
С7,С8 22мкФ/10В  
С9,С10 220 нФ  
Диоды
D1 W061 А/40 В Диодный мост
D2, D3 1N4001 ...4007  
Стабилизаторы
СI1 7805 Положительный
CI2 7905 Отрицательный
Прочее
L1 Лампа с цоколем Е10 12 В/ 100-200 мА
TR1 Трансформатор 220 В / 2x9 В - 5 ВА
SW1 Двухконтактный зажим для печатного монтажа  
SW2 Поворотный 12-позиционный переключатель  
SW5 Пластмассовый патрон ЕЮ для печатного монтажа  
F1 Плавкий предохранитель 5x20 на 50 мА
ВР1 Пусковая кнопка 1Т  
  Держатель для плавкого предохранителя для печатного монтажа 5x20
  Крышечка для плавкого предохранителя  
SW3, SW4 Тумблер 2шт.
  Монтажный лепесток 9шт.

Источник

  1. Кадино Э. Цветомузыкальные установки.-М.: ДМК Пресс, 2000.


Добавил:  Павел (Admin)  
Автор:  Неизвестно 

Вас может заинтересовать:

  1. Измеритель емкости-2
  2. НЧ частотомер на интегральных схемах
  3. Генератор сигнала ДМВ
  4. Измерение параметров Тиля-Смолла в домашних условиях
  5. Мультиметры М832: устройство и ремонт


    © PavKo, 2007-2018   Обратная связь   Ссылки views: 5423 -- users: 3768 -- web3   Яндекс.Метрика