Портал для радиолюбителей
   Прибор для установки угла опережения зажигания
    Главная -> Статьи -> Автомобильная электроника -> Прибор для установки угла опережения зажигания


<< Назад в раздел   Распечатать Дата добавления: 2008-05-16 | Просмотров: 7635

Точная установка момента зажигания горючей смеси в цилиндрах двигателя автомобиля - процесс кропотливый, требующий определенного навыка и больших затрат времени. Описываемый ниже прибор позволяет быстро и легко выполнить эту операцию в любых условиях.

Действие прибора основано на использовании стробоскопического эффекта. Если мгновенными вспышками света, синхронизированными с импульсами высокого напряжения на запальной свече первого цилиндра, освещать установочные метки на ободе маховика и корпусе работающего двигателя, то подвижная метка будет зрительно казаться неподвижной. Если угол опережения зажигания выставлен неверно, то по взаимному расположению меток легко определить, в какую сторону и на сколько необходимо повернуть планку регулятора угла опережения зажигания.

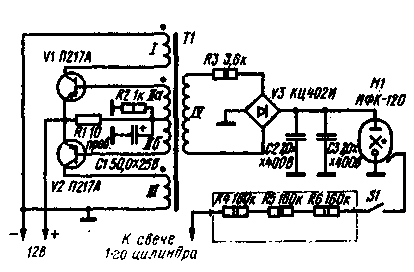
Схема прибора изображена на рис. 1. Источником света в приборе служит импульсная фотолампа H1. Прибор питается от аккумуляторной батареи (напряжением 12 В, с корпусом соединен минусовой вывод) автомобиля, двигатель которого регулируют. Напряжение питания, необходимое для работы лампы (около 250 В), дает преобразователь на транзисторах V1 и V2 и трансформаторе Т1 и выпрямитель на диодной сборке V3. Поджигающий импульс снимается со свечи первого цилиндра через ограничительные резисторы R4-R6.

Схема прибора для установки угла опережения зажигания
рис. 1

Трансформатор намотан на магнитопроводе Ш 16Х20. Обмотки I и III наматывают одновременно в два провода ПЭВ-2 0,5, число витков-21. Таким же образом наматывают и обмотку II (7 витков провода ПЭВ-2 0,15), причем начало одной полуобмотки нужно соединить с концом другой - это соединение будет служить отводом. Обмотка IV содержит 500 витков провода ПЭВ-2 0,2. Конденсаторы С2 и С3- бумажные на рабочее напряжение не менее 400 В. Транзисторы V1 и V2 желательно подобрать близкими по параметрам. Резистор R1 проволочный, остальные- МЛТ.

Конструктивно прибор состоит из двух узлов: осветителя и переходника. Внешний вид осветителя показан в заголовке статьи. Он выполнен в виде пистолета. В футляре размещены все детали прибора, кроме резисторов R4-R6. Основанием, на котором установлены детали осветителя, служит металлическая фигурная пластина, расположенная в футляре вертикально. Размещение деталей на пластине показано на рис. 2. Спереди размещен рефлектор с импульсной лампой (использован без переделки от фотовспышки "Луч-70"). Кнопка S1 прибора смонтирована в ручке. Футляр склеен из листового пластика.

Конструкция прибора для установки угла опережения зажигания
Рис. 2.

Вид на монтаж осветителя:

1 - рассеиватель.
2 - рефлектор с импульсной лампой, 
3 - накопительные конденсаторы,
4 - теплоотводы, дюралюминий,
 5 - транзисторы, 6 - электролитические
конденсатор К50-6, 
7 - монтажная плата, стеклотекотолит,
8 - диодная сборка КЦ402И, 
9- пластина-основание, дюралюминий.
10 - трансформатор,
11 - резистор МЛТ-23,6 к

Устройство переходника показано на рис. 3. В корпусе 3, выточенном в виде трубки из твердого теплостойкого изоляционного материала (текстолита, гетинакса), смонтированы резисторы R4-R6. Провод, соединяющий переходник с осветителем, должен быть с изоляцией, рассчитанной на напряжение не менее 15 кВ.

Устройство переходника прибора для установки угла опережения зажигания
Рис.3

В радиальном отверстии корпуса переходника смонтирован стальной стержень 4, оканчивающийся с нижнего (по рис. 3) конца пружинным зажимом для фиксации на выводе запальной свечи двигателя, а с верхнего - резьбовым наконечником 2, аналогичным по форме выводу свечи.

Правильно собранный прибор налаживания не требует. Работают с прибором в следующем порядке. Со свечи первого цилиндра (при остановленном двигателе) снимают контактный колпак, надевают на ее вывод переходник  прибора и на переходник надевают колпак свечи. Подают питание на прибор (вилку шнура питания прибора включают в розетку бортовой сети автомобиля). На кожухе маховика снимают крышку смотрового окна и запускают двигатель. Нажимают на кнопку включения прибора и направляют его свет на маховик. Если метки на маховике и корпусе двигателя не совпадают, смещают планку регулятора угла опережения зажигания до совпадения меток. Затем двигатель останавливают и отключают прибор.


Добавил:  Павел (Admin)  
Автор:  Неизвестно 

Вас может заинтересовать:

  1. Схема электропроводки автомобиля ВАЗ-2121
  2. Корректор угла опережения зажигания - 1
  3. Сигнализатор разрядки аккумулятора
  4. Автоматическое зарядное устройство для автомобильных свинцово-кислотных аккумуляторов
  5. СПАСЁТ И ТРАКТОР, И АВТОМОБИЛЬ (катодная защита)


    © PavKo, 2007-2018   Обратная связь   Ссылки views: 3564 -- users: 3385 -- web3   Яндекс.Метрика