Портал для радиолюбителей
   Радиопередатчик с ЧМ в диапазоне частот 1-30 МГЦ
    Главная -> Статьи -> Шпионские штучки -> Радиопередатчик с ЧМ в диапазоне частот 1-30 МГЦ


<< Назад в раздел   Распечатать Дата добавления: 2010-08-07 | Просмотров: 6678

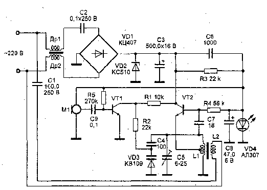
Устройство, описанное ниже, может работать в диапазоне 1-30 МГц с частотной модуляцией. Для питания радиопередатчика используется электросеть 220 В. Эта же сеть используется устройством в качестве антенны. Схема радиопередатчика приведена на рис. 1. Блок питания устройства собран по бестрансформаторной схеме. Напряжение сети 220 В поступает на дрос-сели Др1, Др2 и гасящий конденсатор С2, на котором гасится излишек напряжения. Перемен-ное напряжение выпрям-ляется мостом VD1, нагрузкой которого явля-ется стабилитрон VD2 типа КС510. Пульсации напряжения сглажива-ются конденсатором СЗ. Модулирующий усилитель выполнен на транзисторе VT1 типа КТ315. Сигнал звуковой частоты поступает на базу этого транзистора с электретного микрофона с усилителем Ml типа МКЭ-3 или М1-Б2 "Сосна". Усиленное на-пряжение звуковой частоты через резистор R2 поступает на варикап VD3 типа КВ109А, изменение емкости которого позволяет осуществлять частотную модуляцию. Задающий генератор выполнен по схеме индуктивной трехточки на транзисторе VT2 типа КТ315. Частота генератора определяется элемен-тами колебательного контура L1, С5, С4, VD3. Обратная связь осущест-вляется через конденсатор С7.

Режимы транзисторов VT1 и VT2 по постоянному току регулиру-ются резисторами R5 и R4 соответственно. Напряжения смещения тран-зисторов VT1 и VT2 формируются этими резисторами и параметричес-ким стабилизато-ром, выполненным на резисторе R3, светодиоде VD4 типа АЛ307 и конденсаторе С8. Этим достигается более высокая ста-бильность частоты, чем при обычном включении. Напряжение высокой частоты, промодулированное по частоте зву-ковым сигналом, с катушки связи L2 посту-пает в сеть 220 В через разделительный конденсатор С1. Конденсатор С1 уменьшает влия-ние напряжения сети на за-дающий генератор. Дроссели Др1 и Др2 исключают проникновение напряжения высокой частоты по цепям питания. Дроссели Др1 и Др2 намотаны на ферритовых стержнях и содер-жат по 100 витков провода ПЭВ 0,1 мм каждый. Ка-тушки L1 и L2 намотаны на каркасе диаметром 5 мм с подстроечным сердечником. Для диапазона 27 мГц катушка L1 имеет 10 витков с отводом от сере-дины, намотанных проводом ПЭВ 0,3 мм. Катушка связи L2 имеет 2 витка того же провода. Конденсаторы С1 и С2 должны быть рассчитаны на рабочее напря-жение не ниже 250 В. Диодная сборка КЦ407 может быть заменена на четыре диода КД105, КД102. Вместо стабилитрона VD2 можно исполь-зовать любой другой с напряжением стабилизации 8-12 В. Светодиод VD4 типа АЛ307 можно заменить на любой светодиод или на два-три кремниевых диода, включенных в прямом направлении. При использовании кондиционных деталей и правильном монтаже настройка заключается в подстройке час-тоты задающего генератора кон-денсатором С5.
ВНИМАНИЕ! При настройке и эксплуатации устройств с бестранс-форматорным питанием от сети переменного тока необходимо соблю-дать правила и меры безопасности, т. к. элементы этих устройств находятся под напря-жением 220В.



Добавил:  Павел (Admin)  
Автор:  Неизвестно 

Вас может заинтересовать:

  1. Управляемый РМ на 120...140 мГц
  2. Простой выносный микрофон
  3. Простой РМ на 144 MHz мощностью 20 мВт
  4. Радиомикрофон с широкополосной ЧМ в диапазоне частот 65-108 МГц
  5. Чувствительный микрофон с усилителем на малошумящих транзисторах


    © PavKo, 2007-2018   Обратная связь   Ссылки views: 14711 -- users: 13744 -- web3   Яндекс.Метрика