Портал для радиолюбителей
   ТРАНСИВЕР "РАДИО-76"
    Главная -> Статьи -> Трансиверы -> ТРАНСИВЕР "РАДИО-76"

Стопшум предлагает soundline db триплекс гвлву с доставкой.

<< Назад в раздел   Распечатать Дата добавления: 2012-02-16 | Просмотров: 19929

Трансивер предназначен для работы на SSB (нижняя боковая полоса) в телефонном участке 80-метрового любительского диапазона. Он имеет следующие характеристики: диапазон принимаемых и излучаемых частот - 3,6-3,65 МГц: чувствительность приемника (при соотношении сигнал/шум 10 дБ) - не хуже 1 мкВ; подавление зеркального канала при приеме - не менее - 40 дБ; "забитие" (по отношению к уровню 10 мкВ) - не хуже 500 мВ; взаимная модуляция (по отношению к 1 мкВ) - не хуже 80 дБ; входное сопротивление приемника-75 бм; выходное сопротивление усилителя НЧ - 10 Ом; максимальное выходное напряжение НЧ (с работающей системой АРУ)-0,8 В; изменение уровня выходного сигнала (при изменении уровня входного на 60 дБ) - не более 6 дБ; нестабильность частоты гетеродина (как для приемного, так и для передающего трактов) - не хуже 300 Гц/ч; пиковая выходная мощность - 5 Вт; уровень внеполосных излучении - не более -40 дБ; подавление несущей-не менее -50 дБ; выходное сопротивление передатчика - 75 Ом; напряжение питания-12 В; ток покоя в режиме приема- 200 мА; ток покоя в режиме передачи - 360 мА.

Односигнальная избирательность приемника (подавление нерабочей боковой полосы) и неравномерность в полосе пропускания определяются электромеханическим фильтром. Типичными при использовании стандартного электромеханического фильтра ЭМФ-9Д-500-ЗВ будут следующие значения этих параметров: полоса пропускания по уровню -6 дБ - 2.95 кГц, полоса пропускания по уровню -60 дБ - 4,85 кГц, неравномерность в полосе пропускания - не более 1,5 дБ.

Трансивер (без блока питания) выполнен на трех интегральных микросхемах, 11 транзисторах и 19 полупроводниковых диодах. Он собран по схеме, в которой тракт усилителя промежуточной частоты полностью используется как при приеме, так и при передаче. Такое решение в сочетании с применением кольцевых смесители, также полностью используемых при приеме и при передаче, позволяет существенно упростить схему вплоть до того, что все малосигнальные тракты трансивера на прием и на передачу можно сделать общими. В описываемой конструкции разделены функции лишь низкочастотных усилителей (усилителя НЧ приемника и микрофонного усилителя передатчика). Последнее привело к использованию нескольких дополнительных компонентов, но зато заметно упростило коммутацию.

Другая особенность трансивера - нетрадиционное построение приемного тракта (без усилителя высокой частоты, с кольцевым смесителем на входе). Это позволило получить хорошие характеристики по "забитию" и по взаимной модуляции. Несмотря на отсутствие усилителя ВЧ и использование пассивного смесителя, удалось получить чувствительность около 1 мкВ, более чем достаточную для работы на диапазоне 80 м.

Структурная схема
Структурная схема

Трансивер состоит из трех блоков (основного, гетеродинов и усилителя). В режиме приема сигнал через антенный переключатель 1 и фильтр сосредоточенной селекции 2 поступает на первый кольцевой смеситель 3, расположенный в основном блоке. С блока гетеродинов на этот смеситель через коммутатор 12 подается напряжение высокочастотного гетеродина 10 с частотой, лежащей в интервале 4,1-4,15МГц. Усиленный первым каскадом усилителя ПЧ 4 сигнал промежуточной частоты (500 кГц) проходит через электромеханический фильтр 5, усиливается вторым каскадом усилителя ПЧ 6 и поступает на второй кольцевой смеситель 7, выполняющий в этом режиме функции смесительного детектора. С платы гетеродинов через коммутатор 12 на него подается напряжение с частотой 500 кГц от гетеродина 11, а продетектированый сигнал поступает на усилитель НЧ 8.

В режиме передачи сигнал с микрофона усиливается низкочастотным усилителем 9 и поступает на первый кольцевой смеситель 3, который в этом режиме выполняет функции балансного модулятора. С блока гетеродинов на него через коммутатор 12 подается напряжение гетеродина 11. Первый каскад усилителя ПЧ усиливает DSB сигнал. Электромеханический фильтр выделяет из этого сигнала верхнюю боковую полосу, и сформированный SSB сигнал после усиления вторым каскадом усилителя ПЧ поступает на второй кольцевой смеситель, на который подается напряжение гетеродина 10 частотой 4,1-4,15 МГц (через коммутатор 12). Преобразованный сигнал усиливается усилителем мощности, состоящим из предварительного 13 и оконечного 14 усилителей, и через переключатель 1 поступает в антенну.

Принципиальные схемы основного блока, блока гетеродинов и блока усилителя мощности приведены на рис. 1, 2 и 3.

В режиме приема на первый кольцевой смеситель на диодах Д1-Д4 (рис. 1) через выводы 9 и 10 поступает сигнал, а через выводы 7 и 8-напряжение гетеродина частотой 4,1-4,15 МГц. На выходе кольцевого смесителя выделяется сигнал промежуточной частоты (500 кГц), который усиливается усилителем ПЧ, выполненным на транзисторе Т1. Предварительную фильтрацию сигнала ПЧ осуществляет колебательный контур L2C4C5C6, а основную -- электромеханический фильтр Ф1, включенный в коллекторную цепь транзистора Т1. Для дальнейшего усиления сигнала в тракте ПЧ применена микросхема МС1, представляющая собой обычный каскодный усилитель (См. "Радио", 1975. N 7. с. 55.).

ra-761.gif
Puc.1

Выделенный на колебательном контуре L3C15 сигнал поступает на второй кольцевой смеситель на диодах Д9-Д12. Через выводы 12 и 13 на него с блока гетеродинов подают напряжение с частотой 500 кГц.

Прошедший через фильтр нижних частот Др2С21R14С22 сигнал низкой частоты усиливается микросхемой МС2, представляющей собой двухкаскадный усилитель с непосредственными связями, и транзисторами ТЗ-Т5. К выводам 16 и 17 можно подключить громкоговоритель с сопротивлением 5-10 Ом или головные телефоны (желательно низкоомные).

В режиме передачи сигнал с микрофона поступает на вывод 1 и усиливается микросхемой МСЗ. Эта микросхема (в отличие от МС2) включена не совсем обычно: ее вывод 10 соединен через электролитический конденсатор не с корпусом, а с выводом 11 (микросхемы), с которого и снимается выходной сигнал. При этом уменьшаются ее коэффициент усиления и выходное сопротивление (примерно до 300 Ом).

С микрофонного усилителя низкочастотный сигнал поступает на первый кольцевой смеситель, который теперь выполняет функции балансного модулятора. На этот смеситель через выводы 8 и 9 с блока гетеродинов подается напряжение частотой 500 кГц. Балансируют смеситель подстроечным резистором R2.

С балансного модулятора DSB сигнал поступает в тракт ПЧ, с выхода которого на второй кольцевой смеситель подается уже сформированный и усиленный SSB сигнал. Через выводы 12 и 13 на этот смеситель поступает напряжение гетеродина частотой 4,1- 4,15 кГц. Преобразованный сигнал через выводы 14 и 15 поступает на усилитель мощности для фильтрации и усиления. С вывода 18 сигнал можно подать на VOX, а с выводов 16 и 17 - на ANTI-TRIP.

В блоке предусмотрена возможность автоматической регулировки усиления тракта ПЧ как при приеме (АРУ), так и при передаче (ALC). Эта регулировка осуществляется во втором каскаде усилителя ПЧ (микросхема МС1) вспомогательным транзистором Т2. На базу транзистора управляющие сигналы подают через развязывающие диоды Д14 и Д15 (выводы 3 я 4}.

Ручная регулировка усиления возможна только в режиме приема. Ее осуществляют, подавая через вывод 6 блока напряжение смещения на транзистор первого каскада усилителя ПЧ.

Единственный в основном блоке узел, коммутируемый при переходе с приема на передачу, также относится к этому каскаду. О том, как он работает, будет рассказано ниже.

В блоке гетеродинов (рис. 2) находятся коммутатор на реле Р1 и Р2 и два генератора. Один из них - генератор плавного диапазона {ГПД). изменением частоты которого осуществляется настройка на рабочую частоту. Он выполнен на транзисторе Т1.

ra-762.gif
Puc.2

На транзисторе Т2 собран буферный каскад. Катушка индуктивности колебательного контура генератора находится вне платы и подключается к ней через выводы 6 и 7. Такое решение позволит в дальнейшем, при перенесении платы гетеродинов в трансивер первой категории, легко изменить диапазон рабочих частот гетеродина. не внося изменений в саму плату. Частоту ГПД изменяют варикапом Д1, подавая на него через вывод а управляющее напряжение.

Второй генератор (на частоту 500 кГц) выполнен на транзисторе ТЗ. Его частота стабилизирована кварцевым резонатором Пэ1.

Положение контактов коммутатора реле на рисунке соответствует режиму приема (напряжение на реле не подано). Через выводы 1 и 2 напряжение с блока гетеродинов подается на первый смеситель (выводы 7 и 8 основного блока), а через выводы 3 и 4 - на второй смеситель (выводы 12 и 13 основного блока). Управляющее напряжение на реле P1 и P2 подают через вывод 10, а напряжение питания на блок гетеродинов - на выводы 8 и 9.

ra-763.gif
Puc.3

В режиме передачи сигнал с основной платы поступает на выводы 1 и 2 платы усилителей мощности (рис. 3). Полосовой фильтр L1C1C3L2C2 выделяет из поступающего на него сигнала полезный, лежащий в полосе рабочих частот трансивера. Первый каскад усилителя мощности (транзистор Т1) работает в режиме класса А, а оконечный каскад, выполненный по двухтактной схеме на транзисторах Т2 и ТЗ, - в режиме класса В. Смещение на транзисторы задает стабилизатор на диоде Д.1. Выходной сигнал на антенну снимают с катушки связи L8 (чеоеэ выводы 5 и 6). Питание на первый каскад подают через вывод 3, а на оконечный - через вывод 4.

Схема соединения блоков трансивера и деталей, установленных вне этих блоков, приведена на рис. 4 в тексте. Для блоков на этом рисунке даны фотографии их печатных плат. Антенну подключают к разъему Ш1 и через контакты Р1/1 антенного реле принимаемый сигнал поступает на двухконтурный полосовой фильтр L1C1C2L2C3. С фильтра сигнал подается на основной блок. Через разъем Ш5 возможно подключение отдельной приемной антенны, минуя антенный переключатель. Переменным резистором R6 трансивер настраивают на рабочую частоту, а резистором R3 изменяют усиление тракта ПЧ при приеме.

Puc.4
Puc.4

Диоды Д1, Д2 и конденсаторы С4, С5 образуют выпрямитель с удвоением напряжения, формирующий сигнал управления АРУ.

Выключателем В1 трансивер переводят из режима "Прием" в режим "Передача". На схеме он показан в положении режима "Прием". В режиме "Передача" через верхние контакты выключателя на блок усилителя мощности подается питание, а через нижние контакты - напряжение +12 В на реле PI антенного переключателя, реле PI и Р2 коммутатора, расположенные в блоке гетеродинов (рис. 3), и на вывод 5 основного блока. Разберем принцип коммутации при переходе с приема на передачу в первом каскаде усилителя ПЧ основного блока (рис. 1). В режиме "Прием" нижний по схеме вывод резистора R6 присоединен к корпусу через обмотку реле Р1 (рис. 2), диод Д7 открыт напряжением, падающим на резисторе R5. Конденсатор С9, подключенный параллельно резистору R5. уменьшает отрицательную обратную связь по переменному току. Усиление каскада в этом случае максимально. При подаче на вывод 5 постоянного напряжения +12 В диод Д7 закрывается, отключая конденсатор С9 от резистора R5. Коэффициент усиления каскада скачкообразно уменьшается. Это позволяет избежать перегрузки тракта ПЧ относительно большим сигналом, поступающим в тракт с кольцевого смесителя в режиме передачи. Цепочка Р6Д6Д5 обеспечивает подачу на базу транзистора Т1 в режиме передачи постоянного смещения, не зависящего от напряжения на выводе 6. то есть от установки уровня усиления ПЧ в режиме приема.

Сигнал с микрофона поступает через разъем ШЗ. Под-строечным резистором R1 устанавливают необходимый уровень этого сигнала. По прибору ИП1 контролируют ток, потребляемый оконечным каскадом усилителя мощности.

Головные телефоны или громкоговоритель подключают к разъему Ш2. Питается трансивер от стабилизированного источника питания через разъем Ш4.

Большинство деталей трансивера расположено на трех печатных платах, соответствующих трем его блокам: основному, гетеродинов и усилителя мощности Фотографии этих печатных плат приведены на рис. 4. Платы изготавливают из одностороннего фольгированного стеклотекстолита толщиной 1,5-2 мм. В качестве выводов плат используют отрезки посеребренного или луженого медного провода толщиной 1,2-1,5 мм. На рис. 5 показана печатная плата основного блока, а на рис. 6 - блока гетеродинов.

Перед установкой микросхемы ее выводы укорачивают до 10 мм и аккуратно залуживают, обязательно используя теплоотвод (пинцет, плоскогубцы "утиный нос"). Затем выводы вставляют в отверстия печатной платы и, удостоверившись в том, что выводы не перепутаны, распаивают их.

Этой операции следует уделить особое внимание, так как из-за большого количества выводов выпаять неправильно установленную микросхему довольно трудно, особенно, если не использовать специальные насадки на паяльник. Более того, при отсутствии опыта повторная установка микросхемы может привести к повреждению печатных проводников либо самой микросхемы.

Печатные платы основного блока и блока гетеродинов, предназначенные для использования и в многодиапазонном трансивере, разработаны под следующие детали: резисторы (кроме резистора R2 в основном блоке) - МЛТ-0,25; резистор R2 в основном блоке - СП4-1; конденсаторы постоянной емкости (кроме электролитических) - КМ-4 и КМ-5, электролитические конденсаторы - К50-6; высокочастотные дроссели - ДМ-0,1, реле - РЭС-15 (паспорт РС4.591.004), катушки индуктивности в усилителе ПЧ и в гетеродине на 500 кГц - трансформаторы ФПЧ-2 от радиоприемника "Селга-404"; кварцевый резонатор Пэ1 - в корпусе Б1.

Без переделки плат можно использовать и компоненты некоторых других типов. Так, вместо резистора СП4-1 можно применить СПО-0,5, конденсаторы КМ-4 и КМ-5, используемые в цепях развязки, заменить на КЛС и КЛГ, а в остальных цепях-на КТ или КСО. В качестве катушек индуктивности в усилителях ПЧ и гетеродине на 500 кГц при соответствующей небольшой коррекции печатных проводников можно применить трансформаторы ПЧ от любых транзисторных приемников с соотношением витков от 20:1 до 10:1.

Транзисторы КТ315 могут быть с любым буквенным индексом. Можно также использовать любые кремниевые высокочастотные п-р-п транзисторы (КТ301, КТ306, КТ312). Следует лишь учесть, что в качестве Т1 и Т2 основного блока необходимо использовать транзисторы с Вст>80, а ТЗ (основной блок), Т1 и Т2 (блок гетеродинов) - с Вст>40. Транзисторы ГТ402 и ГТ404 можно заменить, например, на транзисторы МП41 и МП38. Однако в этом случае низкоомную нагрузку (с сопротивлением около 10 Ом) можно включать лишь через понижающий трансформатор.

Микросхемы К1УС222 и К1УС221 можно использовать с любыми буквенными индексами, но тогда необходимо подобрать резисторы в цепях питания так, чтобы напряжение на микросхеме не превышало максимально допустимого.

При отсутствии у радиолюбителя микросхем можно сделать их аналоги - модули на транзисторах КТ301, КТ306, КТ312, КТ315. Модулям следует придать форму, допускающую их установку на плате вместо микросхемы.

Диоды КД503 во вспомогательных цепях можно заменить практически любыми кремниевыми или германие-выми высокочастотными диодами с малыми обратными токами (например, Д9К). Для кольцевых смесителей лучше всего подходят современные высокочастотные диоды (КД503, КД509, ГД507), однако вполне удовлетворительные результаты получаются и при использовании диодов Д18, Д311 и т. д. При этом, правда, несколько ухудшится чувствительность приемника (до 1,5- 2 мкВ), но остальные характеристики не изменятся.

Варикап KB 102 можно заменить на Д901 или Д902.

Трансформаторы Тр1-Тр4 кольцевых смесителей намотаны на сердечниках К7Х4Х2 из феррита 600НН. Можно также использовать ферритовые кольца с проницаемостью 400-1000 и внешним днаметром 7-12 мм. Каждая обмотка содержит 34 витка провода ПЭВ-2 0,15. Наматывают трансформаторы сразу тремя проводами, которые предварительно скручивают в жгут. Следует быть внимательным при распайке обмоток трансформаторов (начала обмоток отмечены на рис. 1 и рис. 5 точками).

Катушка L4 генератора плавного диапазона намотана на каркасе диаметром 12 мм из фторопласта или полистирола. Она имеет 33 витка провода ПЭВ-2 0,35. Намотка рядовая, виток к витку. Катушка снабжена под-строечным карбонильным сердечником СЦР-1. Ее индуктивность - около 9 мкГ.

Катушки L1, L2 входного полосового фильтра намотаны на каркасах от KB контуров приемника "Спидола". Они содержат по 25 витков плотной рядовой намотки проводом ПЭЛШО 0,1 (отвод от 4-го витка, считая от заземленного вывода). Индуктивность катушек - около 6,2 мкГ.

Блок усилителя мощности не предназначен для использования в многодиапазонном варианте трансивера, поэтому подробно он не описывается. В нем применены такие же детали, как и в двух других блоках. Подстро-ечные конденсаторы - 1КПВМ-1. Входной полосовой фильтр L1C1C2L2C3 аналогичен ФСС, используемому в приемном тракте. Катушки L3-L5 намотаны на кольце К 12Х6Х4 из феррита М20ВЧ2 и имеют соответственно 2, 17 и 2 (с отводом посередине) витка провода ПЭВ-2 0,35. Для намотки катушек L6-L8 использовано кольцо К20Х10Х5 из феррита М50ВЧ2. Они содержат соответственно 2 (с отводом посередине), 16 и 2 витка провода ПЭВ-2 0,35. Диод КД510 (Д/) можно заменить любым кремниевым.

Детали, устанавливаемые методом навесного монтажа на шасси (см. рис.4), могут быть любого типа. Исключение составляют реле Р1 (РЭС-15, паспорт РС4.591.004) и переменный резистор R6. Этот резистор должен иметь высокое качество. Нестабильность сопротивления, неравномерность его изменения будут существенно ухудшать работу трансивера. Из доступных деталей лучше всего для этого применения зарекомендовали себя резисторы СП1, уже находившиеся некоторое время в эксплуатации ("притертые").

Измерительный прибор ИП1 - с током полного отклонения 0,5-1 А.

Один из возможных вариантов компоновки трансивера приведен на рис. 7.

Puc.7.

Корпус трансивера образуют две П-образных детали, одна из которых является основанием, а другая - крышкой (на рисунке не показана). На основании 1 с помощью стоек 3 высотой 5-10 мм закреплено плоское металлическое шасси 2. На шасси установлены платы основного блока 6, блока гетеродинов 12 и усилителя мощности 4. Первые две прикреплены к шасси непосредственно (чтобы не произошло замыкание монтажа, в шасси прорезаны прямоугольные отверстия размерами, несколько меньшими размеров плат). Транзисторы усилителя мощности установлены на радиаторе 5, который представляет собой дюралюминиевую пластину толщиной 5-10 мм. К радиатору на четырех стойках прикреплена плата усилителя.

На задней стенке основания трансивера установлены разъемы для подключения внешних устройств: 7 - общей для приемо-передающего тракта антенны; 8- головных телефонов или громкоговорителя; 9 - микрофона; 10 - блока питания; 11 - отдельной приемной антенны. На передней стенке основания трансивера закреплены переменные резисторы 14, с помощью которого осуществляется настройка на рабочую частоту, и 15, служащий для регулировки усиления приемника, а также выключатель 16 "Прием - передача" и измерительный прибор 17 для контроля тока оконечного каскада усилителя мощности.

Питание трансивера осуществляют от отдельного стабилизированного источника, обеспечивающего на выходе напряжение +12 В при токе до 1 А.

Налаживание трансивера начинают с установки режимов работы транзисторов Т1 и ТЗ в основном блоке. Для этого переключателем В1 (см. рис. 4) устанавливают режим "Прием", а движок переменного резистора R3 переводят в крайнее правое (по схеме) положение. Подбирая резистор R4 в основном блоке, добиваются, чтобы напряжение на эмиттере транзистора Т1 было около 2 В. Затем, изменяя сопротивление резистора R16, устанавливают напряжение на эмиттерах транзисторов Т4 и Т5 равным примерно 6 В.

После этого приступают к настройке блока гетеродинов. К выводу 4 платы подключают высокочастотный вольтметр с пределом измерения 1 В и, вращая подстро-ечный сердечник катушки L2, добиваются появления ВЧ напряжения амплитудой около 0,5 В. Затем ВЧ вольтметр подключают к выводу 2 и проверяют работу генератора плавного диапазона. Необходимое перекрытие - от 4,1 до 4,15 МГц (с запасом на краях примерно по 5 кГц) устанавливают подбором резисторов R5 и R7 (см. рис. 4) и подстройкой сердечником катушки L3. В случае необходимости в блок гетеродинов можно ввести дополнительный конденсатор (СЗ на рис. 2). Его устанавливают между выводами 6 и 7 платы гетеродинов.

Амплитуда напряжения ВЧ на выводе 2 должна быть примерно равна 1,2 В. Вращая ручку "Настройка", проверяют неравномерность напряжения гетеродина по диапазону. Она не должна превышать 0,1 В.

Теперь можно приступать к настройке радиочастотного тракта - основного блока трансивера. К разъему Ш2 подключают нагрузку - громкоговоритель с сопротивлением 6-10 Ом или его эквивалент - резистор с таким же сопротивлением и мощностью рассеивания 0,5 Вт. Параллельно нагрузке включают вольтметр переменного тока или осциллограф. Вывод 4 основной платы временно замыкают на корпус, отключая тем самым цепь автоматической регулировки усиления. На этом этапе настройки целесообразно отключить и генератор плавного диапазона.

Коснувшись пальцем или отверткой вывода 4 микросхемы МС2, убеждаются в работоспособности усилителя НЧ по появлению фона на выходе.

Параллельно катушке L4 подключают генератор стандартных сигналов. Установив уровень сигнала 20- 50 мВ, изменяют частоту ГСС в районе 500 кГц до появления сигнала на выходе усилителя НЧ. Не изменяя настройки ГСС, уменьшают уровень его сигнала до 20 мкВ и подключают ГСС параллельно конденсатору С11. Вращая подстроечный сердечник катушки индуктивности L3, добиваются максимального напряжения на выходе усилителя НЧ. Затем ГСС подключают параллельно катушке L1 и подстраивают катушку L2 также по максимальному выходному напряжению. При этой настройке уровень сигнала ГСС постепенно уменьшают до 1-2 мкВ.

Если в распоряжении радиолюбителя имеется генератор качающейся частоты на 500 кГц, то можно подобрать конденсаторы С8 и СИ по наименьшей неравномерности в полосе пропускания (вопреки распространенному среди радиолюбителей мнению эти конденсаторы практически не влияют на вносимые потери). Выполнить такую настройку без ГКЧ можно только с вы-сокостабильным ГСС. Из-за большой крутизны скатов в провалах частотной характеристики ЭМФ сигнал на выходе трансивера может изменяться на 3-6 дБ только из-за нестабильной работы ГСС (достаточно ухода его частоты на 100 Гц в процессе настройки).

Для настройки входа и выхода ЭМФ с помощью ГСС частоту устанавливают в точке, соответствующей одному из провалов амплитудно-частотной характеристики, и подбором конденсаторов С8 и СИ (полезно временно подключить подстроечные конденсаторы) добиваются максимального напряжения на выходе усилителя НЧ. Приведенные в первой части статьи неравномерность в полосе пропускания соответствует случаю оптимальной настройки входной и выходной цепей ЭМФ.

При исправных деталях и потерях в ЭМФ не более 6 дБ чувствительность тракта со входа L1 должна получиться не хуже 0,5 мкВ. Поскольку в любительских условиях измерить чувствительность лучше 1 мкВ трудно из-за просачивания сигнала, работу тракта следует считать нормальной, если при уровне сигнала ГСС 1 мкВ сигнал заметно (в 10 и более раз) превышает шумы. В отсутствие сигнала уровень шумов на нагрузке 8 Ом усилителя НЧ должен быть не более 10 мВ.

Включив генератор плавного диапазона, настраивают входной ФСС приемника. Для этого на вход приемника подают сигнал от ГСС амплитудой 5-10 мкВ и частотой 3,625 МГц и вращают ручку настройки трансивера до появления на выходе усилителя НЧ приемника сигнала с частотой около 1 кГц. Контуры ФСС L1C1 и L2C3 (рис. 4) настраивают по максимальному напряжению на выходе усилителя НЧ.

В процессе настройки радиочастотного тракта необходимо следить, чтобы не перегружались каскады усилителей ПЧ и НЧ. Практически это означает, что напряжение на выходе усилителя НЧ в любом случае не должно превышать 2-3 В.

По окончании настройки радиочастотного тракта в режиме "Прием" градуируют шкалу трансивера. Настройку трансивера в режиме "Передача" также начинают с основного блока. Питание на усилитель мощности на первоначальном этапе настройки не подают. К разъему ШЗ подключают микрофон, который радиолюбитель в дальнейшем предполагает использовать с трансивером. К выходу микросхемы МСЗ подключают милливольтметр или осциллограф. Произнося долгое "А" (расстояние до микрофона и уровень громкости должны быть такими же, какими они будут в дальнейшем при работе в эфире), подстроечным резистором R1 (рис. 4) устанавливают уровень сигнала на выходе микросхемы МСЗ равным 0,1-0,15 В. После этого к выводу 15 платы основного блока подключают отрезок провода и прослушивают на вспомогательном приемнике сформированный SSB сигнал. Максимальное подавление несущей устанавливают с помощью подстроечного резистора R2,

Усилитель мощности настраивают отдельно. Подав на него питание, устанавливают режим транзистора Т1. Ток через транзистор должен быть равен примерно 50 мА. Его контролируют по падению напряжения на резисторе R4, включенном в эмиттерную цепь транзистора Т1.

Затем к разъему Ш1 подключают эквивалент антенны (резистор сопротивлением 75 Ом и мощностью рассеивания около 5 Вт). Его можно составить из нескольких включенных параллельно резисторов большего номинала, например из трех резисторов МЛТ-2 сопротивлением по 220 Ом. На вывод 2 платы усилителя мощности от ГСС подают сигнал частотой 3,625 МГц и амплитудой 0,1-0,15 В. Подключив ВЧ вольтметр к базе транзистора Т1, настраивают полосовой фильтр L1C1C2L2C3, Затем, включив вольтметр параллельно эквиваленту антенны, последовательно настраивают колебательные контуры L4C7C8 и L7C13C14. В процессе настройки величину сигнала ГСС постепенно уменьшают до 20-30 мВ.

Завершают настройку подбором оптимальной связи с антенной изменением числа витков катушки связи L8. Критерием настройки служит возрастание выходного напряжения передатчика в два раза при отключении эквивалента антенны. При подаче сигнала от ГСС ток, потребляемый оконечным каскадом, должен быть равен 0,5-0,7 А.

Восстановив соединение основной платы и платы усилителя мощности, проверяют трансивер на передачу в целом. Сигнал прослушивают на вспомогательном связном приемнике.

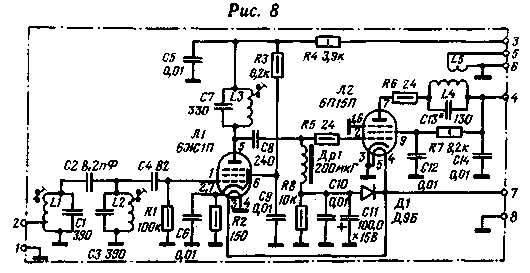
В отличие от основного блока и блока гетеродинов, в усилителе мощности использованы более дефицитные компоненты. Вызвано это желанием создать полностью полупроводниковый траисивер с выходной мощностью 5 Вт. Попытки же использовать в усилителе мощности менее дефицитные транзисторы успеха не имели. В том случае, если радиолюбитель не достанет транзисторы КТ606 и КТ904, он может выполнить усилитель мощности на лампах. Схема такого усилителя приведена на рис. 8. При использовании с описанным основным блоком, так же как и полупроводниковый усилитель мощности, он обеспечивает пиковую выходную мощность около 5 Вт.

Puc.8
Puc.8

На вывод 2 подают ВЧ сигнал от основного блока, на выводы 3 и 4 - напряжение +290 В, на вывод 7- переменное напряжение 6,3 В. Выводы 5 и 6 предназначены для подключения антенны. Напряжение питания на вывод 4 подают через измерительный прибор с током полного отклонения 70-100 мА. Схема управления трансивером при этом практически не изменяется. При ламповом усилителе мощности верхние по схеме контакты выключателя B1 (рис. 4) используют для подачи напряжения + 290 В на блок усилителя мощности, а нижние - для подачи напряжения + 12 В на остальные блоки трансивера.


Добавил:  Павел (Admin)  
Автор:  Б. СТЕПАНОВ (UW3AX), мастер спорта СССР, Г. ШУЛЬГИН (UA3ACM), мастер спорта СССР 

Вас может заинтересовать:

  1. Реверсивный QRP трансивер «Парус»
  2. Основная плата трансивера «Аматор-ЭМФ-SA»
  3. QRP трансивер "Микро-80" от RV3GM
  4. Из «Электроники-Контура-80» - 4-х диапазонный трансивер (Перестройка "Радио-76" на 4 диапазона)
  5. Трансивер «Аматор-КФ-160»


Evva 3ks авито объявления в москве купить цилиндр evva 3ks купить.


    © PavKo, 2007-2018   Обратная связь   Ссылки views: 1018 -- users: 947 -- web3   Яндекс.Метрика