Портал для радиолюбителей
   Стабилизатор напряжения с двойной защитой
    Главная -> Статьи -> Стабилизаторы напряжения -> Стабилизатор напряжения с двойной защитой


<< Назад в раздел   Распечатать Дата добавления: 2008-07-16 | Просмотров: 10833

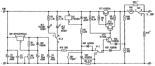
    Предлагаемый стабилизатор имеет раздельную защиту от перегрузки по току и КЗ. При КЗ на выходе стабилизатора срабатывает узел защиты на VT3 (рис.1). При перегрузке по току срабатывает защита на VS1 и К1.

Схема стабилизатора напряжения; Увеличить в новом окне

Рис.1. Схема стабилизатора напряжения

    Узел электронной защиты срабатывает, когда ток нагрузки создает на резисторе R6 падение напряжения, достаточное для открывания тиристора VS1, т.е. когда разность напряжений между управляющим электродом и катодом тиристора достигает приблизительно 1 В. Возникающий при этом отрицательный импульс напряжения через диод VD3 поступает на базу транзистора VT3 и практически закрывает его, а следовательно, и регулирующий транзистор VT1. Одновременно диод VD3 защищает транзистор VT3 от попадания на его базу положительного напряжения из анодной цепи тиристора.

    Однако электронная система защиты все же не предохраняет полностью транзистор VT1 от теплового пробоя остаточным током, особенно если транзистор уже был разогрет в процессе работы, или продолжительное время не нажимали кнопку SB1.

    Для предотвращения теплового пробоя транзистора VT1 и служит электромагнитная система защиты, срабатывающая через несколько миллисекунд (зависит от используемого реле К1) после того, как тиристор VS1 откроется. Тогда срабатывает реле К1. Его контакты К1.1 замыкают базу VT3 на минусовый проводник источника питания, а контакты К1.2 включают светодиод HL2 — сигнализатор действия защиты. После устранения причины перегрузки достаточно кратковременно нажать кнопку SB1, чтобы восстановить прежний режим работы блока питания, не отключая устройство от сети.

    На вход стабилизатора подается от выпрямителя постоянное напряжение 40 В. Выходное стабилизированное напряжение от 3 В до 30 В устанавливается резистором R2. Максимальный ток нагрузки — 2 А. Ток нагрузки контролируют головкой РА1, переключив SA1.

    Детали стабилизатора смонтированы на плате из фольгированного стеклотекстолита (рис. 2 и 3) и на лицевой панели корпуса блока питания. Регулирующий транзистор VT1 установлен на теплоотводе. Транзистор КТ825А можно заменить на КТ825Б, Г; КТ818В, Г, ВМ, ГМ; КТ814Г — на КТ814В, Б; КТ816Б, В, Г; КТ315В — на КТ315Г, Д, Е.

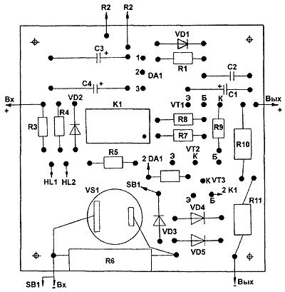
Печатная плата - сторона печатных проводников

Рис.2. Печатная плата - сторона печатных проводников

Печатная плата - сторона монтажа

Рис.3. Печатная плата - сторона монтажа

    Тиристор КУ202К заменяется на КУ201В...КУ201Л, КУ202В...КУ202Н. Вместо диода Д220А (VD2) подойдут Д219, Д220, Д223, КД102, КД103 с любыми буквенными индексами, а вместо диода КД105Б (VD3, VD4, VD5) — КД106А или любой другой кремниевый с прямым током до 300 мА и обратным напряжением не менее 50 В.

    Переменный резистор R2 — любого типа с характеристикой А. Реле К1 — РЭС48А (паспорт РС4.590.206) или другое с двумя группами переключающих контактов, срабатывающее при напряжении не более 30 В.

    Резистор R6 выполнен в виде нескольких витков константанового, нихромового или манганинового провода, намотанного на корпус резистора МЛТ-1. Его сопротивление определяется значением тока срабатывания, что, в свою очередь, зависит от напряжения на управляющем электроде тиристора, при котором он открывается. Так, например, если за максимальный ток срабатывания защиты принять 2 А, а тиристор открывается при напряжении на управляющем электроде около 1 В, сопротивление резистора R6 должно быть (по закону Ома) близко к 0,5 Ом. Возможно применение резисторов типа С5-16 соответствующей мощности.

    Более точно сопротивление резистора подгоняют под выбранный предел срабатывания защиты в таком порядке. К выходу стабилизатора подключают соединенные последовательно амперметр и проволочный переменный резистор сопротивлением 25...30 Ом. На вход стабилизатора подают соответствующее напряжение от выпрямителя, и резистором R2 устанавливают на выходе напряжение 10...15 В. Затем переменным резистором, выполняющим функцию эквивалента нагрузки, устанавливают по амперметру ток, равный 2 А, и подбором сопротивления резистора R6 добиваются срабатывания системы защиты.

    В радиолюбительской практике нередки обстоятельства когда от перегрузки токами меньшего значения, например, 50 или 100 мА, защищать приходится не только сам стабилизатор напряжения, но и питающееся от него устройство. При этом желательно иметь ступенчатую систему защиты, выполненную, например, по схеме, приведенной на рис.4. Здесь резистор R6.1 первой ступени, рассчитанный на минимальный ток защиты 50 мА, включен в стабилизатор постоянно, а параллельно ему переключателем SA2 подключают резисторы R6.2...R6.5 четырех других ступеней: 100 мА, 500 мА, 1 А и 2 А.

Ступенчатая система защиты

Рис.4. Ступенчатая система защиты

    Указанные на схеме сопротивления резисторов — ориентировочные. Точнее их можно рассчитать, лишь зная напряжение открывания тиристора, работающего в стабилизаторе. Измерить это напряжение можно так. Движок переменного резистора R2 установите в крайнее нижнее (по схеме) положение и подключите к нему управляющий электрод тиристора, отпаяв его от правого (по схеме) вывода резистора R6.1. Затем включите питание и медленно увеличивайте резистором R2 напряжение на управляющем электроде тиристора. В момент открывания тиристора, о чем просигнализирует светодиод, измерьте вольтметром это напряжение.

    Резисторы R6.2...R6.5 монтируются непосредственно на контактах переключателя SA2. Резисторы RS1 и R12 подбираются конкретно под имеющийся измерительный прибор.

Источники

  1. О.Лукьянчиков. Стабилизатор напряжения с двойной защитой от КЗ в нагрузке. — Радио, 1986, N9, С.56.
  2. А.Бизер. Защитные устройства блоков питания. — Радио, 1977, N2, С.47.
  3. Ю.Тимлин. Сдвоенный двухполярный блок питания. — В помощь радиолюбителю, вып. 71. — М.: ДОСААФ, 1980
  4. В.Борисов. Стабилизированный блок питания. — Радио, 1979, N6, С.54.

Автор: Ю.КУРБАКОВ, г.Тула


Добавил:  Павел (Admin)  
Автор:  Ю.КУРБАКОВ, г.Тула 

Вас может заинтересовать:

  1. Стабилизатор напряжения, защищенный от коротких замыканий выхода
  2. Экономичный стабилизатор с полевым транзистором
  3. Простой стабилизатор напряжения с высоким коэффициентом стабилизации
  4. Эффективный импульсный стабилизатор низкого уровня сложности
  5. Плавное включение нагрузки интегрального стабилизатора напряжения


    © PavKo, 2007-2018   Обратная связь   Ссылки views: 4489 -- users: 4399 -- web3   Яндекс.Метрика