Портал для радиолюбителей
   Как правильно подключать заземление
    Главная -> Статьи -> Блоки питания, зарядные устройства -> Как правильно подключать заземление

Разработать Дизайн каталога товаров librico.ru/katalogi.

<< Назад в раздел   Распечатать Дата добавления: 2008-08-04 | Просмотров: 8729

Наводки

Так как наводки представляют собой источник нежелательных сигналов, то они могут быть причислены к шумам. Защита от наводок может быть достигнута за счет надлежащего заземления, тщательного расположения монтажа и экранирования. Задача надлежащего экранирования может оказаться достаточно сложной, но может быть сведена к трем простым принципам (которым отнюдь не просто следовать): 1) проводник экрана должен быть присоединен к нулю опорного напряжения сигнала (земле сигнала) только один раз (При экранировании низкочастотных помех в ближнем поле. При экранировании радиопомех заземление лучше подобрать экспериментально); 2) экран и земля сигнала должны быть заземлены у источника питания в одной и той же физической точке; 3) все проводники, несущие сигнал, должны быть помещены в экран. Надлежащий монтаж должен исключать чрезмерную сгущенность, длинные пути прохождения сигнала с экраном или без него, не необходимые перекрещивания проводов. Другими словами, следуйте хорошему конструкторскому опыту.

Заземление

Непродуманное заземление, как правило, приводит к восприятию схемой нежелательных сигналов. Сформулировать принцип надлежащего заземления нетрудно, но иногда следовать этому принципу тяжело. Этот принцип можно сформулировать так: заземление, по которому течет ток нагрузки к источнику питания, должно осуществляться отдельным проводом, а не объединяться с проводом земли сигнала.

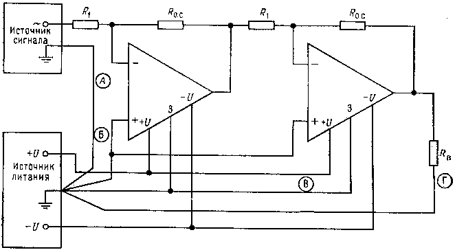
На рис. 1 показан пример реализации этого принципа. Смысл такого заземления заключается в том, что часто ток нагрузки во много раз больше тока сигнала. Ток нагрузки, протекая даже через провода достаточно большого сечения, может вызвать падение напряжения (IR) на линии заземления. Это вызовет изменение напряжения на линиях опорного напряжения каждого ОУ, присоединенного к этой линии заземления. В экстремальных случаях это изменение потенциала может составить несколько милливольт и может служить источником значительной погрешности.
 

Схема заземления

Рис. 1. Правильная схема заземления.

А и Б (в кружках) - провода заземления, по которым течет малый ток; В и Г (в кружках) - провода заземления, по которым течет большой ток; 3 - заземляемый вывод.
 

Л. Фолкенберри "Применение операционных усилителей и линейных ИС"

Еще раз о заземлении

Существует два технических приема, к которым несерьезно относятся даже те, кто производит впечатление знающих, - это заземление и экранирование. Главная причина осложнении, которые могут возникнуть в этой области, заключена в образовании так называемых цепей обратной связи через землю.

Рис 1. Ситуация, приводящая к тяжелым последствиям — повсеместные токи заземления (а); правильное заземление (б).

Такая цепь создается токами, протекающими в проводнике заземления. Этот ток создает падение, напряжения, которое проявляется для системы как сигнал. Эта ситуация показана на рис.1,а., где земля сигнала, общий проводник к источнику питания от усилителя и проводник заземления самого источника питания подключены к различным токам на поверхности заземления.

Рис. 2. Метод соединения земли аналоговых и цифровых схем на печатной плате.

Поверхностью заземления может быть массивный толстый кусок меди, или сама земля, или большой лист металла, но даже в этом случае нет уверенности, что проблема решена. Если же "землей" будет тонкий провод, то почти наверняка вы столкнетесь с проблемой цепей обратной связи через землю.

В случае, показанном на рис. 2, большой ток ("большим" может считаться ток всего в несколько миллиампер) вызывает падение напряжения между точками В и С. Это можно интерпретировать как сигнал постоянного тока на входе усилителя. Хотя мы можем считать, что входной сигнал действует между точкой Л и входной линией усилителя, в действительности входным сигналом для усилителя будет напряжение относительно точки С.

Мы очень часто говорим о необходимости заземления, но, по-видимому, возможны и такие случаи, когда точек заземления слишком много. Лучшая ситуация - это единственная точка заземления, как это показано на рис. 1,б. При этом формирование цепей обратной связи через землю исключается или по крайней мере значительно затрудняется.

Рис. 2. показывает, как это можно сделать при разработке рисунка печатных проводников на печатной плате. Проводники заземления от различных цепей сходятся в одну точку на торцевом разъеме платы. Для более сильных токов используются два параллельных вывода.
 

Дж. Кар "Проектирование и изготовление электронной аппаратуры" М., "Мир" 1980г.


Добавил:  Павел (Admin)  
Автор:  Дж. Кар "Проектирование и изготовление электронной аппаратуры" М., "Мир" 1980г. 

Вас может заинтересовать:

  1. Преобразователь напряжения 2х15 вольт
  2. Преобразователь напряжения 12/220 В 50 Гц повышенной мощности
  3. Простейший генератор тока
  4. Импульсные преобразователи напряжения – Памятка радиоубителю
  5. Зарядное устройство с дискретной установкой зарядного тока


    © PavKo, 2007-2018   Обратная связь   Ссылки views: 147 -- users: 140 -- web3   Яндекс.Метрика