Портал для радиолюбителей
   Зарядное устройство с дискретной установкой зарядного тока
    Главная -> Статьи -> Блоки питания, зарядные устройства -> Зарядное устройство с дискретной установкой зарядного тока


<< Назад в раздел   Распечатать Дата добавления: 2008-07-16 | Просмотров: 13015

    При зарядке различных аккумуляторов необходим определенный зарядный ток для каждого из них. Предлагаемое устройство позволяет устанавливать 127 значений тока всего лишь с помощью семи выключателей.

    Это зарядное устройство рассчитано на зарядку любых малогабаритных аккумуляторов с напряжением от 1,5 до 12 В и током зарядки от 1 до 127 мА. К нему можно подключать, например, аккумуляторы Д-0,025, Д-0,06, Д-0,25, Д-0,55, ЦНК-0,45, ЦНК-0,9, а также батареи, составленные из них. Ток зарядки не зависит от числа заряжаемых аккумуляторов и может быть дискретно установлен в указанном выше диапазоне с шагом 1 мА без использования измерителя тока. Нестабильность тока зарядки не превышает 0,5 %. По достижении на аккумуляторе напряжения, соответствующего полной зарядке, процесс автоматически прекращается. Напряжение порога прекращения зарядки в зависимости от типа аккумулятора или батареи можно устанавливать от 1 до 12 В. Процесс зарядки контролируется светодиодом.

    Высокие характеристики нестабильности зарядного тока обеспечивает источник тока, в котором использована микросхема КР142ЕН19 [1]. Эта микросхема отлично работает также в прецизионных источниках тока [2] в диапазоне от нескольких десятков микроампер до нескольких ампер.

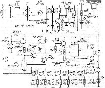
    Схема зарядного устройства с указанной микросхемой приведена на рис. 1. Источник тока образуют микросхема DA1, транзисторы VT3, VT4 (они образуют составной транзистор) и токозадающие резисторы R4-R10, подключаемые выключателями SA2-SA8. Сопротивления резисторов подобраны такими, чтобы при подключении одного из них устанавливался ток зарядки, указанный на схеме. Одновременным подключением нескольких резисторов устанавливают суммарный ток. К примеру, при замыкании контактов выключателей SA2, SA4 суммарный ток составит 5 мА, а когда будут замкнуты контакты всех выключателей, суммарный ток достигнет 127 мА.

Принципиальная схема зарядного устройства

Рис.1. Принципиальная схема зарядного устройства

    При необходимости дискретность установки тока можно изменить, сделав ее, к примеру, равной 2, 3, 5 мА. Сопротивление соответствующего токозадающего резистора в этом случае определяют по формуле

R = Uоп/Iзар (Ом),

где Uоп - опорное напряжение микросхемы DA1 (около 2,5 В); Iзар - ток зарядки, А.

    Выбирая другую дискретность, следует учитывать, что каждое последующее значение зарядного тока должно быть вдвое больше предыдущего, например, 3, 6, 12, 24 и т.д.

    Питание на микросхему DA1 поступает через ключ на транзисторе VT2, а режим работы ее задает резистор R3. Заряжаемый аккумулятор G1 подключают к выходу источника тока через гнезда (или зажимы) Х2 и ХЗ. Диод VD5 предотвращает разрядку аккумулятора при случайном отключении питания устройства. Поскольку аккумулятор заряжается от стабилизированного источника, напряжение на коллекторах транзисторов VT3, VT4 будет равно разности напряжений источника питания и аккумулятора. Это напряжение через эмиттерный повторитель, выполненный на транзисторе VT5, поступает на вход (вывод 6) компаратора, собранного на таймере КР1006ВИ1 [3]. На другой вход компаратора (вывод 5) подается опорное напряжение с движка переменного резистора R16.

    В начале зарядки аккумулятора напряжение на коллекторах транзисторов VT3, VT4 и, следовательно, на выводе 6 компаратора больше опорного напряжения, поступающего на его вывод 5. При этом на выходе компаратора (вывод 3) устанавливается низкий уровень, который удерживает транзистор VT1 в закрытом состоянии. В итоге открыт транзистор VT2, который включает источник тока, и начинается зарядка аккумулятора. Зажигается светодиод HL2, контролирующий работу источника тока и процесс зарядки.

    По мере зарядки аккумулятора напряжение на коллекторах транзисторов VT3, VT4 и, соответственно, на выводе 6 компаратора уменьшается. Как только оно уменьшится до напряжения, установленного на выводе 5, компаратор сработает. На выводе 3 компаратора установится высокий уровень, который откроет транзистор VT1. Транзистор VT2 при этом закроется, источник тока отключится. Светодиод HL2 погаснет, что укажет об окончании процесса зарядки.

    При снижении напряжения аккумулятора на значение напряжения гистерезиса, устанавливаемого подстроечным резистором R14, процесс зарядки возобновится.

    Блок питания устройства состоит из понижающего трансформатора Т1 и двух стабилизаторов напряжения - на элементах VT7, VT8, DA3 и микросхеме DA4. Первый стабилизатор служит источником питания микросхемы DA2 и источником для зарядки аккумулятора. Подстроенным резистором R21 устанавливают выходное напряжение стабилизатора. Для зарядки аккумуляторов в диапазоне от 1 до 12 В и нормальной работы источника тока оно должно быть 16 В.

    На транзисторе VT7 выполнена защита от короткого замыкания на выходе. При нормальной работе стабилизатора этот транзистор закрыт, поскольку напряжение на его эмиттере больше напряжения на базе. В случае короткого замыкания напряжение на эмиттере становится меньше напряжения на базе, транзистор открывается, напряжение на его коллекторе резко уменьшается, что приводит к закрыванию транзистора VT8 и запрещению работы микросхемы DA3.

    Диод VD4 служит для повышения пробивного напряжения эмиттер-база транзистора VT7, поскольку такое напряжение у большинства транзисторов не превышает 8 В. Диод VD3, включенный в прямом направлении, компенсирует падение напряжения на диоде VD4, а вместе с диодом VD2 создает начальное смещение на базе транзистора VT7.

    Второй стабилизатор служит для питания микросхемы DA1 и ее элементов управления.

    Светодиод HL1 сигнализирует о подключении устройства к сети.

    Вместо указанных на схеме в устройстве допустимо использовать на месте транзисторов VT1, VT2, VT6 любые из серий КТ312, КТ315, КТ342, на месте VT5, VT7 - любые из этих же серий, но с допустимым напряжением коллектор-эмиттер не менее 25 В, на месте VT3 - серий КТ342, КТ3102 с коэффициентом передачи тока базы не менее 100, на месте VT4, VT8 - любые из указанной серии. Светодиоды - любые из серии АЛ307. Трансформатор Т1 - готовый или самодельный, он должен обеспечивать на вторичной обмотке напряжение 18...20 В при токе нагрузки 200...400 мА. Диодный мост VD1 - серии КЦ405 с любым буквенным индексом. Выключатель SA1 - МТЗ, ТП1-1, остальные - типов МТ1, ТП1-1 или аналогичные. Постоянные резисторы - МЛТ, переменные R14, R16 - СП1-1, СП4-1 группы А, подстроенный R21 - СПЗ-1.

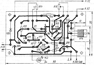
    Большинство деталей устройства смонтировано на двух печатных платах из односторонне фольгированного стеклотекстолита толщиной 1,5 мм. На одной плате (рис. 2) собрана основная часть устройства, на другой (рис. 3) - стабилизатор напряжения. Транзистор VT4 установлен на алюминиевой пластине толщиной 4...5 мм таких же размеров, что и печатная плата. Сама плата крепится к пластине сверху на стойках высотой 3...5 мм. Поскольку коллектор транзистора соединен с пластиной, в местах отверстий для крепления платы необходимо удалить фольгу, а также изолировать пластину в случае установки устройства в металлическом корпусе.

Печатная плата №1 (собирается основная часть устройства)

Рис.2. Печатная плата №1 (собирается основная часть устройства)

Печатная плата №2 (собирается стабилизатор напряжения)

Рис.3. Печатная плата №2 (собирается стабилизатор напряжения)

    Транзистор VT8 установлен на небольшом радиаторе, который, как и трансформатор, закреплен на нижней крышке корпуса устройства. Сам корпус может быть любой конструкции, его размеры определяют габариты используемых элементов.

    Налаживание зарядного устройства начинают с проверки стабилизатора напряжения на микросхеме DA3 без подключения его к основной плате. При отсутствии ошибок в монтаже и исправных деталях на выводе 1 микросхемы должно быть напряжение около 2,5 В. Затем подстроечным резистором R21 устанавливают на выходе стабилизатора (на конденсаторе С2) напряжение 16 В. Для проверки стабилизатора под нагрузкой параллельно конденсатору С2 подключают резистор МЛТ-2 сопротивлением 120 Ом. Выходное напряжение стабилизатора не должно отличаться более чем на 50 мВ. Если оно превышает это значение, подбирают резистор R20.

    Чтобы проверить защиту, выводы конденсатора С2 замыкают пинцетом или проволочной перемычкой. Светодиод HL1 должен погаснуть, а после снятия перемычки загореться.

    Убедившись в нормальной работе стабилизатора, проверяют действие всего устройства. Подключив вольтметр к выводу 1 микросхемы DA4, проверяют выходное напряжение второго стабилизатора - оно должно быть равным 9 В. Затем замыкают проволочной перемычкой гнезда Х2, ХЗ и ставят выключатель SA2 в положение замкнутых контактов. Подав питание, измеряют напряжение на эмиттере транзистора VT4 - оно должно быть около 2,5 В, при этом должен светиться светодиод HL2. Подбором резистора R3 устанавливают ток через микросхему DA1 равным 0,5...0,6 мА. Удаляют перемычку с гнезд и вместо нее подключают к гнездам миллиамперметр. Подбором резистора R4 добиваются тока 1 мА. Далее вместо контактов выключателя SA2 замыкают контакты выключателя SA3 и подбором резистора R5 устанавливают ток 2 мА. Аналогично подбором остальных резисторов (R6-R10) при замкнутых контактах соответствующих выключателей устанавливают токи, указанные на схеме.

    Конечно, процесс установки токов зарядки можно упростить, если вместо постоянных резисторов R4-R10 включить подстроечные.

    Шкалу резистора R16 градуируют, подключая к гнездам Х2, ХЗ свежезаряженные аккумуляторы соответствующего напряжения. Перемещая движок резистора, добиваются момента погасания светодиода HL2 и делают отметку на шкале резистора.

    С помощью резистора R14 устанавливают напряжение гистерезиса, при котором будет четко гаснуть светодиод в момент полной зарядки аккумулятора.

Источники

  1. Янушенко Е. Микросхема КР142ЕН19. - Радио, 1994, № 4, с. 45, 46.
  2. Микросхемы для линейных источников питания и их применение. TL431. Семейство регулируемых прецизионных параллельных стабилизаторов. - М.: Додека,1998.
  3. Коломбет Е. А. Таймеры. - М.: Радио и связь, 1983.

Автор: Ю. ЛЕБЕДИНСКИЙ, г. Александров Владимирской обл.


Добавил:  Павел (Admin)  
Автор:  Ю. ЛЕБЕДИНСКИЙ, г. Александров Владимирской обл. 

Вас может заинтересовать:

  1. Преобразователь напряжения -5 вольт
  2. Мифы о заземлении и UPS
  3. Использование ИС семейства TL494 в преобразователях питания
  4. Универсальное зарядное устройство СЦ-21, СЦ-32, Д-0,06, Д-0,1, Д-0,25, Д-0,55, 7Д-0,115, 316, 332, 3336
  5. Блок питания 13,8В 25-30А для современного КВ трансивера


    © PavKo, 2007-2018   Обратная связь   Ссылки views: 188 -- users: 67 -- web3   Яндекс.Метрика