Портал для радиолюбителей
   ВЫСОКОЧАСТОТНЫЕ НАВОДКИ В РАДИОЛЮБИТЕЛЬСКОЙ ПРАКТИКЕ
    Главная -> Статьи -> Радиоспорт, любительская радиосвязь -> ВЫСОКОЧАСТОТНЫЕ НАВОДКИ В РАДИОЛЮБИТЕЛЬСКОЙ ПРАКТИКЕ


<< Назад в раздел   Распечатать Дата добавления: 2008-08-08 | Просмотров: 15897

Итак, передатчик начал "жечься". Что можно предпринять, чтобы устранить этот неприятный эффект, не позволяющий нормально работать на передающей аппаратуре в эфире, и вызывающий сбои в работе передатчика? Разберем причины возникновения этого явления и способы его устранения, применительно к радиолюбительским условиям.

Наводки 1 рода

Начнем разбор причин "жжения" корпуса передатчика с наиболее часто встречающихся наводок 1 рода. Появление наводок 1 рода обусловлено следующим. При излучении антенной радиоволн, все проводящие предметы, расположенные вокруг антенны являются приемниками высокочастотной энергии.

В зависимости отношения размеров этих предметов к длине волны, от поверхностной проводимости для высокочастотных токов этих предметов, от расположения предметов относительно антенны будет зависеть величина высокочастотного напряжения, которое будет на этих предметах при работе антенны на передачу. Человек- оператор радиостанции, его трансивер являются для антенны посторонними предметами. Исходя из этого, можно предположить, что при работе радиолюбительского передатчика, будут происходить неизбежные наводки высокочастотной энергии на корпус передатчика, на человека-оператора радиостанции, и на близлежащие около трансивера предметы, как это показано на рис. 1.

Схема

В этом легко убедиться, подключив высокочастотный вольтметр одним контактом к корпусу трансивера, к руке человека, к любому другому проводящему предмету, находящемуся около антенны, как это показано на рис. 2. При достаточно большой величине наводки первого рода неоновая лампочка в руках оператора радиостанции будет светиться при работе трансивера на передачу. Также неоновая лампочка может светиться подключенная одним своим электродом к корпусу передатчика, или к любому другому проводящему предмету, имеющего более-менее большие размеры.

Схема

Высокочастотное напряжение, наводимое на разные окружающие предметы, будет отличаться друг от друга своей величиной и фазой. Вот почему при касании рукой человека корпуса передатчика, имеющего другое высокочастотное распределение напряжения, чем на теле человека, вследствие перераспределения высокочастотных токов между телом человека и корпусом трансивера происходит "жжение".

Диапазоны подверженные наводкам 1 рода

Наводки 1 рода присутствуют при работе любой антенны на передачу. Но когда же они достигают наиболее опасной величины, когда они заставляют "жечься" корпус трансивера? В радиолюбительских условиях наводки 1 рода обычно наиболее проявляются при работе на высокочастотных любительских диапазонах 6- 17 метров. На этих любительских диапазонах тело человека является своеобразной антенной, способной эффективно принимать радиоволны этих частот, и при некоторых условиях может иметь резонанс в этих диапазонах волн.

Вследствие этого даже при сравнительно небольшом уровне мощности передатчика, реально начиная от 20 ватт, могут возникать условия, при которых на тело человека будет наведено значительное высокочастотное напряжение. Конечно, одно из основных из условий появления наводок 1 рода является наличие значительного по величине электромагнитного поля в месте расположения передатчика и оператора. Разберем причины, по которым может появиться большой уровень электромагнитного поля.

Во первых, значительное по величине электромагнитное поле в месте расположения радиостанции может возникнуть вследствие эксплуатации близко расположенных к трансиверу суррогатных проволочных антенн, непосредственно подключенных (без использования фидера) к выходу передатчика или усилителя мощности. В этом случае достаточно даже небольшой мощности для возникновения наводок 1 рода. Во вторых, значительное электромагнитное поля в месте расположения радиостанции может появиться вследствие чрезмерно большой мощности, подводимой к неудачно размещенной в пространстве антенне. В этом случае наводки возникают за счет большого уровня напряженности поля, создаваемой антенной. Лепестки ее диаграммы направленности могут быть направлены на радиорубку, где и будут происходить наводки первого рода на аппаратуру и тело оператора радиостанции.

Устранение наводок 1 рода

При работе антенны на передачу всегда будут существовать наводки 1 рода на близкорасположенные предметы. Тем не менее, можно принять ряд мер, которые могут привести к уменьшению уровня этих наводок. Ниже мы разберем способы уменьшения уровня наводок 1 рода.

Конечно, необходимо полностью отказаться от использования случайных антенн и антенн, не имеющих фидерного питания на диапазонах возникновения наводок 1 рода или, на наиболее вероятных диапазонах их возникновения - 6-17 метров. В том случае если нельзя избежать применения простых суррогатных проволочных антенн необходимо уменьшить подводимую к этим антеннам мощность до уровня не более 10 ватт, или до уровня, при котором наводки первого рода не выходят за безопасный для человека и аппаратуры уровень. При возникновении наводок первого рода при работе на удаленные антенны с кабельным питанием необходимо снизить мощность, подводимую к этим антеннам до безопасного, не вызывающего жжения при прикосновении к корпусу аппаратуры, уровня. В тяжелых случаях возникновения наводок первого рода, возможно, придется сменить местоположение антенн, или каким-либо известным способом изменить диаграмму направленности антенны.

Экранировка зданий является наиболее эффективным способом борьбы с наводками первого рода. Вследствие экранировки значительно снижается уровень напряженности электромагнитного поля внутри здания, следовательно, уровень наведенного высокочастотного напряжения на тело человека и на аппаратуру. При уменьшении величины наведенного высокочастотного напряжения также уменьшаются его последствия. Корпус радиоаппаратуры перестает жечься при прикосновении к ней, различное радиоэлектронное оборудование работает без сбоев.

К сожалению невозможно уравнять высокочастотные потенциалы передатчика и человека путем использования индивидуального заземления каждого из них на общую "землю" как это показано на рис. 3. Такое возможно только в электротехнике, где работают с электрическим напряжением промышленной частоты 50 Гц. На высоких частотах дело обстоит несколько иначе. Вследствие конечностей длины провода системы заземления L1 и L2 от трансивера и оператора до радиотехнической земли, наличия конечного расстояния D между трансивером и человеком, наличия некоторого определенного сопротивления R между системами заземления человека и трансивера, всегда между телом человека и трансивером будет некоторое высокочастотное напряжение V. При достаточно высоком уровне это высокочастотное напряжение будет вызывать "жжение" тела человека при соприкосновении его с корпусом передатчика.

Схема

Даже при установке короткой по длине перемычки L3 между телом человека и трансивером, как это показано на рис. 4, высокочастотное напряжение между телом человека и корпусом трансивера не исчезнет. Вследствие некоторого расстояния D между оператором и трансивером, на тело человека и корпус трансивера будет наводиться высокочастотное напряжения с разными фазами. Вследствие конечной длины этой перемычки, следовательно, некоторого индуктивного ее сопротивления, перемычка не сможет уравнять высокочастотное напряжение, существующее на трансивере и на теле человека.

Схема

В радиолюбительских условиях использовать полную электрическую экранировку радиостанции затруднительно. Но если радиостанция установлена в доме, стены которого сильно поглощают высокочастотную энергию, например, в доме из железобетона, в доме стены которого выполнены из какого либо проводящего материала, то вполне возможно, что сетка из металла, установленная на окно в комнате, где расположена радиостанция, позволит значительно снизить уровень электромагнитного поля внутри радиорубки. Вследствие этого уровень наводок 1 рода уменьшится. Желательно обеспечить электрический контакт в нескольких местах этой сетки или с арматурой железобетонного здания или с проводящей поверхностью дома.

На профессиональных передающих и приемных радиоцентрах радиоаппаратура располагается в электрически экранированных зданиях. На окнах этих зданий установлена металлическая экранирующая сетка.

Если экранировка здания невозможна, то радиолюбители могут воспользоваться компенсационным способом устранения последствий наводок 1 рода. Этот способ заключается в выравнивании высокочастотного напряжения между передатчиком и телом человека-оператора радиостанции путем подачи некоторого уровня высокочастотного напряжения с определенным уровнем и фазой на корпус передатчика. При некотором определенном сдвиге фаз между напряжением на корпусе трансивера и подаваемом на этот корпус высокочастотным напряжения от внешнего устройства, возможно "выравнивание" высокочастотного напряжения существующего в точке соприкосновения между корпусом трансивера и телом оператора.

Схема для осуществления компенсационного метода показана на рис. 5. Разберем ее работу. Медный провод длиной L, равной 1,5-3 метра (может потребоваться экспериментальный подбор длины) и диаметром 1-3 мм размещается в непосредственной близости от оператора радиостанции и корпуса передатчика. Желательно провод разместить подвешенным в свободном пространстве, он может быть подвешен одним концом к потолку, к карнизу. Нежелательно, чтобы этот провод лежал на полу.

Схема

Далее этот провод подключают к устройству типа "искусственная земля", а устройство "искусственная земля" максимально коротким проводником к трансиверу. Схему устройства "искусственная земля" можно взять из [1]. Первоначально в устройстве "искусственная земля" индуктивность переменной катушки устанавливают на "0", а емкость переменного конденсатора устройства "искусственная земля" устанавливают на максимум. Включают трансивер в режим "передача" на одном из "жгучих" диапазонов. Регулируя последовательно индуктивность и емкость элементов настройки устройства "искусственная земля", добиваются минимального высокочастотного напряжения между корпусом трансивера и телом оператора.

Конечно, минимум высокочастотного напряжения можно определить по отсутствию "горячего" соприкосновения между телом оператора и корпусом трансивера. Но удобнее и безопаснее для человека использовать для этих целей высокочастотный вольтметр, который включают между телом человека и корпусом трансивера, как это показано на рис. 5. Высокочастотный вольтметр должен быть малогабаритный с батарейным питанием, проводники между вольтметром, трансивером и телом человека должны быть минимальной длины. В случае отсутствия в лаборатории радиолюбителя малогабаритного высокочастотного вольтметра можно использовать обычный малогабаритный вольтметр для измерения постоянного напряжения снабженный самодельным высокочастотным пробником. Схема такого устройства показана на рис. 6. Желательно использовать вольтметр с цифровой индикацией.

Схема

Обращаю внимание, что настройка системы в этом случае происходит только по показаниям высокочастотного вольтметра. На показания индикатора тока в устройстве "искусственная земля" в этом случае не надо обращать внимание. Эта система эффективно устраняет "жжение" на любительских диапазонах 6-17 метров. Настройку системы необходимо производить на каждом "жгучем" диапазоне. Изменение положения окружающих радиостанцию и антенну предметов может привести к изменению параметров настройки этой системы, и возобновить "жжение" корпуса трансивера.

Некоторые итоги по наводкам 1 рода

Итак, что можно сказать о наводках 1 рода.

1. Наводки 1 рода обусловлены высокочастотными наводками при излучении антенны на тело человека и на корпус трансивера.
2. В радиолюбительской практике эти наводки чаще всего возникают в верхних любительских коротковолновых диапазонах 6-17 метров.
3. Наводки первого рода устраняются экранированием помещения радиостанции, рациональным размещением передающих антенн, использованием согласованных антенн с кабельным питанием, снижением мощности, подводимой к неудачно расположенным антеннам, искусственным выравниванием высокочастотного потенциала между корпусом трансивера и телом человека.

Наводки 2 рода

Рассмотрим причины появления наводок 2 рода. Можно с уверенностью сказать, что это самые распространенные наводки при работе радиопередающих устройств. К счастью, обнаружить и устранить эти наводки относительно несложно.

Наводки второго рода заключаются в том, что при работе антенны на передачу часть излученной высокочастотной энергии может попадать на внешнюю сторону оплетки коаксиального кабеля питания антенны. По внешней стороне оплетки коаксиального кабеля эта высокочастотная энергия может возвращаться в место установки передатчика. В результате этого корпус передатчика окажется под высокочастотным напряжением, которое может вызвать "жжение" корпуса передатчика при прикосновении к нему.

Разберем основные пути проникновения высокочастотной энергии на внешнюю сторону оплетки коаксиального кабеля.

Конечно, основной путь попадания высокочастотной энергии на внешнюю сторону оплетки коаксиального кабеля будет в результате наводки излученной антенной электромагнитной энергии, как это показано на рис. 7. Эти наводки будут происходить неизбежно при работе любого типа передающих антенн. При расположении коаксиального кабеля несимметрично относительно симметричной антенны, как это показано на рис. 8, уровень наводок на внешней стороне оплетки коаксиального кабеля будет больше, чем в случае его симметричного расположения относительно антенны.

При работе высокоподнятой вертикальной несимметричной антенны со своей системой противовесов, как это показано на рис. 9, уровень наведенного высокочастотного напряжения на внешнюю сторону оплетки коаксиального кабеля будет небольшим.

Схема

Схема

Схема

Вторая причина, вследствие которой появляется высокочастотное напряжение на внешней стороне оплетки коаксиального кабеля, является "затекание" высокочастотных токов с внутренней стороны оплетки коаксиального кабеля на внешнюю сторону. В результате этого на внешней стороне оплетки коаксиального кабеля будет присутствовать высокочастотное напряжение. Причиной токов затекания в симметричной антенне является несимметричное выполнение последней, или расположение антенны в неблагоприятном для нее окружении. В результате этого плечи симметричной антенны имеют разное сопротивление относительно общей точки, которой является внешняя сторона оплетки коаксиального кабеля. Вследствие этого часть токов, которые должны бы были идти на питание симметричного плеча антенны, перераспределяются на внешнюю сторону оплетки коаксиального кабеля и благополучно протекают по ней. Причиной токов затекания в несимметричной антенне является неэффективное выполнение "земли" антенны. В данном примере "землей" антенны будем называть ту часть антенны, которая подключена к оплетке коаксиального кабеля. Вследствие этого часть токов, которые должны бы были идти на питание "земли" антенны, перераспределяются на внешнюю сторону оплетки коаксиального кабеля и протекают по ней.

Систему "трансивер- антенна- фидер" можно представить как показано на рис. 10. Антенна "А" при своем излучении наводит на внешнюю сторону оплетки коаксиального кабеля "F" длиной "L" токи наводки величиной "I". Вследствие различных причин, на внешнюю сторону оплетки коаксиального кабеля протекают токи затекания, обозначенные на рис. 10 как "I затекания".

Схема

При суммировании токи затекания и высокочастотные токи наведенные на внешнюю сторону оплетки коаксиального кабеля при работе антенны на передачу инициируют некоторый общий высокочастотный ток "Is". Для этого высокочастотного тока Is трансивер на конце фидера антенны представляет собой своеобразную нагрузку, сопротивлением R. Величина этого сопротивления R и уровень высокочастотного напряжения V на этом сопротивлении зависит от многих причин.

Если электрическая длина коаксиального кабеля "L" будет кратна половине длины волны, на которой работает антенна, то существует большая вероятность того, что на конце антенного коаксиального кабеля будет пучность высокочастотного напряжения. Комплексное сопротивление нагрузки R (рис. 10), образованной трансивером и подключенными к нему различными устройствами, может создать условия обеспечивающие работу внешней стороны оплетки коаксиального кабеля в резонансном режиме. Все это приведет к "жжению" корпуса трансивера даже при небольших мощностях, подводимых к антенне.

Ниже мы рассмотрим причины, от которых зависит уровень высокочастотного напряжения V (рис. 10) на нагрузке R (трансивере), и способы уменьшения этого напряжения.

Причины увеличения уровня наводок 2 рода

Наводки 2 рода проявляются на всех любительских диапазонах. Однако наиболее сильно они выражены на низкочастотных любительских диапазонах 40-160 метров. Это происходит по следующим причинам. На диапазонах 40-160 метров половина длины волны будет составлять 20-80 метров. Эта длина является близкой к реальной длине многих коаксиальных кабелей, идущих от радиолюбительского трансивера до антенны. Длину 15-25 метров имеют коаксиальные кабели при размещении любительской радиостанции на верхних этажах многоэтажного дома. Длину 40-80 метров коаксиальный кабель может иметь при размещении радиолюбительской радиостанции на нижних этажах 5- 9 этажного дома, а антенны на крыше этого дома.

При размещении радиолюбительской станции на верхних этажах в многоэтажном доме провод заземления радиостанции, имеющий значительную длину, в некоторых случаях может образовывать совместно с внешней стороной оплетки коаксиального кабеля паразитную антенну длиной "L", принимающую высокочастотную энергию, излученную антенной. Антенна, образованная системой "оплетка коаксиального кабеля - провод заземления", показана на рис. 11. По закону Мэрфи пучность напряжения на этой паразитной приемной антенне может как раз находиться в месте размещения трансивера. Это приведет к "жжению" его корпуса и к возможным сбоям в работе трансивера. Образование и работа такой паразитной приемной антенны наиболее вероятно на низкочастотных любительских диапазонах 30-80 метров.

Схема

На высокочастотных любительских диапазонах 6-20 метров, вследствие многократного отражения от различных посторонних предметов, окружающих антенну, на коаксиальный кабель наводится "пучок" радиоволн, которые имеют различную фазу и амплитуду, как это показано на рис. 12. Это приводит к тому, что суммарное высокочастотное напряжение, которое они индуцируют на внешней стороне оплетки коаксиального кабеля, редко достигает большой величины, способной вызвать "жжение" от корпуса передатчика.

Схема

Для эффективного отражения радиоволны от проводящего предмета, его размеры должны быть сравнимы с размерами длины волны, или, по крайней мере, быть не менее половины длины волны. Вокруг антенны можно обнаружить много таких проводящих предметов, имеющих физическую длину 3-10 метров. Это обыкновенные автомобили, металлические рамы окон, различные элементы зданий. Предметы такой длины будут участвовать в отражении радиоволн высокочастотных любительских диапазонов 6- 17 метров. Однако, предметов, способных эффективно отражать радиоволны низкочастотных любительских коротковолновых диапазонов, и имеющих длину 20- 80 метров, находится гораздо меньше около антенны.

Резонансный и нерезонансный режим работы паразитной антенны

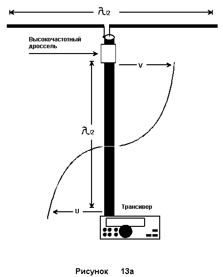
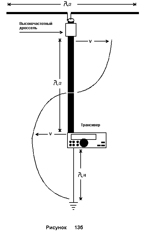
При работе внешней стороны оплетки коаксиального кабеля в резонансном режиме во время паразитного приема высокочастотной энергии, излученной передающей антенной, на корпусе трансивера будет присутствовать значительное высокочастотное напряжение. В предыдущем параграфе говорилось, что резонансный режим внешней стороны оплетки коаксиального кабеля возможен:

- когда электрическая длина паразитной антенны, образованной внешней стороной оплетки коаксиального кабеля и подключенных к нему устройств, будет кратна половине длины волны работы передающей антенны, как это показано на рис. 13а;

Схема

- когда электрическая длина паразитной антенны, образованной внешней стороной оплетки коаксиального кабеля и подключенных к нему устройств совместно с проводом заземления, будет кратна нечетному числу четвертей длин волн работы передающей антенны, как это показано на рис. 13б.

Схема

Для обеспечения резонансного режима в паразитной антенне необходимо чтобы предметы, окружающие фидер, не вносили значительных потерь в работу этой антенны. Если коаксиальный кабель находится в окружении предметов, в которых происходят значительные потери наведенной на внешнюю сторону оплетки коаксиального кабеля высокочастотной энергии, резонансный режим в паразитной антенне может отсутствовать.

Например, когда коаксиальный кабель проходит по стене железобетонного дома, лежит на железобетонной крыше, проходит внутри металлической трубы или внутри железобетонной распределительной шахты многоэтажного дома, то режим распределения высокочастотной энергии на внешней стороне оплетки коаксиального кабеля из режима стоячей волны постепенно переходит в режим бегущей волны. В этом случае, вследствие поглощения наведенной на внешнюю сторону оплетки коаксиального кабеля высокочастотной энергии окружающими предметами амплитуда высокочастотного напряжения и тока на внешней стороне оплетки коаксиального кабеля постепенно уменьшаются. Сдвиг между фазами высокочастотного тока и напряжения, который составляет на конце внешней стороны оплетки коаксиального кабеля, находящегося в свободном пространстве 90(, постепенно, по мере распределения коаксиального кабеля в условиях предметов, поглощающих высокочастотную энергию, все более и более приближается к нулю. Режим стоячей волны, существующий на начале коаксиального кабеля, постепенно переходит в режим бегущей волны на конце коаксиального кабеля. На рис. 14 показан пример расположения коаксиального кабеля вдоль стены железобетонного дома и распределение высокочастотного напряжения вдоль его.

Схема

Устранение наводок 2 рода

Разберем способы устранения наводок 2 рода. Токи затекания со стороны антенны на внешнюю сторону оплетки коаксиального кабеля можно устранить при помощи высокочастотного дросселя. Наиболее простой самодельный высокочастотный дроссель, препятствующий проникновению токов затекания на внешнюю сторону оплетки коаксиального кабеля, представляет собой 10- 20 ферритовых колец, туго надетых на пластиковую оболочку коаксиального кабеля. Проницаемость ферритовых колец не имеет значения. Хорошо работают ферритовые кольца проницаемостью 400- 2000. Вполне можно использовать ферритовые защелки, использующиеся на кабелях мониторов компьютеров. Эти ферритовые кольца или ферритовые защелки будут играть роль высокочастотного дросселя, препятствующего затеканию высокочастотных токов на внешнюю оплетку коаксиального кабеля от антенны. При помощи такого же высокочастотного дросселя можно защитить корпус трансивера от проникновения на него высокочастотных токов, наведенных при работе антенны на передачу на внешнюю оплетку коаксиального кабеля. На рис. 15 показана установка двух высокочастотных дросселей, со стороны антенны и со стороны трансивера.

Схема

Установка этих высокочастотных дросселей с двух концов коаксиального кабеля поможет значительно понизить уровень высокочастотного напряжения на трансивере, которое могло бы проникнуть туда с внешней оплетки коаксиального кабеля.

Следовательно, другой шаг, который необходимо предпринять заключается в дальнейшем снижении уровня высокочастотного напряжения существующего на внешней стороне оплетки коаксиального кабеля. Важный момент в выполнении этого, это выбор длины коаксиального кабеля идущего от антенны до трансивера. Если длина коаксиального кабеля позволит работать внешней стороне оплетки коаксиального кабеля в резонансном режиме при паразитном приеме излученной антенной высокочастотной энергии, то "жжения" корпуса трансивера, даже при небольшой мощности передатчика, будет трудно избежать.

Следовательно, необходимо любым способом устранить этот вредный для работы передающей антенны резонансный режим работы внешней стороны оплетки коаксиального кабеля. Для осуществления этого, необходимо расположить коаксиальный кабель в условиях, неподходящих для существования резонансного режима на внешней стороне оплетки коаксиального кабеля. Удачным размещением коаксиального кабеля можно считать его расположение непосредственно вдоль стены железобетонного дома, в металлической трубе, в железобетонной вентиляционной шахте. В комнате установки радиостанции размещение коаксиального кабеля поверх широкой медной или алюминиевой заземленной фольги, как показано на рис. 16, значительно снижает высокочастотное напряжения, наведенного на внешнюю оплетку коаксиального кабеля.

Схема

Хорошо убирают резонансный режим на внешней стороне оплетке коаксиального кабеля высокочастотные дроссели, которых может быть установлено несколько штук. Эти дроссели можно разместить равномерно вдоль свободно висящего в пространстве коаксиального кабеля. Если часть коаксиального кабеля висит в воздухе, а другая часть коаксиального кабеля лежит на поглощающей поверхности, то большую часть ферритовых дросселей необходимо устанавливать на свободно висящем кабеле. Крайне желательна установка высокочастотного дросселя в том месте, где коаксиальный кабель переходит из свободно висящего положения в положение размещения на поглощающей высокочастотную энергию поверхности. Такое размещение высокочастотного дросселя показано на рис. 17.

Схема

Итоги устранения наводок 2 рода

Из выше сказанного можно сделать выводы, какие можно принять меры, позволяющие значительно снизить уровень высокочастотного напряжения на корпусе трансивера обусловленный наводками 2 рода.

Во-первых, необходимо рациональное размещение коаксиального кабеля относительно передающей антенны, обеспечивающее минимальную величину наведенной высокочастотной мощности на его внешнюю оплетку при работе антенны на излучение.

Во-вторых, радиолюбителю надо взять за правило обязательно устанавливать высокочастотные дроссели на концах коаксиального кабеля. Высокочастотный дроссель, установленный со стороны антенны предотвратит затекание высокочастотных токов на внешнюю оплетку коаксиального кабеля. Высокочастотный дроссель, установленный со стороны трансивера предотвратит проникновение высокочастотных токов, наведенных на внешнюю оплетку коаксиального кабеля на корпус трансивера.

В-третьих, длина коаксиального кабеля не должна быть кратна половине длине волны на нижних любительских диапазонах - 40-160 метров.

В-четвертых, коаксиальный кабель необходимо размещать в условиях, где на внешнюю оболочку коаксиального кабеля будет максимальное влияние предметов, поглощающих высокочастотную энергию.

Применение устройства типа "искусственная земля"

Если выше указанные меры не дадут необходимого эффекта, то для снятия высокочастотного напряжения с корпуса трансивера, которое обусловлено воздействием наводок 2 рода, можно попытаться использовать устройство типа "искусственная земля". Устройство "искусственная земля" должно быть подключено непосредственно к антенному разъему, как это показано на рис. 18.

Схема

Некоторые конструкции профессиональных высокочастотных разъемов допускают такую возможность. В противном случае на разъеме необходимо установить дополнительный хомут с клеммой для подключения устройства "искусственная земля". Клемма "заземление" на многих трансиверах выполнена не совсем удачно, и не позволяет достаточно эффективно снять высокочастотное напряжение, которое за счет воздействия наводок 2 рода проникает на корпус трансивера.

С помощью устройства "искусственная земля" антенная система, образованная внешней стороной оплетки коаксиального кабеля и противовесом, подключенным к корпусу трансивера через устройство "искусственная земля", настраивается таким образом, чтобы на корпусе трансивера был минимум напряжения. Для достижения этого настройка системы осуществляется по максимальному высокочастотному току, поступающему в устройство "искусственная земля". Контролировать минимум высокочастотного напряжения на корпусе трансивера можно при помощи высокочастотного вольтметра, подключенного одним концом к корпусу трансивера, и по максимуму высокочастотного тока идущего в противовес, как это показано на рис. 19.

Схема

Противовес, подключенный к устройству "искусственная земля" должен быть длиной не менее 10 метров при работе на диапазоне 160 метров, и может быть в пределах 5-10 метров, при использовании устройства "искусственная земля" на более высокочастотных любительских коротковолновых диапазонах. На конце противовеса будет большое высокочастотное напряжение, поэтому его конец должен быть тщательно электрически изолирован. Противовес может лежать на полу по периметру комнаты. В крайнем случае, противовес или его часть, может быть свернута в широкую бухту. Удобно в качестве противовеса подключенного к устройству "искусственная земля" использовать оплетку толстого коаксиального кабеля. Противовес, подключенный к устройству "искусственная земля" будет сильно излучать, поэтому в комнате, где эксплуатируется устройство "искусственная земля", может быть повышенный уровень радиопомех различной радиоэлектронной аппаратуре.

Настройка устройства "искусственная земля" несложная. Первоначально индуктивность переменной катушки устанавливается на минимум, емкость переменного конденсатора на максимум, и постепенным увеличением индуктивности переменной катушки и изменением емкости переменного конденсатора добиваются максимального тока в противовес по индикатору устройства "искусственная земля".

Некоторые радиолюбители полагают, что минимума высокочастотного напряжения на корпусе трансивера можно достигнуть, подключив к трансиверу противовес длиной в четверть длины волны на наиболее "жгучем" диапазоне. Но это далеко не всегда так, и часто дает прямо противоположный эффект, в чем многие радиолюбители, пытавшиеся воспользоваться этим способом, убедились. Хотя наличие такого противовеса, безусловно, может привести и к снижению высокочастотного напряжения на корпусе передатчика.

Наводки 3 рода

Это самые безобидные и редко встречающиеся наводки, которые легко могут быть устранены с помощью устройства "искусственная земля". В чем же заключаются наводки третьего рода?

Наводки 3 рода обусловлены просачиванием части высокочастотной энергии от элементов усилителя мощности трансивера, или просто отдельно выполненного усилителя мощности, на корпус этого трансивера или на корпус усилителя мощности.

При работе усилителя мощности вокруг его элементов существуют переменные электромагнитные поля. Наиболее сильное переменное электромагнитное поле существуют около катушек индуктивности. Это электромагнитное поле наводит некоторое высокочастотное напряжение внутри корпуса передатчика. Далее это паразитное высокочастотное напряжение проникает на внешнюю сторону корпуса передатчика. В результате этого, при работе на передачу трансивер начинает жечься, даже если к нему вместо антенны подключена активная нагрузка.

Высокочастотные блокировочные конденсаторы часто не могут обеспечить эффективное подавление высокочастотного напряжения, и его некоторая часть сквозь них попадает на корпус передатчика. В этом случае корпус трансивера, с сетевыми проводами и подключенным к нему фидером или активной нагрузкой, является частью излучающей антенной системы, которая возбуждается паразитными высокочастотными токами утечки и наводок. Если эта система случайно будет настроена в резонанс, на каком либо любительском диапазоне, "горячее" соприкосновение к корпусу трансивера обеспечено. Такое явление наиболее часто бывает на верхних любительских диапазонах 6-15 метров. Это обусловлено тем, что длина проводов сетевого питания или длина проводника до заземляющего устройства совместно с трансивером может образовывать резонансную антенную систему. В этом случае излучение этой паразитной антенной системы настолько высоко, что трансивер может сносно работать в эфире даже при подключении к нему активной нагрузки вместо антенны! Паразитная излучающая антенная система показана на рис. 20 .

Схема

При подключении к корпусу трансивера устройства "искусственная земля" в паразитной антенной системе, в которую входит корпус трансивера, и подключенное к нему окружение, с помощью устройства "искусственная земля" можно изменить ее параметры. Путем соответствующей настройки устройства "искусственная земля" можно обеспечить максимальный отсос высокочастотного тока в подключенный к нему противовес, в результате чего произойдет снижение высокочастотного напряжения на корпусе трансивера.

Устройство "искусственная земля" не устранит излучение от трансивера и его окружения при вытекании высокочастотных токов на корпус трансивера, она только создаст такой режим работы этой системы, при котором уровень высокочастотного напряжения на корпусе трансивера будет минимальным. Настройка устройства "искусственная земля" осуществляется по максимальному значению высокочастотного тока протекающего в противовес. Устранение наводок 3 рода (снижение высокочастотного напряжения на корпусе трансивера) с помощью устройства "искусственная земля" ведет к повышенному уровню радиопомех в месте установки трансивера.

Для максимальной эффективности работы устройства "искусственная земля" необходимо найти точку на корпусе трансивера, где обеспечивается максимальный отсос высокочастотной энергии в противовес, как это показано на рис. 21. Предположительно, эта точка может находиться около выходного каскада передатчика, около одного из вентиляционных отверстий.

Схема

Обратите внимание, что в случае появления наводок 3 рода, действительно, четвертьволновой противовес может "снять" высокочастотное напряжение с корпуса трансивера.

Конечно, лучше не допускать появления наводок 3 рода, чем устранять их последствия. Для этого необходимо использовать рациональный монтаж внутри усилителя мощности. Внутренние стенки блока, где размещаются катушки усилителя мощности, должны иметь максимально возможную проводимость. Желательно что бы блок, в котором расположены катушки, не допускал просачивания высокочастотной энергии за его пределы. Покрытие внутренней поверхности корпуса трансивера радиопоглощающей краской значительно снижает величину наводок 3 рода. В большинстве грамотно сделанных промышленных передатчиках такое покрытие присутствует. Блокировочные конденсаторы должны эффективно шунтировать высокочастотное напряжение а не оставлять его на проводах питания или элементах схемы трансивера. Провода до системы заземления должны быть максимально короткими. Диаметр этих проводов должен быть максимально возможным.

Итоги устранения наводок 3 рода

Итак, можно сделать вывод по устранению наводок 3 рода. Наводки 3 рода, приводящие к "жжению" корпуса передатчика возникают за счет паразитных индуктивных и емкостных токов элементов радиопередающего устройства.

Устраняют их последствия с помощью устройства "искусственная земля". Профилактика возникновения таких наводок может быть осуществлена путем покрытия внутренней поверхности трансивера радиопоглощающей краской.

Все так просто?

Мы разобрали условия возникновения и устранения трех наиболее часто встречающихся в радиолюбительской практике высокочастотных наводок, приводящих к "жжению" корпуса трансивера, к возбуждению его каскадов. Эти наводки названы мной условно наводки 1, 2 и 3 рода по вероятности их появления. Вы можете дать этим наводкам свое название...

Неужели теперь радиолюбитель, прочитавший эту статью, сможет просто и легко устранить любую описанную здесь наводку, которая встретится в его практике? К сожалению, нет... Обычно, в месте установки трансивера проявляется действие нескольких наводок, приводящих к "жжению" корпуса трансивера. Чтобы определить их вид, и способ устранения необходим известный опыт. В некоторых случаях меры, принятые для устранения одной наводки создают благоприятные условия для увеличения высокочастотного напряжения за счет действия другой наводки. Все это вместе затрудняет комплексное их устранение. Даже на профессиональных передающих центрах борьба с наводками на радиоаппаратуру представляет серьезную задачу.

Однако задача по устранению "горячего" прикосновения вполне решаема! При наличии достаточного опыта, при тщательном анализе причин возникновения наводок и последствий, возникающих при попытках их устранения, они вполне могут быть ликвидированы на радиолюбительской станции с помощью методов, изложенных здесь.

Литература:

1. Григоров И. Н. Антенны. Настройка и согласование. - М.: ИП Радиософт, 2002. ISBN 5 -93037-087-7


Журнальный вариант этой статьи под названием
"Высокочастотные наводки в радиолюбительской
практике" был опубликован в журнале Радиоаматор,
- № 4, 5,6 за 2001г.


Добавил:  Павел (Admin)  
Автор:  Игорь Григоров /RK3ZK/ (Радиоаматор, № 4, 5,6 за 2001г.) 

Вас может заинтересовать:

  1. ПАКЕТНАЯ СВЯЗЬ: ПРОТОКОЛ АХ.25
  2. Частоты для работы цифровыми видами связи
  3. ВЫСОКОЧАСТОТНЫЕ НАВОДКИ В РАДИОЛЮБИТЕЛЬСКОЙ ПРАКТИКЕ
  4. Опыт использования коротких волн для APRS
  5. ВИДЫ МОДУЛЯЦИИ ПРИ ДАЛЬНЕЙ СВЯЗИ НА УКВ


    © PavKo, 2007-2018   Обратная связь   Ссылки views: 5418 -- users: 5352 -- web3   Яндекс.Метрика