Портал для радиолюбителей
   Фотосторож с пульсирующим лучом
    Главная -> Статьи -> Охранные устройства -> Фотосторож с пульсирующим лучом


<< Назад в раздел   Распечатать Дата добавления: 2007-10-28 | Просмотров: 6687

Во многих случаях необходим такой датчик, который мог-бы работать как в полной темноте, так и при солнечном свете, оставаясь неприметным для нарушителя. Сразу на память приходят несколько схем, а первой та, где используются невидимые человеку лучи. В остальном схема должна работать обычным образом.

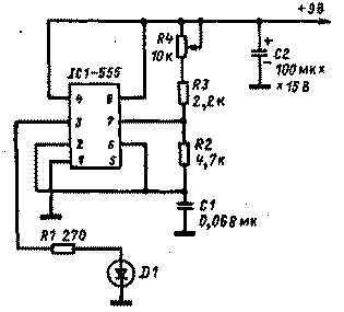
3-13-1.gif
Рис.1. Инфракрасный световой передатчик.

Самым простым методом (с точки зрения разработки) в данном случае было бы использование непрерывного луча света, освещающего фотоэлемент. В 99% случаев этот способ работает хорошо, но в оставшемся 1% случаев попадается грабитель, который либо по опыту, либо по полученной информации знает, где находится фотоэлемент, и, направив на него свой источник света, может пройти незамеченным. Здесь уже нужен более совершенный фотосторож.

Луч света в .таком фотостороже можно сделать пульсирующим, промодулиро-вав его низкой частотой, при этом фотоприемник можно сделать чувствительным только к определенной частоте модуляции луча.

Схема, показанная на рис. 1, прерывает невидимый инфракрасный (ИК) луч света с частотой 1500 Гц. Здесь D1 - элемент типа ХС-880-А, Radio Shack 276-143. Луч падает на фотоприемник ИК-лучей, роль которого выполняет фототранзистор в схеме на рис.2.

3-13-2.gif
Рис.2. Инфракрасный фотоприемник

Работа схемы. Начнем со светового передатчика на рис.1. На таймере типа 555 собран автогенератор, работающий на частоте 1500 Гц. К его выходу подключен инфракрасный светодиод, пульсирующий с частотой генератора. Частота генератора определяется номиналами резисторов R2, R3, R4 и конденсатора C1. Переменным резистором R4 производится точная настройка передатчика на частоту фотоприемника. Конкретная рабочая частота преемника не столь важна, так как под нее легко подстроить частоту фотопередатчика. Резистор R1 ограничивает ток через светодиод. Уменьшив его, можно увеличить световой выход светодио-да, но перед этим необходимо убедиться, но ток через светодиод не превышает максимально допустимый. Фотоприемник, схема которого показана на рис.2, немного сложнее по сравнению с простой схемой фотопередатчика, но на самом деле тоже относится к простым схемам.

Детектор инфракрасного света транзистор Ql (Radio Shack 276-142) воспринимает пульсирующий луч от фотопередатчика и перелает небольшой по амплитуде сигнал переменного напряжения в схему на двойной Т-мост. Если взглянуть повнимательнее, то видно, что вход и выход Т-моста подключены к базе и коллектору транзистора Q2. Весь комплекс образует резонансный усилитель, максимум усиления Которого приходится на резонансную частоту. На этой частоте сопротивление Т-моста максимальное, я поэтому минимальна наводимая через него отрицательная обратная связь. Благодаря этому свойству транзистор Q2 усиливает только сигнал с частотой 1500 Гц, поступающий от фотопередатчика. Дальше сигнал с частотой 1500 Гц усиливается транзистором Q3 до уровня, достаточного для работы детектора с удвоением напряжения на диодах D1 и D2. Постоянное напряжение с его выхода через резистор R2 открывает транзистор Q4, замыкавший через себя клеммы В и С.

Сборка схемы. Конструкцию устройства выберите по своему усмотрению. При размещении светодиода передатчика и фототранзистора приемника следует исключить возможность попадания на них прямого света. Наилучшим образом этого можно добиться размещением фототранзистора вместе с деталями в светонепроницаемом корпусе. Просверлите отверстие диаметром менее 1 см в одной из сторон коробки и поместите фототранзистор на расстоянии 2,5 см напротив него. При таком расположении фототранзистора сигнал от передатчика будет доходить до него неперегруженным боковым светом. Если подобным же образом разместить светодиод передатчика, надежность схемы повысится.

Использование устройства. Определите то место где вероятнее всего пройдет преступник. Сообразно с этим расположите приемник и передатчик для охраны территории. Устройство работает наилучшим образом, если расстояние между передатчиком и приемником не превышает 5 м. Всегда лучше поэкспериментировать для поиска наилучшего расположения устройства.

После того как найдено место для обоих частей устройства, включите питание каждого, а к катоду диода D1 приемника подсоедините вольтметр постоянного напряжения. Второй вывод вольтметра подключается к общему проводу. Следя за показаниями вольтметра, настройте передатчик с помощью резистора R4 на частоту приемника по максимальным показаниям вольтметра, при этом напряжение на катоде диода D1 должно составлять, по крайней мере, 1,5 В и доходить до 5 В при уменьшении расстояния между передатчиком и приемником. Клеммы В я С могут быть подключены к любой системе сигнализации, работающей от НЗ-контактов. Главное здесь при включении - это соблюсти полярность. Для работы с любой существующей сигнализацией можно также между клеммой В и плюсом питания приемника включить электромагнитное реле.

Какую бы схему фотосторожа вы ни выбрали, важность надлежащего расположения фотодатчика нельзя недооценивать. Плохо размещенные датчики пусть и не пропустят нарушителя, но станут причиной ряда ложных срабатываний. Трудно придумать еще что-либо так сильно понижающее общую эффективность любой сигнализации, как ложная тревога. Пугали волками так, что никто не поверил, когда они на самом деле пришли.


Добавил:  Павел (Admin)  
Автор:  Неизвестно 

Вас может заинтересовать:

  1. GSM сигнализация для автомобиля на Atmega16
  2. Датчики для охранной сигнализации
  3. Устройство охраны с сигнализацией по телефонной линии
  4. Датчик дыма для сигнализации о пожаре
  5. Универсальное охранное утройство


    © PavKo, 2007-2018   Обратная связь   Ссылки views: 1791 -- users: 1651 -- web3   Яндекс.Метрика