Портал для радиолюбителей
   Кодовый замок
    Главная -> Статьи -> Охранные устройства -> Кодовый замок


<< Назад в раздел   Распечатать Дата добавления: 2007-10-28 | Просмотров: 10378

   Кодовые замки достаточно широко применяются для ограничения доступа посторонних лиц к охраняемым объектам. Удобство пользования такими замками заключается в возможности как индивидуального, так и коллективного доступа (проход в служебные помещения, доступ к камерам хранения и т.п.).

Типовой наборный элемент кодового замка

Рис. 1. Типовой наборный элемент кодового замка

   Типовой наборный элемент кодового замка показан на рис.1. Порядок работы с кодовым замком полностью идентичен работе с замками автоматических камер хранения. После набора внутреннего, скрытого от постороннего взора кода (установки переключателей SA2 в положение, определяемое пользователем), дверцу захлопывают. Замок автоматически защелкивается. Число возможных вариантов кодовых сочетаний равно числу позиций переключателей SA1 и SA2, возведенных в степень, равную числу типовых наборных элементов. Для того чтобы открыть замок, необходимо на его наборных элементах набрать необходимый код. Последовательность элементов замка представляет собой простейшую схему совпадения. В случае, если набран правильный код, управляющий электрод аналога тиристора (транзисторы VT1, VT2 на рис.2) оказывается за-шунтированным. В результате, при нажатии на кнопку SB1 "Откр.", сопряженную с ручкой дверцы, элемент управления замком (электромагнитное реле К1) оказывается подключенным к источнику питания. Реле срабатывает, его контакты К1.1 включают электромагнит замка, замок открывается.

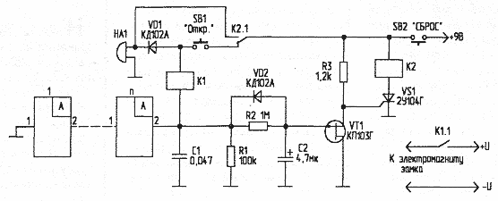
Принципиальная электрическая схема кодового замка

Рис. 2. Принципиальная электрическая схема кодового замка

   При неправильном наборе кода и нажатии на кнопку SB1 "Откр.", напряжение через обмотку реле К1 поступает на управляющий электрод аналога тиристора, он открывается, включив реле К2. Контакты реле К2.1 размыкают цепь набора кода и включают сигнализацию (звонок НА1, сигнальную лампу и др.).

   Повторный набор кода будет возможен только после нажатия на кнопку SB2 "Сброс". Поскольку ток через обмотку реле К1 в случае неправильного набора кода невелик (ограничен резистором R1 и другими элементами схемы), реле К1 не срабатывает. Таким образом, пользователю для открывания замка предоставляется всего одна попытка, что резко ограничивает возможность подбора кода посторонними лицами.

   Диоды VD1, VD2, включенные параллельно обмоткам реле, препятствуют развитию колебательных процессов при коммутации индуктивной нагрузки. В схему введен элемент задержки срабатывания - конденсатор С1 большой емкости. Это задерживает срабатывание блокирующего устройства на несколько мгновений и позволяет пользователю убедиться в том, что дверца захлопнута, и замок закрыт. На случай аварийного отключения источника питания целесообразно предусмотреть резервное питание устройства от аккумулятора.

   Несколько иной принцип действия использован в схеме кодового замка, изображенной на рис.3. Как и в предыдущих случаях, при правильном наборе кода последовательно включенные типовые элементы обеспечивают подачу напряжения питания на обмотку реле К1 при нажатии на кнопку SB1 "Откр.". Но одновременно с нажатием на эту кнопку включается звонок НА1, и подается звуковой сигнал, индицирующий факт открывания замка. Блокировки при этом не происходит.

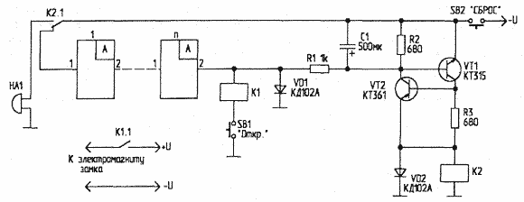
Принципиальная электрическая схема кодового замка

Рис. 3. Принципиальная электрическая схема кодового замка

   При неправильном наборе кода и нажатии на кнопку SB1 "Откр." также подается звуковой сигнал. Поскольку обмотка реле К1 последовательно соединена с резистором R1, ток через обмотку реле ничтожен, и его срабатывания не происходит. В то же время, напряжение питания поступает через резистор R2 на конденсатор С2.

   В исходном состоянии сопротивление канала исток-сток полевого транзистора VT1 невелико, управляющий электрод тиристора "закорочен" на общий провод. Если кнопка SB1 "Откр." нажата свыше 5 с, или производятся попытки подбора кода с замыканием кнопки SB1, конденсатор С2 заряжается, транзистор VT1 разблокирует цепь управления тиристором VS1. Тиристор включается, реле К2 (нагрузка тиристора) своими контактами К2.1 размыкает цепь набора кода и включает звуковую (или иную, не показанную на схеме) сигнализацию. Последующие обращения к замку возможны лишь после деблокировки схемы - нажатия кнопки SB2 "Сброс".

   Интервал времени задержки срабатывания определяется RC-цепочкой C2-R2. Для варьирования этого времени можно использовать переменный резистор R2. Диод VD2 предназначен для мгновенного разряда конденсатора С2 при "правильном" наборе кода и не обязателен.

Автор: М.ШУСТОВ, г.Томск


Добавил:  Павел (Admin)  
Автор:  М.ШУСТОВ, г.Томск 

Вас может заинтересовать:

  1. Устройство охраны с сигнализацией по телефонной линии
  2. Устройство контроля отдаленных обьектов
  3. Охрана квартиры с оповещением по телефонной линии
  4. Датчик вибрации для охранного устройства
  5. Радиочастотный искатель подслушивающих устройств


    © PavKo, 2007-2018   Обратная связь   Ссылки views: 1429 -- users: 573 -- web3   Яндекс.Метрика