Портал для радиолюбителей
   Пироэлектрический сигнализатор в охранной системе
    Главная -> Статьи -> Охранные устройства -> Пироэлектрический сигнализатор в охранной системе


<< Назад в раздел   Распечатать Дата добавления: 2007-11-06 | Просмотров: 9689

Пироэлектрические датчики инфракрасного излучения обладают довольно высокой чувствительностью, удобны в подключении и сравнительно недороги. Однако, как показывает практика, зачастую дешевые датчики склонны к самопроизвольным (ложным) срабатываниям. Так, наиболее доступные и широко распространенные датчики "SRP PLUS" давали в среднем одно-два ложных срабатывания за время около восьми часов. По этой причине применение пироэлектрических датчиков в охранных системах требует принятия мер по борьбе с ложными срабатываниями. Описанное ниже устройство позволяет с успехом использовать практически любой пиродатчик для надежной охраны помещения. Датчик представляет собой самостоятельный электронный блок, к которому подведено напряжение питания 12 В. При отсутствии движения в зоне обзора датчика сопротивление между выводами "Relay" минимально (несколько десятков Ом — "контакты замкнуты"), при срабатывании — увеличивается до десятков мОм ("контакты разомкнуты"). Минимальное время реакции датчика — 2...3 с, даже при быстром движении объекта в зоне чувствительности. При случайных ложных срабатываниях это время обычно не превышается. Если объект движется перед датчиком более длительное время, то выводы "Relay" могут все это время находиться в состоянии "разомкнуто" или периодически замыкаться и размыкаться, если объект то входит в зону, то уходит из нее. Дальность действия и угол обзора зависят от типа датчика. В частности, у прибора "SRP PLUS" дальность действия достигает 15 м, а угол — 90 град. После подачи питания датчик в течение 30 с не реагирует ни на какие объекты. Это позволяет человеку, включившему систему охраны, выйти из помещения, не опасаясь преждевременного ее срабатывания.
Принцип действия электронного узла, работающего совместно с датчиком, основан на том, что исполнительное устройство охранной системы включается не сразу после размыкания цепи "Relay", а только в том случае, когда длительность разомкнутого состояния достигнет 6..8 с или цепь разомкнётся дважды в течение определенного времени. Поскольку система при этом будет срабатывать с задержкой, необходимо учитывать указанное обстоятельство, располагая прибор таким образом, чтобы он успел уверенно среагировать на наличие постороннего лица.

Схема пироэлектрического сигнализатора

Принципиальная схема узла показана на рис. 1. При включении питания цепь R1C1 формирует импульс низкого уровня, благодаря которому на выходе логического элемента DD2.3 появляется импульс высокого уровня, устанавливающий счетчик DD4 по входу R в нулевое состояние, а триггер на элементах DD2.1, DD2.2 — в состояние, при котором на его верхнем по схеме выходе будет низкий уровень. Единичный уровень с нижнего выхода этого триггера запрещает работу счетчика DD3.
На нижних по схеме входах элемента DD2.2 и входе С счетчика DD4 — низкий уровень, поскольку выходные выводы R ("Relay") датчика В1 замкнуты.
Триггер на элементах DD5.2, DD5.3 также установится в состояние, при котором транзистор VT1 закрыт и реле К1 обесточено, контакты К1.1, управляющие исполнительным устройством, разомкнуты, индикатор HL1 выключен. При срабатывании пиродатчика В1 его выходная цепь размыкается и на двух нижних входах элемента DD2.2 триггера устанавливается высокий уровень, который переключает триггер в противоположное состояние. На входе R счетчика DD3 установится низкий уровень.
Счетчик начнет подсчет импульсов, поступающих с генератора на элементах DD1.1, DD1.2. С приходом восьмого импульса на выходе 23 счетчика появится высокий уровень. Если при этом на нижнем входе элемента DD1.3 будет также высокий уровень, т. е. выход датчика продолжает оставаться разомкнутым, то элемент DD1.3 перейдет в нулевое состояние, что приведет к переключению триггера DD5.2, DD5.3, срабатыванию реле К1 и замыканию контактов К1.1, включится светодиод HL1.
Если же выход датчика к этому моменту замкнется, то элемент DD1.3 не переключится. Счетчик DD3 продолжит счет импульсов и через 64 такта на его выходе 26 появится высокий уровень, который переключит триггер DD2.1, DD2.2 в первоначальное состояние. Если же в течение этого времени датчик сработает дважды, на выходе 2 счетчика DD4 появится высокий уровень, который также переключит триггер DD5.2, DD5.3 и замкнутся контакты К1.1.
В случае, когда датчик сформирует только один импульс, на шестьдесят четвертом такте счетчик DD4 обнулится импульсом, прошедшим через диод VD2. Устройство можно при необходимости в любой момент принудительно переключить в состояние готовности нажатием на кнопку SB1. Питать узел можно от нестабилизированного источника напряжением 12 В. Все микросхемы питает внутренний стабилизатор DA1. Задержка срабатывания системы, как говорилось выше, более 30 с. При необходимости увеличить задержку вдвое нужно заменить резистор R1 на другой — сопротивлением 3 МОм и конденсатор С1 — емкостью 30 мкФ. Конденсатор следует выбрать с минимальным током утечки. Электронный узел собран на печатной плате из фольгированного с обеих сторон стеклотекстолита толщиной 1,5 мм.

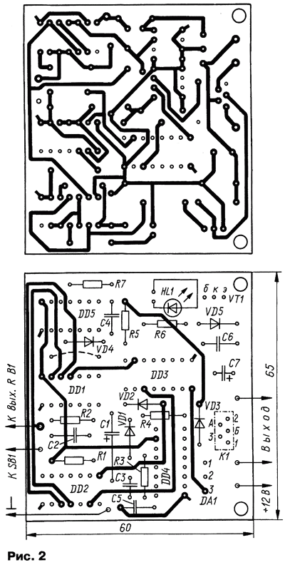
Печатная плата сигнализатора

Чертеж платы представлен на рис. 2. На плате расположены все детали, кроме датчика В1.
В узле использованы резисторы МЛТ-0,125; оксидные конденсаторы на напряжение не менее 16 В, например, К50-35 или другие подобные. Диоды можно заменить на КД521, КД522 с любым буквенным индексом. Вместо транзистора КТ972А можно использовать КТ972Б, 2SD1111 или в крайнем случае из серий КТ815, КТ503.
Микросхемы можно заменить на аналогичные серии К1561 или использовать импортные: К561ЛЕ10 — CD4025, К561ЛА9 — CD4023, К561ЛЕ5 — CD4001, К561ИЕ16 — CD4020, К561ИЕ11 — CD4516. Реле — РЭС49, исполнение РС4.569.425 (либо РС4.569.431) или по новой классификации РС4.569.421-02 (либо РС4.569.421-08), а также любое другое, подходящее по размерам и надежно срабатывающее при напряжении 12 В. Стабилизатор напряжения 7809 можно заменить на КР142ЕН8 с буквенным индексом А или Г.
На основе пиродатчика и описанного узла была собрана система охраны для строящегося частного дома. Будущий хозяин проживал в пяти минутах ходьбы от места строительства, и требовалось как-то оповещать его о срабатывании системы. Было решено использовать для этого мобильный телефон. В результате получилось интересное устройство, которое может найти применение во многих других ситуациях.
Мобильные телефоны сейчас очень распространены, многие исправные уже вышли из употребления. Для системы подойдет любой дешевый мобильный аппарат с минимальным набором функций, причем он остается пригодным для использования по прямому назначению. Эта система при срабатывании датчика обеспечивает связь с другим мобильным или обычным телефоном, желательно с определителем номера.
Для совместной работы с мобильным телефоном электронный узел можно упростить, удалив из него триггер DD5.2, DD5.3.

Измененная часть схемы изображена на рис. 3. Принцип действия узла остается прежним. Контакты К1.1 припаивают параллельно контактам кнопки 'Yes" (поднятие трубки) мобильного телефона. При срабатывании датчика контакты реле замыкают выводы кнопки, и телефон производит вызов по заранее установленному в меню номеру. Сам телефон с сетевым источником питания, подключенным к нему, располагают в небольшой коробке вместе с платой узла и пиродатчиком. Чувствительный элемент датчика должен выступать из коробки. Светодиод в датчике следует отключить путем снятия специальной перемычки (как это описано в прилагаемой к датчику инструкции). Для приведения системы в действие сначала, не подключая узел к источнику питания, включают мобильный телефон (у него есть собственная батарея аккумуляторов) и заносят в его телефонную книгу номер, по которому он будет выполнять вызов. Курсор устанавливают на этом номере, остается только нажать на кнопку 'Yes" и телефон начнет его набирать. Далее к электронному узлу подают питание, коробку оставляют в заранее подготовленном неприметном месте, направив датчик в зону охраны, и уходят. Налаживания устройство не требует и при правильной сборке из заведомо исправных деталей работоспособно сразу. Частота тактового генератора DD1.1, DD1.2 при указанных на схеме номиналах резистора R2 и конденсаторе С2 — около 1 Гц. Отсюда следует, что минимальная длительность разомкнутого состояния выхода датчика, при которой сработает сигнализация, — около 8 с, а время, за которое могут пройти два импульса с датчика, — соответственно около 64 с. При необходимости можно изменить это время изменением тактовой частоты генератора.

И. Коротков, г. Буча Киевской обл., Радио №3, 2006г.


Добавил:  Павел (Admin)  
Автор:  И. Коротков, г. Буча Киевской обл., Радио №3, 2006г. 

Вас может заинтересовать:

  1. Фотосторож с пульсирующим лучом
  2. Охрана квартиры с оповещением по телефонной линии
  3. Охранное устройство с управлением ключами-таблетками iBUTTON
  4. GSM сигнализация для дома
  5. Карманная сирена


    © PavKo, 2007-2018   Обратная связь   Ссылки views: 1333 -- users: 1176 -- web3   Яндекс.Метрика