Портал для радиолюбителей
   Регулятор яркости в торшере
    Главная -> Статьи -> Бытовая электроника -> Регулятор яркости в торшере


<< Назад в раздел   Распечатать Дата добавления: 2007-12-18 | Просмотров: 6076

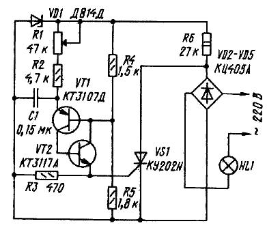
Принципиальная схема регулятора показана на рисунке. Ключевой его элемент - тиристор VS1, фаза включения которого в каждом полупериоде зависит от постоянной времени цепи (R1+R2)C1.

Устройство позволяет изменять в широких пределах яркость лампы мощностью до 200 ватт. Вообще его нагрузкой может быть любое устройство соответствующей мощности, не содержащее скольконибудь заметной индуктивности: паяльник, кипятильник и т.п..

Если диодный мост КЦ405А заменить другим, с большими рабочими токами, то нагрузку можно увеличить, в пределе - до 2 кВт. Тиристор и диоды моста в таком случае потребуется поставить на теплоотводы.

регулятор яркости в торшере

Источник: www.rp.butovonet.ru


Добавил:  Павел (Admin)  
Автор:  Неизвестно 

Вас может заинтересовать:

  1. Однофазный электронный счетчик электроэнергии Меркурий-200
  2. Схема питания ламп дневного света
  3. Квартирный звонок с записью звуков
  4. Ретранслятор ИК сигналов для домашней телесети
  5. Автоматический выключатель освещения


    © PavKo, 2007-2018   Обратная связь   Ссылки views: 710 -- users: 677 -- web3   Яндекс.Метрика