Портал для радиолюбителей
   Ультразвук против комаров
    Главная -> Статьи -> Бытовая электроника -> Ультразвук против комаров


<< Назад в раздел   Распечатать Дата добавления: 2007-12-18 | Просмотров: 11936

И не только комары. От многих окружающих нас насекомых и более крупных тварей нам хотелось бы держаться подальше. Но так как это не всегда в нашей власти, то человек ищет способы хотя бы удерживать эту напасть на некотором от себя расстоянии. В последнее время большие надежды стали возлагать на разного рода ультразвуковые «пищалки», в том числе и на made in.... Ниже описано такого рода устройство. А в какой мере оно окажется эффективным, каждый, сделавший его, сможет выяснить и оценить сам.

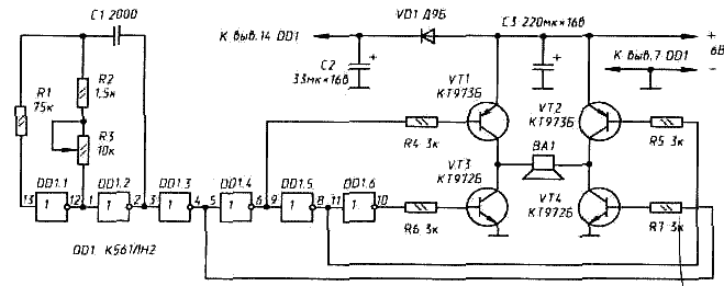
Принципиальная схема ультразвуковой «пищалки», способной работать в широком спектре частот, показана на рис. 93. Здесь ВА1 - мощная высокочастотная динамическая головка, например, 6ГДВ-4, - источник акустических колебаний. Хотя по паспорту высшая частота излучения высокочастотных динамических головок может быть отнесена лишь к «ближнему» ультразвуку, опыт показывает, что они являются вполне эффективными излучателями частот до 40...50 кГц и выше.

Задающий генератор устройства собран на инверторах DD1.1 и DD1.2. Остальные элементы этой микросхемы формируют базовые токи в транзисторах VT1...VT4, попеременно, с частотой

Рис. 93. Ультразвуковое «пугало»

F=1/2(R2+R3)C1,.подключая излучатель ВА1 к источнику питания. В одном полупериоде - через открытые транзисторы VT1 и VT4, в другом - через VT2 и VT3.

Транзисторы генератора работают в ключевом режиме и в теплоотводах особенно не нуждаются. Хотя в тяжелых температурных условиях они могут потребоваться. Диод VD1 - любой германиевый.

Нужную частоту излучения (какую именно - предстоит выяснить в «живом» эксперименте) устанавливают резистором R3, Его можно снабдить заранее проградуироваиной по осциллографу шкалой. При указанных номиналах R2, R3 и С1 генератор перекрывает диапазон 16...60кГц.

Источник питания ультразвукового генератора должен быть способен отдать ток Iпотр=(Uпит-2)/Rн(Iпотр - в амперах, Uпит- напряжение питания «пищалки» - в вольтах, Rн - в омах).

Конечно, для тварей разных видов нетерпимые или пугающие их частоты могут быть и будут, скорее всего, разными. Но создание многочастотного «пугала» •- с «плавающими» или «прыгающими» частотами, с той или иной их модуляцией-манипуляцией - не проблема. Главное - в прямом эксперименте установить те параметры ультразвука, при которых достигается существенный эффект.

В связи с этим заметим, что в ультразвуковых «пугалах», появившихся на наших рынках, почти всегда используется пьезоизлучатель - элемент с ярко выраженными резонансными свойствами. Так что заграничный аппарат, пугающий (если верить рекламе) на своей частоте какую-то разновидность, скажем, тайваньского комара, на наших* может не произвести никакого впечатления. И, похоже, не производит...

--------------------------------------------------------------------------------

*) Энтомологи насчитывают не менее 500 видов комаров. Вот лишь некоторые из «наших»: пискун, обыкновенный малярийный, лесной малярийный, дергун, мохнатоусый дергун (хорошо известный рыболовам и своей личинкой - мотылем), желтолихорадочный и др.

Еще больше разновидностей у мошки - переносчицы сибирской язвы, сапа, тулерямии, чумы, проказы и т.п.

Источник: www.rp.butovonet.ru


Добавил:  Павел (Admin)  
Автор:  Неизвестно 

Вас может заинтересовать:

  1. Металлоискатель на двух микросхемах
  2. Искатель скрытой проводки
  3. Схема питания высоковольтных ламп дневного света от аккумуляторной батареи
  4. Солнечные элементы
  5. Велосипедный музыкальный звонок на УМС-7-08


    © PavKo, 2007-2018   Обратная связь   Ссылки views: 1472 -- users: 992 -- web3   Яндекс.Метрика