Портал для радиолюбителей
   Лампа накаливания служит дольше (4 вар)
    Главная -> Статьи -> Бытовая электроника -> Лампа накаливания служит дольше (4 вар)


<< Назад в раздел   Распечатать Дата добавления: 2007-12-19 | Просмотров: 9415

 
    Осветительные лампы могут перегорать - это знают все. Причины, по которым это происходят, известны. Также известно, как можно продлить "жизнь" лампам. Однако большинство из этих решений достаточно сложны при их практическом воплощении: требуется большое количество элементов, что снижает надежность устройства и затрудняет его монтаж в коробке штатного выключателя сети; необходима наладка устройства.
   Достичь желаемого можно проще - понадобится только двухполюсный (двухклавишный) выключатель и кремниевый диод.
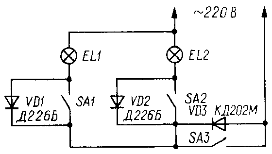
   На рис.1 показана принципиальная схема светильника, все детали которого (кроме осветительной лампы EL1) монтируют в коробке штатного выключателя сети или в подставке настольной лампы. Крепят детали навесным монтажом - и вся конструкция получается компактной.
   Особенностью выключателя является наличие двух клавиш - SA1, SA2. Поэтому, если у вас установлен одноклавишный выключатель, его необходимо заменить на двухклавишный.
   Работает устройство следующим образом. В исходном состоянии контакты выключателей SA1, SA2 разомкнуты. При включении лампы EL1 сначала нажимают на клавишу выключателя SA1. Ток сети проходит через цепь: диод VD1, замкнутые контакты SA1, лампа EL1. Диод VD1 необходим как однополупериодный выпрямитель. Поэтому на лампу поступает однополупериодное выпрямленное напряжение, что уменьшает значение рассеиваемой лампой мощности в два раза - лампа горит вполнакала. Это предохраняет еще холодную нить накала от возможного перегорания, так как значение ее сопротивления в этот момент может быть недостаточным для того, чтобы выдержать номинальную мощность.
   После этого замыкают контакты выключателя SA2 и на лампу поступает все напряжение сети. Теперь лампа будет гореть в полную мощность.
   Иначе говоря, благодаря диоду VD1 и выключателям SА1, SA2 можно избежать режима перегрузки для нити накала EL1 в момент включения лампы, что значительно продлевает ее "жизнь".
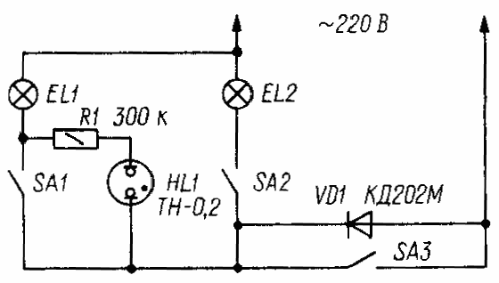
   Для того чтобы в темноте можно было легко найти клавишу выключателя SA1, ее подсвечивают неоновой лампой HL1. При этом ночью часто не требуется полного освещения -достаточно дежурного, когда лампа EL1 горит вполнакала. Тогда пользуются только выключателем SA1, который виден в темноте.
   Диод VD1 серии Д226Б применяют при мощности ламп накаливания до 100 Вт. Если используемые для освещения лампы рассчитаны на мощность более 100 Вт, необходимо поставить диод серии КД202М. Неоновая лампа может быть типа ТН-0,2 или МН-6. В выключателе ее необходимо расположить так, чтобы она освещала только клавишу SA1.



Рис. 1


   Недостатком устройства является необходимость соблюдения очередности нажатий на клавиши выключателей SA1, SA2. Чтобы устранить его, потребуется еще один диод, который монтируют вместо неоновой лампы (на рис.2 - это VD1).
   Включают диоды VD1, VD2 навстречу либо соединяют друг с другом их катоды, либо аноды. Теперь очередность нажатия на клавиши не влияет на работу светильника. В любом случае - нажата ли клавиша SA1 или клавиша SA2 - лампа EL1 горит вполнакала. И только когда нажаты обе клавиши, лампа горит в полную мощность.
   Выключают светильни к (и в первом, и во втором вариантах), одновременно размыкая контакты выключателей SA1, SA2.


Рис. 2



   Если в светильнике (люстре) установлено несколько ламп и они включаются раздельно, необходимо применить трехполюсный (трехклавишный) выключатель. На рис.3 и 4 показаны схемы таких светильников. Принцип их работы аналогичен рассмотренным выше устройствам. Сначала (в зависимости от того, какую лампу - EL1 или EL2 или обе одновременно - нужно включить, рис.3) замыкают контакты выключателей SA1 либо SA2, либо одновременно обоих. Лампы будут гореть вполнакала. Затем замыкают выключатель SA3 -лампы загораются в полную мощность.
   Для устройства, принципиальная схема которого показана на рис.4, очередность включения не влияет на работу ламп. А при замкнутом выключателе SA3 можно, комбинируя положениями выключателей SA1, SA2, получить дополнительные режимы работы светильника. Например, если замкнуть SA1, а SA2 останется разомкнутым, то лампа EL1 будет гореть в полную мощность, а EL2 - вполнакала. И наоборот, если замкнуть SA2, а SA1 разомкнуть, то EL1 будет гореть вполнакала, а EL2 - в полную мощность.
   Чтобы выключить светильник, размыкают контакты выключателей SA1 - SА3 одновременно.
   Монтируют диоды VD1 -VD3 непосредственно в коробке трехклавишного выключателя. Причем при мощности ламп более 100 Вт диоды VD1, VD2 должны быть серии КД202М или аналогичные, рассчитанные на потребляемый светильником ток.


Рис. 3



Рис. 4


    К. КОЛОМОЙЦЕВ г. Ивано-Франковск
P.S.    Несмотря на простоту схемного решения, устройства, обладают тем недостатком, что не предохраняют нить накала лампы от разрушительного действия кратковременного "броска" тока сети в момент включения лампы, так как ВАХ диода не аналогична характеристике бареттера. "Жизнь" лампы будет зависеть от значения мощности импульса тока от состояния нити накала. В силу этого, при стечении неблагоприятных факторов - повышенное напряжение в сети, сильная эрозия нити накала,- вероятность перегорания лампы не меньше, чем и без данного устройства. Однако подобное решение можно с успехом использовать, когда возникает необходимость перевести, например, настольный светильник в дежурный (ночной) режим работы. Следует сказать, что промышленность выпускает для подобных целей специальные переключатели, в частности ПМ-100, основой которых служит однополупериодный диодный выпрямитель.
    Радио №9, 1993 г., стр.32


Добавил:  Павел (Admin)  
Автор:   

Вас может заинтересовать:

  1. Цифровой диктофон на одной микросхеме
  2. Автоматическое выключение усилителя
  3. Схема питания ламп дневного света
  4. Сварочный полуавтомат в углекислотной газовой среде с автоматической подачей сварочной проволоки
  5. Doorphone Intercom


    © PavKo, 2007-2018   Обратная связь   Ссылки views: 172 -- users: 164 -- web3   Яндекс.Метрика