Портал для радиолюбителей
   УМЗЧ для плейера
    Главная -> Статьи -> Полупроводниковые усилители низкой частоты -> УМЗЧ для плейера


<< Назад в раздел   Распечатать Дата добавления: 2008-01-27 | Просмотров: 8819

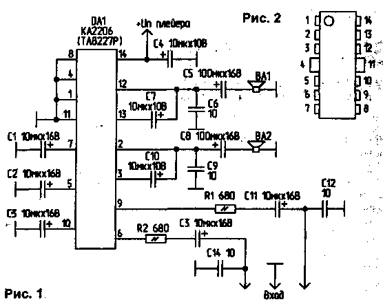
Бывает, хочется послушать музыку во дворе с друзьями. Но тащить большой магнитофон неудобно, а плейер предназначен для одного. Предлагаю простую схему усилителя с выходной мощностью около 3 Вт (рис.1). Главное достоинство схемы - низкое напряжение питания (как и у плейера - 3...6 В). Эту схему можно использовать в минимагнитофоне, чтобы повысить его мощность. Динамики можно использовать любые, но с мощностью не менее 3 Вт и с сопротивлением 4 Ом. Вместо КА2206 можно использовать ИМС ТА8227Р. Цоколевка микросхемы приведена на рис.2.

umz-pl1.gif


Добавил:  Павел (Admin)  
Автор:  Н.ХАЦКЕВИЧ, г. Белове Кемеровской обл. 

Вас может заинтересовать:

  1. Схема мощного микрофонного усилителя
  2. Усилитель мощности с полевым транзистором в качестве источника тока для входного каскада и элементами симметрирования выходного каскада
  3. Тепловые искажения в усилителях Hi-Fi
  4. Применение многоканальной усилительной структуры в УМЗЧ с обратной связью
  5. Упрощенный вариант схемы усилителя мощности на комплементарных транзисторах


    © PavKo, 2007-2018   Обратная связь   Ссылки views: 5645 -- users: 5570 -- web3   Яндекс.Метрика