Портал для радиолюбителей
   Простой УМЗЧ на микросхеме TDA7294
    Главная -> Статьи -> Полупроводниковые усилители низкой частоты -> Простой УМЗЧ на микросхеме TDA7294

Twi программа обучения на производстве 1-pa.ru.

<< Назад в раздел   Распечатать Дата добавления: 2007-09-23 | Просмотров: 45455

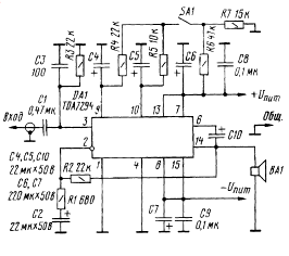
Вниманию читателей предлагается один вариант усилителя, в котором применена типовая схема включения TDA7294. Основные технические характеристики усилителя (рис. 1) такие: входное сопротивление — 22 кОм; входное напряжение — 750 мВ; номинальная выходная мощность на нагрузке 4 Ом и при коэффициенте гармоник 0,5 % — 70 Вт; диапазон воспроизводимых частот — 20...20000 Гц; напряжение питания — ±27 В; ток покоя — 60 мА. Усилитель имеет встроенную тепловую защиту, а также защиту от перегрузок и короткого замыкания в нагрузке. Для "мягкого" включения усилителя служит выключатель SA1.Устройство может питаться от двуполярного нестабилизированного источника, схема которого приведена на рис. 2. Мощность сетевого трансформатора — 250 В-А, вторичные обмотки должны быть рассчитаны на ток не менее 5 А.


Принципильная схема

Рис.1 Схема


Схема блока питания

Рис.2

Детали усилителя смонтированы на печатной плате (рис. 3) из двустороннего фольгированного стеклотекстолита размерами 50x35 мм, плата в сборе показана на рис. 4. Для монтажа использованы резисторы МЛТ-0.25, конденсаторы С4— С7, СЮ — импортные аналоги К50-35 и К73-17 (остальные). В качестве SA1 применим любой малогабаритный кнопочный выключатель.

Головка громкоговорителя — широкополосная с сопротивлением 4 Ом и мощностью не менее 50 Вт. Саму микросхему необходимо установить на теплоотвод площадью 600 см .


Печатная плата

Рис.3


Внешний вид девайса

Рис.4

Для лучшего теплообмена ее корпус следует смазать тонким слоем теплопроводящей пасты. Поскольку корпус микросхемы соединен с минусовым проводом питания, он должен быть изолирован от корпуса усилителя.


Добавил:  Павел (Admin)  
Автор:  Неизвестно 

Вас может заинтересовать:

  1. Усилитель на TDA1557Q
  2. Усилитель мощности на комплементарных транзисторах с полной симметрией плеч для обеих полуволн усиливаемого сигнала и с двойным дифференциальным каскадом на входе
  3. УЗЧ на базе А2030
  4. Усилитель 112 Вт для сабвуфера
  5. Усилитель мощности с полевым транзистором в качестве источника тока для входного каскада и элементами симметрирования выходного каскада


    © PavKo, 2007-2018   Обратная связь   Ссылки views: 728 -- users: 695 -- web3   Яндекс.Метрика