Портал для радиолюбителей
   Лабораторный синтезатор сверхвысокой частоты
    Главная -> Статьи -> Измерительная техника -> Лабораторный синтезатор сверхвысокой частоты


<< Назад в раздел   Распечатать Дата добавления: 2008-05-14 | Просмотров: 9860

Проблема стабильности частоты в приемопередающих устройствах существовала всегда. На относительно низких частотах (до 100-150 МГц) она решалась применением кварцевых резонаторов, на более высоких (400 МГц) – с помощью резонаторов на поверхностно-акустических волнах (ПАВ-резонаторах), для стабилизации же сверхвысоких частот часто применяют диэлектрические резонаторы из высокодобротной керамики или другие высокодобротные резонаторы [1]. Описанные способы стабилизации с помощью пассивных компонентов имеют свои достоинства – простоту и сравнительную дешевизну реализации, но их главный недостаток – невозможность сколько-нибудь существенной перестройки частоты без смены частотозадающего элемента – резонатора. Невозможность быстрой электронной перестройки рабочей частоты при сохранении ее стабильности резко ограничивает применение радиоустройств, не позволяя, например, реализовать многоканальность.

Рис.1: структурная схема синтезатора

Получившие в настоящее время широкое распространение интегральные синтезаторы частоты различных зарубежных фирм позволяют осуществить быструю электронную перестройку рабочей, в том числе и сверхвысокой, частоты, сохраняя при этом ее высокую стабильность. Такие синтезаторы частоты бывают прямого и косвенного типов [2]. Достоинствами прямого синтеза относится высокое быстродействие при малом шаге сетки частот, но из-за необходимости фильтрации большого количества спектральных компонент, вызванных многочисленными нелинейными преобразованиями сигнала, в СВЧ схемах устройства прямого синтеза применяются редко [3]. Для синтеза сверхвысоких частот обычно применяют синтезаторы косвенного типа, или синтезаторы с фазовой автоподстройкой частоты (ФАПЧ). Существует два основных типа интегральных синтезаторов с ФАПЧ – программируемые, значения частоты в которых задается внешним микроконтроллером по трехпроводной шине, и непрограммируемые, где коэффициенты деления внутренних делителей частоты фиксированы, а опорная частота задается внешним кварцевым резонатором. В простых СВЧ схемах обычно применяют непрограммируемые интегральные синтезаторы, например, MC12179 фирмы Motorola [4], к недостаткам которого следует отнести необходимость точного выбора кварцевого резонатора, что не всегда возможно. Программируемые синтезаторы частоты, например UMA1020М фирмы Philips, лишены этого недостатка, а поскольку в современных системах связи обязательно присутствует управляющий микроконтроллер, осуществить программирование такого синтезатора технически несложно. Автогенераторы сверхвысокочастотного диапазона используются в виде функционально законченных модулей, выполненных по гибридной технологии [5].

Рис.2: внешний вид синтезатора

Примером применения описанных решений может служить простой лабораторный синтезатор сверхвысокой частоты, позволяющий с высокой точностью генерировать и стабилизировать частоту в диапазоне 1900 – 2275 МГц, предлагаемый в настоящей статье.

Структурная схема спроектированного синтезатора показана на рис. 1., внешний вид – на рис.2. Как видно их схемы, синтезатор состоит из управляемого напряжением генератора (ГУН или VCO) JTOS-2200 фирмы Mini-Circuits JTOS-2200, интегрального синтезатора частоты UMA-1020М и микроконтроллера Z86E0208PSC фирмы Zilog.

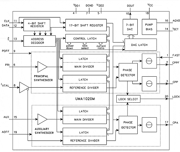
Рис.3: структурная схема UMA-1020M

Сверхвысокочастотный сигнал, генерируемый ГУНом, поступает на выход лабораторного синтезатора и на вход главного программируемого делителя частоты, входящего в схему UMA-1020М. Рис.4: структурная схема Z86E02Опорный сигнал, вырабатываемый кварцевым генератором JCO-8, поступает на вспомогательный программируемый частотный делитель, также входящий в схему UMA-1020М. Структурная схема UMA-1020М показана на рис. 3, подробную техническую документацию на UMA-1020М можно найти на сайте фирмы-производителя http://www.philips.de/. Коэффициенты обоих делителей – главного и вспомогательного – устанавливаются микроконтроллером Z86E0208PSC по трехпроводной (данные DATA, синхронизация CLK и разрешение записи /ENABLE) шине. Структурная схема микроконтроллера Z86E0208PSC показана на рис. 4. Внутреннего ПЗУ микроконтроллера достаточно для программирования семи различных значений частот и одного тестового режима. Конкретные значения частот (или тестовый режим) устанавливаются перемычками на печатной плате лабораторного синтезатора. Перед загрузкой очередного значения частоты в интегральный синтезатор микроконтроллер опрашивает порт, подключенный к перемычкам, и, в соответствии с полученными данными, выбирает ту или иную прошивку. Новое значение частоты устанавливается автоматически при включении питания платы синтезатора. Алгоритм программирования синтезатора для микроконтроллера Z86E0208PSC показан на рис. 5, листинг программы приведен здесь.

Рис.5: алгоритм

Более подробно о программировании микроконтроллеров фирмы Zilog можно прочитать в [6, 7], полная техническая документация доступна на сайте http://www.zilog.com/.

Особенностью применяемого ГУНа JTOS-2200 является диапазон напряжения настройки: от 0.5 до 5 Вольт. То есть, если значение напряжения настройки будет меньше 0.5 Вольт, фирма-производитель не гарантирует устойчивую генерацию колебаний. Проведенные эксперименты показали правдивость данного утверждения.

Принцип функционирования ФАПЧ, а также методика расчета фильтра обратной связи (Loop filter), довольно широко и неоднократно рассмотрены в технической литературе [8], поэтому в данной статье не рассматривается. Существует несколько бесплатно распространяемых программ, позволяющих рассчитывать параметры фильтров обратной связи, их можно найти в Интернете на http://www.analog.com/ или на www.national.com.

Для контроля правильности работы схемы синтезатора на плате установлен светодиод, свечение которого говорит об ошибке синтеза частоты. При корректной работе синтезатора светодиод гореть не должен, однако эта функция может быть отключена программно.

Себестоимость собранного лабораторного синтезатора не превышает 30 долларов. В качестве удешевления предлагаемого устройства можно предложить два пути: во-первых, можно объединить кварцевый источник опорных колебаний синтезатора и микроконтроллера, при этом надо помнить, что максимальная тактовая частота Z86E0208PSC составляет 8 МГц, в то время как для UMA-1020М она может быть в пределах 5-40 МГц. Во-вторых, ГУН можно разработать самостоятельно на транзисторах или усилительных интегральных микросхемах, используя методику, приведенную в [9, 10].

Список использованной литературы

  1. Диэлектрические резонаторы/ М.Е. Ильченко, В.Ф. Взятышев, Л.Г. Гассанов и др.; Под ред. М.Е. Ильченко. – М.: Радио и связь, 1989. – 328 с.: ил. – ISBN 5-256-00217-1.
  2. Пестряков А.В. Интегральные схемы для устройств синтеза и стабилизации частот// Chip News. – 1996. - № 2.
  3. Лобов В., Стешенко В., Шахтарин Б. Цифровые синтезаторы прямого синтеза частот// Chip News. – 1997. - № 1.
  4. Wireless Semiconductor Solutions. Motorola. Device Data – Vol.1. DL 110/D, Rev 9.
  5. VCO Designer’s Handbook 2001. VCO/HB-01. Mini-Circuits.
  6. Гладштейн М.А. Микроконтроллеры семейства Z86 фирмы Zilog. Руководство программиста. - М.: ДОДЭКА, 1999, 96 с.
  7. The Z8 Application Note Handbook. Zilog. DB97Z8X0101.
  8. Стариков О. Метод ФАПЧ и принципы синтезирования высокочастотных сигналов//Chip News. – 2001. - № 6.
  9. Microwave Oscillator Design. Application Note A008// Hewlett-Packard Co. - publication number 5968-3628E (6/99)
  10. Shveshkeyev P. A VCO Design for WLAN Applications in the 2.4 to 2.5 GHz ISM Band//Applied Microwave&Wireless. – 2000. - №6. – P.100-115.

Н.А.Штуркин
И.В.Малыгин


Добавил:  Павел (Admin)  
Автор:  Н.А.Штуркин, И.В.Малыгин 

Вас может заинтересовать:

  1. Вольтметр постоянного тока с автоматическим выбором пределов измерения
  2. Кварцевый калибратор
  3. Счетчик витков для намотки трансформатора с применением компьтерного LPT-порта
  4. Простой пробник для проверки диодов и транзисторов
  5. Пробник электроцепей и радиоэлементов монтера-II


    © PavKo, 2007-2018   Обратная связь   Ссылки views: 9210 -- users: 8759 -- web3   Яндекс.Метрика