Портал для радиолюбителей
   Зарядное устройство аккумуляторов от 1,2 до 15 В и от 0,1 до 10 А*ч
    Главная -> Статьи -> Блоки питания, зарядные устройства -> Зарядное устройство аккумуляторов от 1,2 до 15 В и от 0,1 до 10 А*ч


<< Назад в раздел   Распечатать Дата добавления: 2008-08-04 | Просмотров: 14328

    Предлагаемое устройство, позволяющее заряжать любые аккумуляторы и аккумуляторные батареи напряжением от 1,2 до 15 В и номинальной емкостью от 0,1 до 10 А*ч, может найти применение не только в радиолюбительской мастерской, но и в организациях, эксплуатирующих радиоэлектронную аппаратуру с автономным питанием.
   Устройство представляет собой стабилизатор тока с использованием частотно-импульсного регулирования, что позволило обойтись без громоздкого теплоотвода для регулирующего транзистора.

   Основные технические характеристики
    Максимальное выходное напряжение, В........15
    Ток нагрузки, мА .............10, 25, 50, 100, 1000
    Нестабильность выходного тока
    при изменении напряжения
    на нагрузке от 0 до 15 В, %......................... 5
    КПД при токе нагрузки 1000 мА и
    напряжении 15 В, %................................... 60
    Нестабильность выходного тока, %,
    при изменении напряжения питания
    на +15%.....................................................1
    на -15% .....................................................3
    Коэффициент пульсаций выходного тока, % ...10
   Принципиальная схема устройства показана на рис.1. Его образуют сетевой трансформатор Т1, выпрямитель VD1 с фильтрующим конденсатором С1, параметрический стабилизатор R1VD2, мультивибратор на транзисторах VT2 и VT3 с усилителем тока на транзисторе VT4, составной транзистор VT5VT6, работающий в режиме переключения, индуктивно-емкостный фильтр L1C3, коммутирующий диод VD4. Резисторы R13-R17, R7, стабилитрон VD3 и транзистор VT1 - цепь отрицательной обратной связи.

Рис.1

    Работает устройство следующим образом. При включении питания конденсатор С3 разряжен, транзистор VT1 закрыт, мультивибратор генерирует импульсы, следующие с частотой около 20 кГц. Усиленные транзистором VT4, импульсы мультивибратора открывают составной транзистор VT5VT6. Когда этот транзистор открыт, ток течет через него, дроссель L1, нагрузку GB1, подключенную к разъемам X1 и Х2, резисторы Р13-R17 (в зависимости от выбранного переключателем SА1 предела зарядного тока) и конденсатор С3. При закрывании транзистора VT4 ток самоиндукции дросселя L1 замыкается через коммутирующий диод VD4, конденсатор С3, нагрузку и резисторы R13-R17.
   После нескольких импульсов мультивибратора падение напряжения на резисторах R13- R17 достигает 0,65 В, транзистор VT1 открывается и работа мультивибратора прекращается. В установившемся режиме при уменьшении тока нагрузки падение напряжения на резисторах R13-R17 уменьшается, транзистор VT1 закрывается и мультивибратор вырабатывает один импульс длительностью 20 мкс. Затем следует пауза длительностью от 0,045 до 4,5 мс (в зависимости от значения тока нагрузки) - и цикл повторяется.
   Стабилитрон VD3 и резистор R7 служат для защиты транзистора VT1 на случай короткого замыкания на выходе устройства.
   Налаживание устройства сводится к тщательному подбору резисторов R13-R17, определяющих токи зарядки элементов или батарей.
   Дроссель L1, содержащий 250 витков провода ПЭВ-1 0,8, наматывают на магнитопроводе Ш10х10 из феррита 2000НМ. Между его Ш-образными половинами вкладывают прокладки из текстолита толщиной 1,2 мм.
   Сетевой, трансформатор Т1 выполнен на магнитопроводе Ш20х20. Обмотка I содержит 2000 витков провода ПЭВ-1 0,25, обмотка II - 300 витков провода ПЭВ-1 0,75.
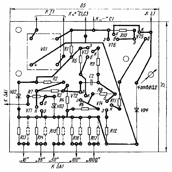
   Большая часть деталей описанного зарядного устройства смонтирована на печатной плате (рис.2) из фольгированного стеклотекстолита толщиной 2 мм. Транзистор VT6 установлен на теплоотводе площадью 25 кв.см, к нему прижат транзистор VT5. На плате предусмотрены места для резисторов, подключаемых параллельно резисторам R13-R17 при подгонке необходимых токов зарядки.

Рис. 2


    В. ДЫМОНТ, Ю. ПАШКОВСКИЙ, г. Минск

   P.S. По мнению одного из рецензентов журнала Радио, стабилитрон VD3 не нужен - он никогда не откроется, в том числе при коротком замыкании в выходной цепи, так как напряжение на эмиттерном переходе транзистора VT1 не может быть больше 3,3 В.

Радио №5, 1994 г., стр.25


Добавил:  Павел (Admin)  
Автор:  В. ДЫМОНТ, Ю. ПАШКОВСКИЙ, г. Минск 

Вас может заинтересовать:

  1. Комбинированный регулятор мощности
  2. Импульсные преобразователи напряжения – Памятка радиоубителю
  3. Сетевой источник питания с высокими удельными параметрами
  4. Преобразователь напряжения 12вольт в "-10 вольт"
  5. Блок питания 0 … 30 в / 5А с цифровой индикацией напряжения и тока


    © PavKo, 2007-2018   Обратная связь   Ссылки views: 9813 -- users: 9168 -- web3   Яндекс.Метрика