Портал для радиолюбителей
   ПЕЛЕНГАЦИЯ МАГНИТНОЙ АНТЕННОЙ
    Главная -> Статьи -> Радиоспорт, любительская радиосвязь -> ПЕЛЕНГАЦИЯ МАГНИТНОЙ АНТЕННОЙ


<< Назад в раздел   Распечатать Дата добавления: 2008-08-08 | Просмотров: 7624

За последние годы весьма широкое распространение получили портативные походные радиоприемники. Как правило, во всех походных приемниках используется магнитная антенна. Это обстоятельство придает таким приемникам одно весьма ценное качество - возможность пеленгации, то есть определения направления на любую принимаемую ими радиостанцию. Магнитная антенна обладает резко выраженной направленной характеристикой. На рис.1 приведена полярная диаграмма ее чувствительности, имеющая форму восьмерки.

rzn-8621.gif
Puc.1

Громкость приема радиостанции на магнитную антенну не имеет резкого максимума, тогда как минимум (практически полный провал слышимости) весьма отчетлив и позволяет определить его с достаточно большой точностью. Направление на пеленгуемую радиостанцию и определяется по минимуму громкости ее приема. В этом случае направление на радиостанцию совпадает с направлением ферритового сердечника (стержня) магнитной антенны. Что касается точности определения, то она оказывается вполне достаточной для туристских целей.

Так, опыт пеленгации вещательных радиостанций при помощи такого распространенного приемника как "Турист" показал, что точность определения (отсчета угла по азимуту) составляет около 0,5 градуса (±0,25°). С сокращением расстояния точность определения пропорционально растет. Весьма существенным недостатком такого простейшего пеленгатора является наличие двух минимумов, смещенных один относительно другого на 180°. Следовательно, такой пеленгатор не дает определения активной стороны, то есть не указывает истинного, единственного направления на радиостанцию. К сожалению, простейших способов исключения одного из минимумов и получения характеристики чувствительности магнитной антенны в форме так называемой кардиоиды не существует. Поэтому активную сторону приходится определять косвенным путем, сообразуясь с положением на местности, либо попросту помня направление, в котором перед этим двигался пешеход.

Однако могут встретиться случаи, когда ориентировка все же полностью утрачена и установить истинное направление на радиостанцию при двух минимумах совершенно невозможно. В этом случае предлагается довольно простой способ определения активной стороны, осуществляемый путем весьма несложного маневра. Следует, однако, иметь в виду, что метод этот применим лишь для близрасположенных радиостанций.

rzn-8622.gif
Puc.2

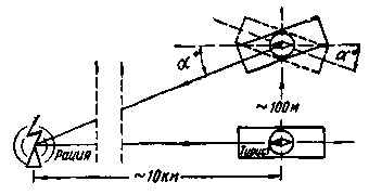
Определив пеленгатором по любому из минимумов направление луча пеленгуемой радиостанции (рис. 2) и отметив его по компасу, пешеход продвигается перпендикулярно к нему на расстояние 100- 200 м. Взятый затем вновь пеленг покажет некоторое склонение, которое легко обнаружить и определить по компасу. Его направление и укажет сторону, в которой находится пеленгуемая радиостанция. Приводимый рисунок поясняет суть описываемого метода. Если угол пеленга увеличился, из этого следует, что радиостанция находится, как это изображено в плане на рисунке, слева; если же угол пеленга при отходе от курса в сторону, указанную на рисунке, уменьшится - радиостанция находится справа (положение плоскости приемника-пеленгатора при этом указано пунктиром).

Необходимое расстояние отхода от основного курса определяется дальностью расположения пеленгуемой радиостанции и обычно не велико. Так, при расстоянии до радиостанции в 10 км достаточно отойти всего на 100 м, что дает уже около 1° склонения, хорошо отсчитываемого на туристском компасе. При расстоянии в 20 км расстояние следует удвоить, то есть отойти примерно на 200 м.

Следует, конечно, иметь в виду, что при пользовании приемником в качестве пеленгатора на нем для удобства следует укрепить небольшой компас.


Добавил:  Павел (Admin)  
Автор:  Инж. И. Корсаков, Ленинград (РАДИО N 8 1962, c.45) 

Вас может заинтересовать:

  1. ОПРЕДЕЛЕНИЕ РАССТОЯНИЙ С ПОМОЩЬЮ QTH-ЛОКАТОРА
  2. Маячок для радиоориентирования 3,5 МГц
  3. Радиолюбительские участки КВ диапазона
  4. ВЫСОКОЧАСТОТНЫЕ НАВОДКИ В РАДИОЛЮБИТЕЛЬСКОЙ ПРАКТИКЕ
  5. ПЕЛЕНГАЦИЯ МАГНИТНОЙ АНТЕННОЙ


    © PavKo, 2007-2018   Обратная связь   Ссылки views: 9168 -- users: 8762 -- web3   Яндекс.Метрика