Портал для радиолюбителей
   Немного о ГПД
    Главная -> Статьи -> Радиоспорт, любительская радиосвязь -> Немного о ГПД


<< Назад в раздел   Распечатать Дата добавления: 2008-11-16 | Просмотров: 10644

Немного о ГПД

А. Кузьменко, RV4LK

Электронная расстройка

Наиболее часто в качестве элемента расстройки применяется варикап - специальный диод, емкость которого изменяется под действием прикладываемого напряжения. При всем удобстве применения, варикап обладает и существенными недостатками. Прежде всего имеется значительный температурный коэффициент, нелинейно зависящий от температуры и от приложенного напряжения, в связи с чем невозможна полная термокомпенсация. Это означает, что ГПД с варикапом в качестве основного элемента перестройки всегда будет "плыть", а с варикапом в качестве элемента небольшой подстройки будет немного "подплывать". Во-вторых, варикап имеет малую добротность, что плохо сказывается на стабильности частоты и, в третьих, как нелинейный элемент, ухудшает шумовые характеристики ГПД, его спектральную чистоту, что особенно важно при конструировании трансиверов с большим динамическим диапазоном.

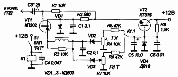
 Cхема электронной расстройки ГПД

Предлагается схема электронной расстройки ГПД, рис.1, которая, на мой взгляд, прошла мимо внимания большинства радиолюбителей [1]. Используя такой способ перестройки частоты обеспечивается меньший первоначальный выбег частоты и меньший ее уход при длительной работе. На частоте 7МГц расстройка может составлять 250 кГц, в зависимости от схемы ГПД. Если не нужен большой диапазон расстройки, то следует исключить элементы VD1, R2, С1, а исток транзистора VT1 следует соединить с землей.

Термокомпенсация

В процессе нагрева детали ГПД изменяют свои размеры и, в зависимости от суммарного температурного коэффициента, и его знака частота ГПД начинает дрейфовать вверх или вниз. Термокомпенсацию следует производить при выведенном наполовину конденсаторе переменной емкости. От угла поворота роторных пластин зависит его ТКЕ (температурный коэффициент емкости). Нагревать корпус ГПД следует равномерно, желательно в термостат, контролируя температуру внутри термостата. Если нет промышленного термостата, можно сделать самодельный из деревянного ящика, а элементами нагрева могут служить лапы накаливания, рефлекторы, маломощные калориферы и т.п. Нагрев, при этом, будет менее равномерным.

Нагревая корпус ГПД до температуры (40 - 50)° и, охлаждая естественным путем без принудительной вентиляции, проверяется цикличность изменения частоты. Если установившееся значение частоты после цикла нагрев-охлаждение отличается от исходного на 200 - 350 Гц, необходимо отыскать и заменить деталь с не цикличным температурным коэффициентом.

Некоторые детали обладают свойством под действием температуры скачком изменять свои параметры. Чаще всего это конденсаторы, особенно, трубчатые - КТ. Происходит "мерцание" частоты. Существует простой способ - нагревая паяльником, с вставленным вместо жала керамическим стержнем, поочереди все детали, входящие в ГПД, и прослушивая сигнал ГПД на радиоприемнике (например, Р-326М) можно найти неисправную деталь. При нагреве исправных деталей изменение частоты происходит плавно, без скачков и "мерцания". Иногда, мерцание может возникнуть вследствие механической неустойчивости монтажа.

Подбором термокомпенсирующих конденсаторов с нужным ТКЕ добиваются ухода частоты не более чем на 10 - 20 Гц/град при нагреве корпуса ГПД. Массивный дюралюминиевый корпус обладает тем большей тепловой инерцией, чем толще его стенки и тем лучше стабильность ГПД. Контроль частоты не следует производить раньше чем через 15-20 минут после пайки в ГПД. Стабильность частоты проверяют при постоянной температуре в крайних положениях конденсатора переменой емкости. После 15 минутного прогрева она не должна быть хуже, чем 50-100 Гц/час. Термокомпенсацию можно считать законченной, если при перестройке ГПД с одного конца диапазона в другой уход частоты меняет знак, т.е. в начале она от прогрева растет, в конце уменьшается или наоборот. Убедившись, что процесс происходит именно таким образом, можно смело устанавливать ГПД в трансивер. Следует также позаботиться о термокомпенсации источника питания.

Конструирование традиционного ГПД

Конструирование ГПД - тема необъятная, но основные принципы следует привести. Считаю, что это будет полезным не только для начинающих радиолюбителей. Стабильность частоты - серьезная проблема для большинства радиолюбительских конструкций.

1. Традиционный ГПД выполняется в виде самостоятельной конструкции - каркас должен быть очень жестким и желательно компактным. Корпус из толстого дюралюминия толщиной 4-6 мм. Проводной монтаж должен вестись вытянутым (прямым, без петель) проводом 1-2 мм.

2. Монтаж элементов на печатной плате не желателен. Предпочтительно его вести навесным монтажом на изоляционных стойках. Могут подойти керамические предохранители с предварительно выпаянными проводами. В самодельных конструкциях можно применить керамические галетные переключатели, на контактах которых выполняется монтаж.

3. ГПД должен размещаться подальше от тепловыделяющих узлов и не должен обмываться конвекционными протоками воздуха. Если эти условия не выполняются, следует обеспечить термостатирование. Проще всего "холодное" термостатирование. Для этого коробку ГПД снаружи обклеить листовым (до 10 мм) пенопластом.

4. Частотозадающие элементы ГПД должны быть максимально высококачественными. Переменный конденсатор с большим воздушным зазором (1-2 им), толстыми пластинами - желательно медными, с фарфоровой осью на подшипниках. Катушка индуктивности, по возможности, фарфоровая с дожженной посеребрянной обмоткой. Выводы элементов и соединительных проводов - минимальной длины без механических натяжений.

5. Переключение частоты обеспечивается галетным керамическим переключателем или дистанционным переключателем на высокочастотных реле, например, РПС-32 хорошо работают до частоты 50 МГц,

6. Стабильность частоты зависит не столько от схемы, сколько от качества применяемых деталей и изготовления. Могу порекомендовать несколько, хорошо зарекомендовавших себя схем - "Радио" №5-90 стр.59, "Радиолюбитель" №9-93 стр.38.

7. После сборки и монтажа ГПД желательно снять механические напряжения, нагревая блок до температуры 100-120° и дать остыть естественным образом.

Литература.
1. Журнал "Радио" N 5-89 стр.96

(Радио - Дизайн N 1-98, с.32-33)


Добавил:   ()  
Автор:  А. Кузьменко, RV4LK 

Вас может заинтересовать:

  1. "Лунный эффект" на 80 м
  2. ОПРЕДЕЛЕНИЕ РАССТОЯНИЙ С ПОМОЩЬЮ QTH-ЛОКАТОРА
  3. ВИДЫ МОДУЛЯЦИИ ПРИ ДАЛЬНЕЙ СВЯЗИ НА УКВ
  4. Опыт использования коротких волн для APRS
  5. ВЫСОКОЧАСТОТНЫЕ НАВОДКИ В РАДИОЛЮБИТЕЛЬСКОЙ ПРАКТИКЕ


    © PavKo, 2007-2018   Обратная связь   Ссылки views: 9244 -- users: 9144 -- web3   Яндекс.Метрика