Портал для радиолюбителей
   Многокомандная система телеуправления
    Главная -> Статьи -> Аппаратура радиоуправления моделями -> Многокомандная система телеуправления


<< Назад в раздел   Распечатать Дата добавления: 2007-10-20 | Просмотров: 8718

Шифратор и дешифратор, о которых пойдет речь в статье, позволяют создать систему телеуправления с одновременной передачей до семи дискретных команд. Оба устройства полностью выполнены на КМОП-микросхемах и потому очень экономичны.

Для передачи команд используется числоимпульсный код (о работе числоимпульсных шифратора и дешифратора можно прочитать в статье А. Проскурина "Дискретная аппаратура телеуправления".- Радио, 1989, № 4, с. 29-31.) Семи командам, передаваемым в каждом цикле работы поочередно, соответствуют пачки из одного - семи импульсов. Если вместо одной из них передается пачка из восьми импульсов, то это означает, что данная команда отсутствует.

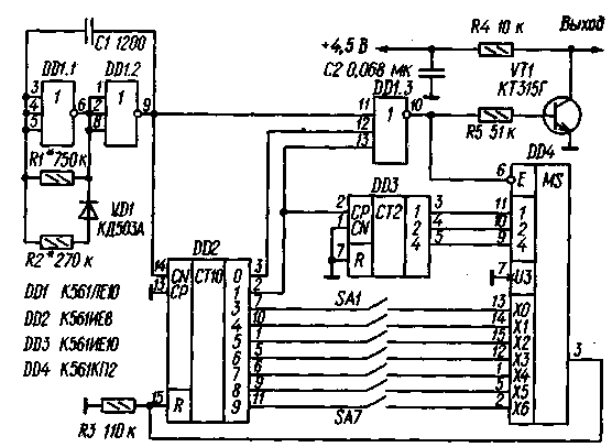
Принципиальная схема шифратора изображена на рис. 1, а эпюры сигналов в его характерных точках - в верхней части рис. 2. Шифратор состоит из генератора прямоугольных импульсов, шифратора и выходного транзисторного ключа. В свою очередь, шифратор содержит два счетчика (один из них с дешифратором), мультиплексор, семь выключателей (по числу команд) и ключ на элементе ИЛИ-НЕ.

mno-ko1.gif
Puc.1

Генератор выполнен на элементах DD1.1 и DD1.2. Частота повторения импульсов - около 1 кГц. Поскольку напряжение переключения КМОП-элементов не равно половине напряжения питания, для симметрирования импульсов в генератор введена цепь R2VD1.

Импульсы генератора поступают на вход десятичного счетчика с дешифратором DD2 и один из входов ключа, в качестве которого использован элемент DD1.3. В нулевом и единичном состояниях счетчика на соответствующих выходах дешифратора (выводы 3 и 2 DD2) присутствует напряжение с уровнем логической 1, которое запрещает прохождение импульсов генератора через элемент DD1.3 на электронный ключ, выполненный на транзисторе VT1.

mno-ko2.gif
Puc.2

Во всех остальных состояниях счетчика импульсы положительной полярности, формируемые на выходе этого элемента под действием импульсов генератора, периодически открывают транзистор VT1. В результате на его коллекторе формируются импульсы отрицательной полярности, которые по проводной или радиолинии связи можно передать на дешифратор системы телеуправления. Генератор РЧ колебаний или модулятор системы радиоуправления можно включить в коллекторную цепь этого транзистора.

Если ни один из командных выключателей SA1 - SA7 не замкнут, счетчик микросхемы DD2 работает с коэффициентом пересчета 10, и на выходе элемента DD1.3 формируются пачки из восьми импульсов, разделенные интервалами, равными 2,5 периода колебаний генератора.

Предположим теперь, что замкнуты контакты каких-либо двух выключателей, например, SA2 и SA3. Работу шифратора рассмотрим, начиная с момента, когда счетчик DD3 находится в нулевом состоянии. В этом случае выход мультиплексора DD4 (вывод 3) через его внутренние ключи соединен с входом Х0 (вывод 13), но поскольку выключатель SA1 не замкнут, это никак не влияет на работу счетчика DD2 и он выполняет весь цикл счета.

В начале следующего цикла, когда на выходе 1 (вывод 2) счетчика DD2 заканчивается импульс положительной полярности, счетчик DD3 переключается в состояние 1 и выход мультиплексора DD4 соединяется с его входом X1. Последний, как видно из схемы, соединен через выключатель SA2 с выводом 10 счетчика DD2, поэтому, когда он переходит в состояние 4, напряжение логической 1 через мультиплексор DD4 поступает на вход R и возвращает его в нулевое состояние. В результате на выходе элемента DD1.3 формируется пачка из двух импульсов, а счетчик DD2 начинает новый цикл счета. В нем счетчик DD3 переходит в состояние 2, выход мультиплексора соединяется с входом Х2, сигнал установки в 0 счетчика DD2 поступает на его вход R после перехода в состояние 5 и на выходе устройства формируется пачка из трех импульсов.

После завершения формирования восьмой пачки импульсов цикл работы шифратора повторяется. Максимальная длительность цикла при частоте следования импульсов 1 кГц - 80 мс, при подаче команд она несколько меньше.

Принципиальная схема дешифратора показана на рис. З. а эпюры сигналов- в нижней части рис. 2. Устройство состоит из формирователя импульсов, детектора паузы,' счетчика импульсов, регистра, дешифратора и семи (по числу команд) формирователей управляющих сигналов.

mno-ko3.gif
Puc.3

Формирователь импульсов выполнен на элементе DD1.1, резисторе R1 и конденсаторе С1. Устройство обладает свойствами интегрирующей цепи и триггера Шмитта. Его выходные импульсы несколько задержаны относительно входных и имеют крутой фронт независимо от длительности их фронта. Кроме того, такой формирователь подавляет импульсные помехи малой длительности. Детектор паузы образован элементом DD1.2, резистором R2, диодом VD1 и конденсатором С2. Работу этого узла иллюстрирует рис. 2 (см. эпюры напряжений на выводах 7 и б микросхемы DD1). Первый отрицательный импульс пачки, пройдя через диод VD1, переключает элемент DD1.2 в нулевое состояние. В паузе между первым и вторым импульсами конденсатор С2 заряжается через резистор R2, однако напряжение на входе элемента не достигает порога переключения и он остается в исходном состоянии. С появлением каждого следующего входного импульса конденсатор С2 быстро разряжается через диод VD1, поэтому во время действия пачки напряжение на выходе элемента DD1.2 поддерживается на уровне логического 0.

В паузе между пачками импульсов напряжение на входе элемента DD1.2 достигает порогового значения и он лавинообразно переключается (благодаря положительной ОС через конденсатор С2) в единичное состояние. В результате на его выходе (вывод 6) формируется импульс положительной полярности, переводящий счетчик DD2 в нулевое состояние.

Импульсы с выхода элемента DD1.1 поступают на вход CN счетчика DD2 и он после окончания пачки устанавливается в состояние, соответствующее числу импульсов в ней. Под действием фронта импульса, сформированного детектором паузы (DD1.2), информация о состоянии счетчика DD2 переписывается в регистр DD3. Его выходные сигналы поступают на дешифратор DD4. В результате после приема каждой пачки из одного - семи импульсов на соответствующем выходе дешифратора появляется сигнал логической 1, который сохраняется до окончания приема очередной пачки. После прихода пачки из восьми импульсов сигнал такого уровня возникает на выходе 0, который в данном устройстве не используется.

Длительность выходных импульсов дешифратора DD4 в зависимости от числа импульсов в пачке, следующей за данной, находится в пределах 3...10 мс (период, как говорилось, может достигать 80 мс). Для управления исполнительными механизмами эти импульсы малопригодны. Чтобы превратить последовательности импульсов в управляющие сигналы с неизменным уровнем, в устройство введены формирователи, собранные на элементах микросхем DD1, DD5, резисторах R3 - R9, диодах VD2-VD8 и конденсаторах С5-С11. Работают они примерно так же, как и рассмотренный выше детектор паузы.

Для примера рассмотрим процесс формирования управляющего сигнала команды 2 (в шифраторе замкнуты контакты командного выключателя SA2), когда по линии связи поступают пачки из двух импульсов. В этом случае на выходе 2 (вывод 2) дешифратора DD4 появляется последовательность положительных импульсов. Первый же из них через диод VD3 воздействует на вход элемента DD5.1 и переводит его в состояние логической 1, заряжая до этого уровня конденсатор Сб. В паузе между импульсами конденсатор медленно разряжается через резистор R4, однако до порога переключения напряжение на входе элемента не снижается. Каждый следующий импульс быстро дозаряжает конденсатор С6 до уровня логической 1, поэтому в течение всего времени передачи команды 2 на выходе элемента DD5.1 поддерживается напряжение логической 1.

По окончании передачи команды конденсатор С6 разряжается через резистор R4, напряжение на входе элемента понижается до порога переключения и он лавинообразно переходит в нулевое состояние.

Шифратор и дешифратор смонтированы на печатных платах (см. соответственно рисунок 4 и рисунок 5), изготовленных из двустороннего фольгированного стеклотекстолита толщиной 1 мм. Платы рассчитаны на установку резисторов МЛТ-0,125, конденсаторов КМ-5 и КМ-6.

Без каких-либо изменений печатных плат вместо микросхем К561ИЕ8, К561ЛЕ10 и К561ИД1 можно использовать их функциональные аналоги из серии К 176. Следует, однако, учесть, что не все они могут нормально работать при напряжении питания 4,5 В, поэтому, возможно, его придется повысить до 9 В. Если микросхему К176ПУЗ (рис. 3) заменить на К561ПУ4 (эта замена также возможна без изменения печатной платы), напряжение питания можно выбрать любым в пределах 3...15 В.

Счетчики К561ИЕ10 в обоих устройствах можно заменить на К561ИЕ11 (а в шифраторе - еще и на К176ИЕ1, К176ИЕ2), регистр К561ИР9 - на К176ИРЗ, однако в любом из этих случаев потребуется доработка схем и печатных плат.

mno-ko6.gif
Puc.6

В частотозадающих цепях шифратора и дешифратора можно использовать конденсаторы вдвое большей или меньшей емкости, соответственно подобрав резисторы этих цепей таким образом, чтобы произведения значений емкости и сопротивления остались неизменными.

(Радио 10/90)


Добавил:  Павел (Admin)  
Автор:  Радио 10/90 

Вас может заинтересовать:

  1. Командо-аппарат для "Сигнала-1"
  2. Дискретно-пропорциональное управление
  3. Устройство радиоуправления на 12 команд
  4. Аппаратура пропорционального управления
  5. Устройство радиоуправления (радиоключ) на 3 команды


    © PavKo, 2007-2018   Обратная связь   Ссылки views: 12729 -- users: 12283 -- web3   Яндекс.Метрика