Портал для радиолюбителей
   Командо-аппарат для "Сигнала-1"
    Главная -> Статьи -> Аппаратура радиоуправления моделями -> Командо-аппарат для "Сигнала-1"


<< Назад в раздел   Распечатать Дата добавления: 2007-10-20 | Просмотров: 8843

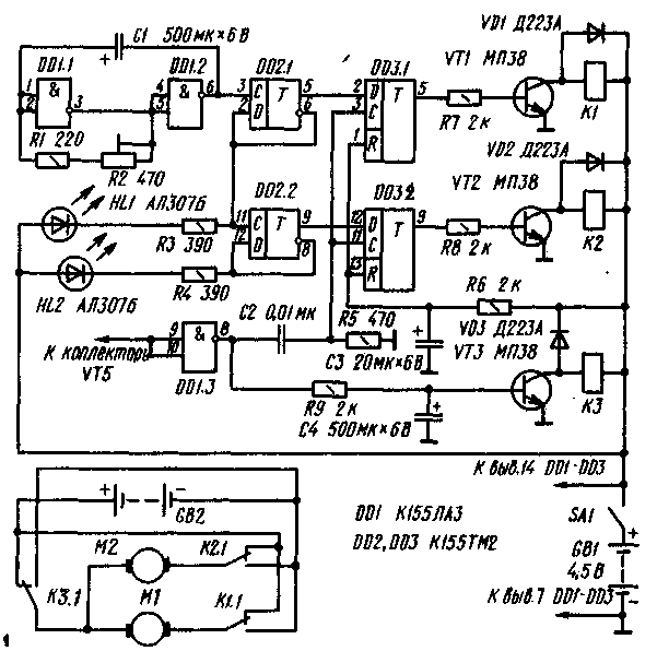
Для дистанционного управления детской игрушкой "Планетоход-7" я использовал самодельные передатчик и приемник аппаратуры "Сигнал-1", описание которых было в "Радио", 1984, № 6. Но к приемнику подключил электронный командоаппарат (см. схему на рис. 1).

koap-s1.gif
Puc.1

На элементах DD1.1 и DD1.2 собран тактовый генератор, вырабатывающий импульсы с частотой следования примерно 1 Гц (она зависит от емкости конденсатора С1 и сопротивления резисторов R1 и R2). Эти импульсы поступают на вход синхронизации (С) триггера DD2.1, который совместно с триггером DD2.2 представляет двухразрядный двоичный счетчик. К инверсным выходам счетчика через резисторы R3 и R4 подключены сигнальные светодиоды HL1 и HL2. Они зажигаются, когда на этих выходах уровень логического 0. Прямые же выходы подключены к информационным входам (D) регистрирующего устройства, выполненного на триггерах DD3.1 и DD3.2. К выходам этих триггеров, а также инвертора DD1.3 подключены через резисторы R7 - R9 транзисторные ключи с электромагнитными реле - они коммутируют цепи питания электродвигателей моделей Ml (левый) и М2 (правый).

Входы синхронизации триггеров DD3.1 и DD3.2 объединены и подключены через конденсатор С2 к выходу инвертора, собранного на элементе DD1.3. Цепочка R6C3 необходима для автоматической установки триггеров микросхемы DD3 в нулевое состояние после включения (выключателем SA1) питания. Конденсатор С4, шунтирующий эмиттерный переход транзистора VT3, необходим для задержки срабатывания реле КЗ при подаче коротких командных сигналов.

Как работает командоаппарат? После включения питания на прямых выходах (выводы 5, 9) триггеров регистрирующего устройства - уровни логического 0. Такой же сигнал и на выходе элемента DD1.3. Поэтому транзисторы VT1 - VT3 закрыты, реле отпущены, электродвигатели обесточены.
Но тактовый генератор работает, и светодиоды зажигаются в последовательности двоичного кода.

Рассмотрим работу командоаппарата в тот момент, когда вспыхнул светодиод HL1. На информационном входе триггера DD3.1 (вывод 2) -- уровень логической 1, а на информационном входе триггера DD3.2 (вывод 12) - уровень логического 0. Если теперь оператор кратковременно (не более 0,5 с) нажмет кнопку включения питания передатчика, транзистор VT5 приемника откроется и на вход инвертора DD1.3 поступит уровень логического 0. На выходе инвертора появится уровень логической 1, Через дифференцирующую цепочку C2R5 на входы синхронизации триггеров микросхемы DD3 поступит короткий положительный импульс, который по времени совпадет с уровнем логической 1 на информационном входе триггера DD3.1 (вывод 2).

На выходе триггера DD3.1 появится уровень логической 1, и транзистор VT1 откроется. Сработает реле К1. Контактами К1.1 оно подключит выводы электродвигателя Ml к источнику питания GB2 в такой полярности, что гусеница планетохода начнет вращаться вперед. Модель будет поворачиваться вправо до тех пор, пока не поступит следующая команда.

Если же оператор будет держать кнопку включения передатчика более 0,5 с, то сначала сработает реле К1, а затем КЗ. Контакты КЗ.1 отключат от источника питания электродвигатель Ml и подключат М2. Модель по-прежнему будет поворачивать вправо, но благодаря вращению правой гусеницы назад. После отпускания кнопки реле КЗ отпустит, а К1 останется включенным. Вместо правой начнет вращаться левая гусеница.

Так работает аппаратура при исполнении команды "Вправо". Чтобы заставить модель поворачивать влево, нужно подать короткий или продолжительный импульс включения передатчика в тот момент, когда загорится только светодиод HL2. Команда "Вперед" выполняется при нажатии кнопки передатчика на короткое время при светящихся обоих светодиодах, а команда "Назад" - при продолжительном нажатии кнопки во время погашенных светодиодах. Если же подать короткий сигнал при погашенных светодиодах либо продолжительный при горящих, модель остановится.

Навыки в управлении моделью, оснащенной данным командоаппаратом. приобретаются сравнительно быстро, если усвоить, что короткий командный сигнал запоминается и соответствующая команда выполняется моделью до поступления следующей, а при продолжительном сигнале до тех пор, пока не отпустят кнопку передатчика. Причем в последнем случае автоматически продолжится исполнение команды, которую запомнило регистрирующее устройство.

Вместо элементов 2И-НЕ микросхемы К155ЛАЗ в командоаппарате можно использовать элементы И-НЕ, ИЛИ-НЕ, НЕ других микросхем, например, К155ЛА4. К155ЛЕ1, К155ЛЕ4, К155ЛН1. Кроме указанных на схеме, можно применить на месте DD2 К155ТМ7, а на месте DD3 - К155ТМ5, К155ТМ7. К155ТМ8. Транзисторы - любые, структуры п-р-п (МП37, КТ315, КТ3102). Светодиоды допустимо заменить лампами накаливания, скажем, МН 2,5-0,068, но их нужно подключать через транзисторные ключи (транзисторы структуры p-n-p) - аналогично включению реле. Последовательно с каждой лампой включают гасящий резистор.

Конденсаторы, резисторы, диоды и выключатель - любого типа. Электромагнитные реле - РЭС9 паспорт РС4. 524.200, предварительно доработанные. Одну группу контактов реле удаляют, а в оставшейся подгибают неподвижные контакты и уменьшают зазор между якорем и сердечником магнитопро-вода. В итоге реле должно срабатывать при небольшом напряжении. Подойдут другие реле, с напряжением срабатывания 3...4 В и током, не превышающим допустимого,тока коллектора транзисторов. Источник питания GB1 - батарея 3336 или три последовательно соединенных элемента 343.

Часть деталей командоаппарата смонтирована на печатной плате (рис. 2, ) из одностороннего фольгированного стеклотекстолита. Входные выводы четвертого элемента микросхемы К155ЛАЗ подпаяны к общему проводу. Светодиоды укреплены на корпусе модели в удобном для наблюдения месте, а электромагнитные реле - в непосредственной близости от электродвигателей.

koap-s3
Puc.3

Для предварительной проверки работоспособности командоаппарата нужно отключить выводы 9, 10 элемента DD1.3 от коллектора транзистора VT5 приемника и подключить через резистор сопротивлением 1 кОм к плюсу источника питания, а между выводами и общим проводом включить контакты кнопочного выключателя на замыкание. Источник GB2 отключают.

После подачи питания выключателем SA1 подстроечным резистором R2 устанавливают необходимую частоту тактового генератора (при увеличении сопротивления резистора частота уменьшается, и наоборот). Замыканием контактов вспомогательного кнопочного выключателя имитируют подачу командного сигнала и проверяют срабатывание электромагнитных реле. Затем монтаж восстанавливают и проверяют совместную работу приемника и передатчика, как это описано в разделе "Налаживание" в "Радио", 1983, № 12, с. 52. Теперь приемник и командоалпарат можно установить на модель и провести ходовые испытания, подавая команды по радиоканалу.

Данный командоаппарат можно использовать и с приемником,собранным по схеме в "Радио", 1982, № 8, с. 50. В этом варианте реле К1 приемника не используют, а коллектор транзистора V3 подключают к точке соединения конденсатора С2 и резистора R9 командоаппарата. Элемент DD1.3 отключают и соединяют его входы с общим проводом.

С. РЫБАЕВ г. Киев

(Р 3/87)


Добавил:  Павел (Admin)  
Автор:  С. РЫБАЕВ г. Киев (Р 3/87) 

Вас может заинтересовать:

  1. Помехозащищенная система телеуправления
  2. Передатчик для телеуправления
  3. Дешифратор простой системы телеуправления
  4. Аппаратура радиоуправления моделями и игрушками
  5. Шифратор и дешифратор команд телеуправления


    © PavKo, 2007-2018   Обратная связь   Ссылки views: 4333 -- users: 4245 -- web3   Яндекс.Метрика