Портал для радиолюбителей
   Однотактный ламповый...., возвращаясь к напечатанному
    Главная -> Статьи -> Ламповые усилители низкой частоты -> Однотактный ламповый...., возвращаясь к напечатанному


<< Назад в раздел   Распечатать Дата добавления: 2008-01-05 | Просмотров: 29843

Этой статьёй, я хотел бы ответить на наиболее часто задаваемые радиолюбителями вопросы, пояснить особенности монтажа однотактных ламповых усилителей, сравнить звучание различных ламп в выходном каскаде, поговорить об использовании разных радиоэлементов усилителя и влиянии их на звучание и т.д.

Несмотря на то, что в предыдущих моих статьях описаны основные принципы конструирования и использования радиоэлементов, письма, поступающие регулярно, говорят о недостаточном освещении этих вопросов. Мы с Вами попытаемся подробно разобраться по каждой группе проблем, подстерегающих начинающих (и не очень) конструкторов высококачественных ламповых усилителей. Сразу скажу, что статья не претендует на истину в последней инстанции, а отражает моё видение проблемы. Мысли изложенные ниже прошли многократную проверку временем и моими друзьями, и я счел нужным поделиться ими с Вами, уважаемые читатели.

Для удобства, используем схему однотактного усилителя, изображенную на рис.1.

Рис.1(а)

Рис.1(б)

Рис.1

Схема не нова и много раз была опубликована в радиолюбительских журналах и в Интернете. Несмотря на это, она актуальна до сих пор, так как обеспечивает, при относительной простоте конструкции, отличное качество звучания. Итак, начнем.

Первая группа вопросов связана с регулятором громкости. Как вы видите, входной сигнал поступает прямо на него, и от качества этого элемента зависит звучание всего усилителя, уже начиная с входа.

Я применяю дорогой спаренный ALPS, потому что, с моей точки зрения:

  1. удобно регулировать громкость одной ручкой в двух каналах сразу.

  2. «разбаланс» сопротивлений двух резисторов этого регулятора минимален.

  3. «плавность хода» вне конкуренции.

  4. нет влияния (что очень важно) на характер входного сигнала.

Для справки, стоимость этого радиоэлемента 30-50$ (как повезет).

Теперь поговорим об его замене. Можно использовать обычные переменные резисторы группы «В» (желательно проволочные), по одному на каждый канал. В этом случае громкости каналов подбираются индивидуально. Естественно, резисторы придется многократно отслушивать по наилучшему звучанию, но никто не обещал легких путей. Регулятор громкости, по возможности, не должен вносить никакой «окраски» во входной сигнал, я уже не говорю о дребезге контактов, шуршании, заедании и т.д.

Хороший результат дает применение ступенчатого регулятора громкости (применялся в усилителе «Бриг», предварительном усилителе «Радиотехника» и т.д.). Выбор за Вами.

Вторая группа вопросов связана с применением ламп первого каскада усилителя. Для этого подойдут 6Н2П или её октальный вариант 6Н9С, 6Н1П или её октальный вариант 6Н8С, 6Г7 (у кого остались со старых времен) и их зарубежные аналоги (полистайте справочник). Хочу сразу сказать о звуке. Лампа 6Н9С звучит «теплее», а 6Н8С более «аналитично», 6Г7 звучит очень детально и мягко. Прекрасным вариантом является применение монотриодов 6С2С и 6С5С. Коэффициенты усиления и внутреннее сопротивление у всех этих ламп различны (специально не привожу, посмотрите справочник), поэтому и различны номиналы резисторов, применяемых в каскаде. Выбор за Вами, уважаемые конструкторы. Чтобы Вы не «изобретали велосипед», приведу данные анодного резистора для различных типов ламп, о которых я сказал. Знак равенства я поставил условно, так как режимы работы и параметры этих приборов схожи, но неодинаковы.

  1. 6Н8С=6Н1П – 20-30 ком

  2. 6Н9С=6Н2П – 47-51 ком

  3. 6Г7 – 100-110 ком

  4. 6С2С=6С5С – 20-30 ком

Вообще, сопротивление анодного резистора должно быть в пределах 3-5 (иногда до 10)Ri, где Ri – внутреннее сопротивление лампы. Если оно не указано, применяем основное уравнение лампы m=SRi, где m – коэффициент усиления, S – крутизна характеристики.

Следует иметь в виду, что с увеличением номинала анодного резистора увеличивается коэффициент усиления каскада, но сужается частотный диапазон и ухудшается динамика. Наоборот, с уменьшением сопротивления этого резистора, уменьшается коэффициент усиления каскада, расширяется частотный диапазон и растёт быстродействие. Если Вы посмотрите схемы усилителей, применявшихся в промышленных ламповых конструкциях середины прошлого века, то обратите внимание, что номиналы резисторов в цепи анода предварительных усилителей слишком завышены, а это приводит к росту третьей гармоники и о высоком качестве звучания придётся забыть. Не повторяйте этих ошибок!

Катодные резисторы подбираются по напряжению на катоде (относительно корпуса естественно) в пределах 1,45-1,7 вольта. Поскольку выходное напряжение современных источников сигнала обычно лежит в пределах 0,7-0,75 вольта, то напряжение смещения на управляющей сетке лампы первого каскада, как минимум, в 1,5-2 раза должно превышать его. В этом случае каскад будет работать без перегрузки. Если Вы применяете высококачественный предварительный усилитель, то его выходное напряжение ещё больше (до двух и более вольт). Как Вы понимаете, в этом случае напряжение на катоде лампы (или напряжение смещения на сигнальной сетке, что одно и тоже, только со знаком минус) входного каскада должно быть уже около 3 – 4 вольт. Кстати, если кто-то забыл, отрицательное напряжение смещения измеряют относительно катода. По падению напряжения на катодном резисторе легко узнать ток через лампу (по закону Ома). Следите за тем, чтобы этот ток не превышал справочного значения для конкретной применяемой лампы. Некоторые из Вас могут спросить, почему я не привёл в качестве примера лампы 6С3П, 6С4П. Отвечаю. Несмотря на хорошее звучание и отличную конструкцию, особенностью данных ламп является появление сеточных токов при смещении на сетке, начиная уже с – 1,1 вольта, поэтому их применение оправдано в каких-то конкретных случаях. Нужно также иметь некоторое количество этих ламп, чтобы выбрать экземпляры с минимальным микрофонным эффектом.

Если в выходном каскаде применяется триод или пентод типа 6П45С, то для их раскачки требуется гораздо большее напряжение. В этом случае в первом каскаде нужно применять пентод (например, 6Ж4, 6Ж49П, 6Ж52П, 6Э5П и т.д.) или использовать два каскада усиления по напряжению на триодах. Но имейте в виду, что в случае использования двух триодов в предварительном каскаде, Вы получаете в сумме три каскада, а это уже не кратчайший путь сигнала (со всеми вытекающими). Поэтому не нужно бояться использовать пентоды в штатном или триодном включении.

Многие зарубежные и отечественные производители применяют именно пентоды во входных каскадах своих усилителей, что не мешает им хорошо звучать.

Осторожно нужно относиться и к слишком категоричным суждениям типа: «применение SRPP обеспечивает транзисторное звучание» или «пентод не может хорошо звучать» и т.д. и т.п. Только сравнительное прослушивание различных усилителей позволит Вам выявить свои конкретные предпочтения в выборе схемы, ламп или радиоэлементов. Слушайте и ещё раз слушайте, ведь ухо – наиболее чувствительный прибор, не имеющий себе равных среди остальных измерителей. Приборы дадут Вам лишь количественную оценку каких-то параметров (коэффициента гармоник, выходной мощности и т.д.), но практически ничего не скажут о звучании в целом. Очень часто усилители с великолепными количественными показателями обеспечивают худшее звучание по сравнению с собратьями, обладающими гораздо более скромными параметрами.

Некоторые из Вас спрашивают, что лучше, включать обе половинки лампы предварительного каскада параллельно или использовать одиночные триоды. Отвечаю. Применение параллельного включения позволяет:

  1. в два раза уменьшить внутреннее сопротивление лампы

  2. в два раза увеличить крутизну характеристики

  3. снизить шумы лампы

Можно также сказать и об увеличении входной ёмкости, но это хорошо, в основном, в схемах винил корректоров, так как для магнитного звукоснимателя оптимальна ёмкостная нагрузка. На первый взгляд, вроде всё хорошо. Но (опять «но»), есть и недостатки. Как Вы понимаете, технологически невозможно сделать обе половинки лампы абсолютно одинаковыми, поэтому она «поёт дуэтом». Чем больше разнятся половинки лампы, тем сильнее проявляется своеобразная окраска в звучании. Звучание становится менее сфокусированным, высокие частоты менее прозрачными и т.д., в общем, разница заметна. Поэтому, применяя параллельное включение, желательно подобрать экземпляры с возможно близкими характеристиками обоих триодов, находящихся внутри одного баллона или принять меры по выравниванию их параметров. Предлагаю Вам попробовать оба варианта, параллельное включение или одиночный триод, тем более что переделки минимальны, и сравнить звучание.

Есть ряд вопросов, касающихся сравнительного звучания ламп октальной серии и ламп с пуговичным дном. На мой взгляд, лампы октальной серии обеспечивают более детальное и прозрачное звучание. Но это лишь моё мнение, поэтому попрошу сторонников применения малогабаритных ламп, не беспокоиться.

Сразу скажу и о типах постоянных резисторов, применяемых в высококачественных усилителях. Наилучшие результаты получаются при применении углеродистых резисторов. Это старые, почти забытые ВС, БЛП, УЛИ, или новые Р1-71. Я применяю последние. Делает их Нижний Новгород, предприятие называется «Резистор-НН».

Можно применить С2-33Н или, в крайнем случае, МЛТ, но есть и ограничения, все резисторы класса точности 1-2%. Рекомендую применять их с 2х-3х кратным запасом по мощности. В сильно разогретом состоянии резисторы начинают шуметь, а нам это совсем не нужно.

Третья группа вопросов связана с типами и номинальными ёмкостями применяемых конденсаторов. Этот вопрос будет условно разделен на три части:

  1. Разделительный конденсатор

  2. Электролитические конденсаторы

  3. Конденсаторы постоянной ёмкости

Будем отвечать последовательно на каждую часть вопроса.

Разделительный конденсатор – это наиважнейший, как и выходной трансформатор, элемент схемы. (Вообще, все элементы важны, обращаю на это Ваше внимание, мелочей здесь не бывает). От его качества очень сильно зависит звучание усилителя в целом.

В радиолюбительской литературе, как вариант, описано применение в качестве разделительных конденсаторов К71, К78, К73, К40У-9, К40У-2, К42У-2, ФТ на соответствующее напряжение – от 250 вольт. Хочу сказать сразу, каждый тип конденсатора имеет свое неповторимое звучание, выбор опять же за Вами. Моё мнение однозначно, только бумага в масле. Я предпочитаю Jensen. Эти конденсаторы бывают медными и алюминиевыми, медный звучит теплее и мягче, а алюминиевый ярче и контрастнее. Звучание усилителя с этими типами конденсаторов наиболее комфортно и сбалансировано. Для справки, стоимость одного конденсатора 20-30$ за алюминий и 30-40$ за медь. Далее привожу формулу для расчета разделительного конденсатора.

C=159/FR, где С - ёмкость в мкФ, F – нижняя граничная частота в Гц, R – резистор в управляющей сетке следующей (выходной) лампы в кОм. Как видите, расчет очень простой и позволяет Вам различные вариации.

Электролитические конденсаторы фильтров в цепях блока питания могут быть попроще. (Это Teapo, Samsung и т.д.), а вот в цепях автоматического смещения – наоборот, как можно лучшего качества. Идеальный вариант – Black Gate, они на сегодняшний день лучшие в мире электролитов. У них два «недостатка»- требуют 10-15 минутного прогрева и высокая цена (10-100$), в зависимости от ёмкости и рабочего напряжения. При применении Black Gate, шунтировать электролиты конденсаторами постоянной емкости, не надо. Кстати о них. Шунтирование электролитов конденсаторами постоянной емкости улучшает звукопередачу в области высоких частот. Ёмкость их выбирают на один – два порядка меньше ёмкости электролитических. Тип этих конденсаторов – плёночные К73, К78 и т.д. Неплохо применять МБГ…., далее идёт одна из букв алфавита, но размеры этих конденсаторов значительны. Для расчета ёмкости конденсатора в цепи автоматического смещения, следует воспользоваться формулой

C=1000000…..2000000/FR, где С – ёмкость конденсатора в мкФ, F – нижняя граничная частота в Гц (как правило 10 Гц), R – резистор автоматического смещения в Ом.

Переходим к четвертой группе вопросов, связанных уже с выходным каскадом. Вначале о резисторе R6, на рис.1. Величина этого резистора (180-500ком), с одной стороны, должна быть как минимум в 5-10 раз выше выходного сопротивления предыдущего каскада, а с другой, не может быть больше максимального сопротивления управляющей сетки конкретной выходной лампы (справочное значение). Поскольку с изменением величины этого резистора меняется и частота среза Г-образного фильтра, образованного С3 и R6, увеличение его приводит к увеличению низких частот и к возможному уменьшению ёмкости разделительного конденсатора и наоборот (см. формулу). «Поиграйтесь» с ним, и Вы сами убедитесь в справедливости моих слов. Для некоторых типов ламп, склонных к возбуждению, полезно между управляющей сеткой выходной лампы и точкой соединения C3 и R6 включить резистор 1-3 ком. (На схеме он не показан). На звучание это практического влияния не оказывает, а возбуждение (если оно есть) будет устранено. Резистор, соединяющий анод лампы и вторую сетку, переводит пентод (или тетрод, как хотите) в режим триода. Сопротивление этого резистора находится в пределах 100-560 Ом, и зависит от типа лампы. Важно, чтобы напряжение на второй сетке всегда было несколько меньше анодного и не превышало справочного значения для конкретной лампы. Я считаю, что применение триодного включения наиболее предпочтительно, и не надо переводить лампу в пентодный или ультралинейный режим (тем более что для этого случая нужен дополнительный отвод с первичной обмотки выходного трансформатора), хотя некоторые авторы с успехом применяют в своих конструкциях именно такое включение.

Пятая группа вопросов связана с различным звучанием ламп в выходном каскаде. Тут есть одна сложность. Дело в том, что, оценивая звучание, мы используем термины, в основе которых лежат эмоциональные критерии. Как можно оценить «прозрачность», «музыкальность», «теплоту» и т.д. и т.п.? Сложность этого вопроса состоит еще и в том,

что каждый из нас слышит по-разному. Я изложу моё восприятие звучания различных типов ламп, наиболее часто применяемых в выходных каскадах. Естественно, все лампы используются в триодном включении, потому что такое включение ламп обеспечивает наилучшее качество звучания.

6П13С – абсолютно нейтральный звук. Из-за этого многим не нравится. Несмотря на это, линейность лампы и как следствие относительно малый коэффициент нелинейных искажений, вне конкуренции. Плюс к этому, из-за относительно низкого внутреннего сопротивления, мощность однотактного каскада на этой лампе будет около 4 Вт.

6П3С – очень «певучая» лампа, специально предназначенная для работы в выходных каскадах УНЧ. Звучание немного окрашено, высокие и низкие частоты на краях звукового диапазона несколько приглажены. Если Вам нравится звучание ламповых приёмников

и радиол пятидесятых годов, то это удачный выбор. Мощность каскада на ней 2-2,5 Вт.

6П14П – звучит немного резче 6П3С. Лампа пальчиковая и разогревается очень сильно. Многие ламповые телевизоры и радиолы прошлых лет имели в выходном каскаде именно эту лампу. Мощность около 1,5-1,7 Вт.

6П43П – хороший выбор. Лампа очень линейна, звучание достаточно детальное и гармоничное. Недостатков я не заметил. Цоколь – как у 6П14П. Мощность каскада около 2,5 Вт. Звучание выходного каскада значительно лучше, чем на 6П14П.

Моя статья об усилителе на этой лампе (автор схемы – А. И. Манаков) опубликована в №9 журнала «Радиолюбитель» за 2003 год.

6П7С – по сравнению с 6П3С имеет более прозрачное звучание на высоких частотах.

В радиолюбительской литературе и на различных форумах лампу 6П7С часто приравнивают к 6П3С. Это несколько не так. 6П7С – это октальный вариант лампы Г-807 и звучит она больше как Г-807, а не как 6П3С. Звучание, с моей точки зрения, немного аналитичное, но в целом – неплохой выбор. Мощность 2 Вт.

6П6С – очень хороша по звучанию. По моему мнению – одна из лучших. Недаром известнейшие производители профессиональных усилителей (Fender, Rickenbacker и т.д.) очень часто применяли её аналог 6V6 GT в выходных каскадах. При использовании этой лампы нужно помнить о том, что из-за более высокого внутреннего сопротивления, не удаётся получить большую выходную мощность, но качество звучания прощает этот недостаток. Мощность однотактного каскада на лампе 6П6С в триодном включении составляет 1,7-2 Вт, при очень детальном и «наполненном» звучании. Если Вы не привыкли слушать музыку на большой громкости – смело применяйте эту лампу, она Вас не разочарует.

6Ф6С – по сравнению с 6П6С звучит немного прозрачнее на высоких частотах. Но разница едва уловима. Поскольку режимы ламп практически одинаковы, можно отслушать их методом простой замены одной на другую. В остальном, все, что сказано о лампе 6П6С, справедливо и для 6Ф6С. Лампа очень линейна, очень часто её применяют в качестве драйверной для раскачки прямонакальных триодов.

EL 34 – очень распространенная лампа, применявшаяся во многих эстрадных усилителях (Regent 60, Beag, Marshall и т.д.) Имеет богатое, «сладкое» (иногда даже слишком) звучание, но очень многим нравится, тем более что позволяет получить мощность в однотактном включении около 3-3,5 Вт.

6L6 (GA, WXT и т.д.) – по параметрам и цоколёвке, аналог 6П3С. Очень часто её называют гитарной. Наверное, потому, что во многих зарубежных инструментальных комбо усилителях стояли именно эти лампы. Параметры параметрами, а звучание лампы 6L6, при сохранении «певучести» 6П3С, характеризуется удивительной «воздушностью» и детальностью. Такое ощущение, что акустических систем просто нет. Плотность звучания при этом нисколько не страдает. Мощность – около 2,5 Вт. Не забывайте, что Отто Шад (RCA) спроектировал лампу 6L6 именно для звукоусиления.

6П45С – ну очень мощная лампа. Имеет низкое внутреннее сопротивление, и позволяет при использовании соответствующего выходного трансформатора получить до 12 ватт!!!! выходной мощности. Усилитель, выходной, каскад которого работает на лампе 6П45С, запросто «расправляется» (в хорошем смысле слова) практически с любыми акустическими системами. Но есть и маленькая «ложечка дёгтя». Для раскачки этой лампы лучше всего применять пентод, например 6Э5П, также не очень удобно и то, что цоколь у неё не стандартный. Звучание усилителя при использовании лампы 6П45С очень мощное и плотное, но, как следствие, присутствует некоторая потеря детальности и прозрачности. В общем – на любителя.

Отдельно нужно сказать о 6Ф3П, 6Ф5П. Имея такие лампы, можно создать очень компактный аппарат, так как в одном баллоне содержится и триод и пентод. Схемы и особенности работы многократно описаны в литературе и на сайтах, поэтому вдаваться в подробности не буду. Мощность усилителя в этом случае 2 Вт, звучание достаточно ровное и детальное. С моей точки зрения, немного не хватает «напора», зато джаз, соул, ритм энд блюз – очень неплохо.

Заметили, сколько телевизионных ламп я привел в качестве примера? Это совсем не случайно. Лампы, специально разработанные для схем строчной развёртки телевизоров, в большинстве своём обеспечивают неплохое качество звучания. Как Вы понимаете, дефекты изображения заметны очень сильно, поэтому высокий вакуум, хорошо продуманная конструкция, высокая рассеиваемая мощность, очень большая электрическая прочность, надёжность и долговечность, а также высокое качество изготовления этих приборов гарантированы. Всё это благотворно сказывается и при использовании этих ламп в звуковом тракте. Поэтому не бойтесь применять телевизионные лампы в своих конструкциях, многие из Вас при этом будут приятно удивлены результатом.

Не могу обойти вниманием и организацию смещения. Как Вы знаете, оно может быть фиксированным и автоматическим. Каждый способ имеет свои неоспоримые достоинства и недостатки. Я попытаюсь изложить основные особенности каждого, а выбор предоставить Вам. Итак, начнём с фиксированного. Основным достоинством является изменение в широких пределах рабочей точки лампы, позволяющее Вам выбрать наиболее оптимальное звучание. Некоторые конструкторы отмечают при применении фиксированного смещения лучшую артикуляцию в басовом регистре. Также отсутствует конденсатор в катодной цепи (как правило, дорогой, высокого качества). Недостатки (как же без них) следующие. Во первых, наличие дополнительной обмотки в силовом трансформаторе. Во вторых, с течением времени требуется корректировка смещения. В третьих, некоторые типы ламп при фиксированном смещении (например, 6П14П, 6С33С) уходят в саморазогрев. В четвёртых, некоторые лампы (например, 6Н8С) звучат при фиксированном смещении, с моей точки зрения, жёстко, а я так не люблю. В пятых, рекомендуется применять только новые, не работавшие лампы. При автоматическом смещении всё наоборот. Мне кажется, что проще купить несколько хороших электролитических конденсаторов и применить автоматическое смещение, чем постоянно думать о том, не ушли ли режимы, не разогрелась ли лампа и т.д. и т.п. Я думаю, что Вы сами решите, какое смещение применять, руководствуясь соображениями, изложенными в этой части статьи. Частным случаем является комбинированное смещение и как вариант фиксированного, смещение с помощью батарейки, которая может находиться в цепи катода или сетки. В некоторых случаях конструкторы для организации фиксированного смещения применяют светодиоды или стабилитроны. Я не рассматриваю эти типы смещений, так как применяются они не часто, и в каких-то конкретных случаях.

Очень часто в выходных каскадах ламповых однотактных усилителей применяются прямонакальные триоды 300В, 6С4С, 2А3, ГМ 70 и т.д., а также триоды косвенного накала 6С19П, 6С41С, 6С33С и т.д. Звучанию этих ламп, схемам и особенностям их работы, будет посвящена отдельная статья, так как оконечные каскады, выполненные на них, имеют свои специфические особенности.

При выборе ламп, предпочтение следует отдавать новым, не работавшим лампам, выпущенным до 1970 года (качество было выше), желательно с большими колбами и чёрными анодами. В любом случае, выбирать и слушать Вам, уважаемые читатели.

Ещё одно очень важное дополнение. Анализируя звучание ламп, я пришёл к интересному выводу. Суть его такова. Лампы выходного каскада, несмотря на индивидуальные особенности, оказывают меньшее влияние на звучание усилителя в целом, чем лампы предварительного каскада. Использование различных ламп во входном каскаде и изменение их режимов, позволяет изменять звучание всего усилителя радикально. Поэтому, в неудовлетворительном звучании аппарата, не спешите обвинять выходной каскад. При правильном расчёте и монтаже он более «прозрачен» для звука, чем входной.

Переходим к шестой группе вопросов, связанных с особенностями монтажа. Для достижения наилучших параметров усилителя существует ряд общих рекомендаций, которые я попытаюсь изложить.

Как вы знаете, трансформаторы и другие моточные изделия, имеют большие поля рассеивания, которые взаимодействуя с радиоэлементами схемы и друг с другом, могут давать различные наводки в виде фона, призвуков и т.д. Поэтому, для начала, лучше всего располагать их как можно дальше друг от друга, следя за тем, чтобы сердечники магнитопроводов были взаимно перпендикулярны. Хорошие результаты получаются при вертикальной разноске этих элементов (например, выходные трансформаторы в подвале шасси, если высота позволяет). Прежде чем сверлить шасси, хорошо бы попробовать различные варианты взаимного расположения элементов усилителя, используя 2х сторонний скотч (продаётся в автомобильных магазинах). Сэкономите силы и время. Кстати о самом шасси. Хорошо, но не обязательно, выполнять его из меди, алюминия или стали. Я, например корпус усилителя, делаю из дубовых дощечек, а в качестве горизонтальной плоскости использую односторонний стеклотекстолит, повёрнутый фольгой внутрь. Некоторые радиолюбители для изготовления корпусов применяют даже простую фанеру, оклеенную изнутри металлизированной плёнкой (продаётся в магазинах канцелярских или хозяйственных товаров), или вообще без неё, но должен предупредить, что в последнем случае, из-за отсутствия экранировки, может несколько увеличиться чувствительность усилителя к наводкам.

Для монтажа используйте провод достаточного сечения (диаметром от 1мм) и не допускайте замкнутых контуров. Вы ведь конструируете высококачественный усилитель, а не радиоприемник. Естественно, все провода должны быть, по возможности, короткими.

Отдельно скажу о разводке «земляной» шины. Очень многие были наказаны неудовлетворительной работой усилителя именно из-за неправильного монтажа «земляных» шин. Монтаж выполняется проводом (можно голым) большого сечения и имеет контакт с шасси в одной точке, желательно рядом с входом. Все «земляные» соединения выполняются «звездой». Это означает, что из точки контакта с шасси, к каждому каскаду усилителя, источнику питания, входному и выходному разъёму, идет отдельный провод и в этой точке получается соединение, похожее на паука или звезду. Все гнёзда, входные и выходные, не имеют контакта с шасси.

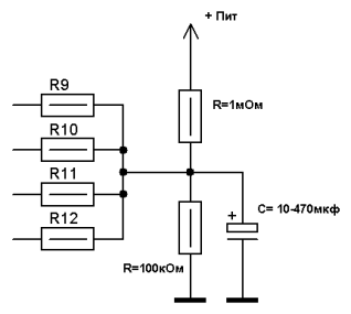
Для соединения входных гнёзд с выводами переменного резистора, отлично подходит медный одножильный провод, сечением 0,5-0,7 мм. Провода перевиты между собой и изолированы друг от друга тонким шнурком для обуви. Перевиты так же и провода цепей накала ламп. Это нужно для уменьшения фона переменного тока. Для этих же целей служат и резисторы R9-R12. Для еще большего подавления фона цепей накала ламп следует применить схему, изображённую на рис.2. Это делитель напряжения 1:10.

Рис. 2

Рис. 2

Посредством него, на накалы ламп подается положительное смещение, которое «запирает» участок накал-катод. Варьируя сопротивлениями резисторов делителя, нужно следить за тем, чтобы запирающее напряжение, подаваемое на R9-R12, было на 8-10 вольт больше напряжения автоматического смещения (на резисторе R8) конкретной выходной лампы. Вместо пар резисторов R9R10 и R11R12, можно применить переменные на 100-200ом, соединённые средним контактом с делителем. Вращением движка переменного резистора, в этом случае, достигается наименьший уровень фона (можно контролировать на слух).

Седьмая группа вопросов связана с выходными трансформаторами. От качества их изготовления, как Вы понимаете, звучание усилителя зависит в наибольшей степени. Очень неплохое качество звучания дают выходные трансформаторы, намотанные на железе от трансформаторов ОСМ.

Если Вы не в силах о самостоятельно осуществить намотку выходных трансформаторов, можно обратиться на http://audioportal.spb.ru где есть готовые с хорошим звучанием, также в этой фирме могут осуществить намотку выходных трансформаторов по вашим расчётам на каркасах, присланных Вами. Можно обратиться также на http://audioinstr.h1.ru, или по телефону 8 926 522 28 70 (Романов Александр). Изделия «Аудиоинструмента» характеризуются неплохим качеством и демократичными ценами.

Безусловно, Tango, Tamura и т.д. – намного лучше. Выбор опять же за Вами. Но цены на эти изделия исчисляются сотнями долларов, и далеко не каждый может позволить себе такое удовольствие.

Отдельно нужно сказать про акустические и межблочные кабели. Многие почему-то недооценивают влияние этих компонентов на звучание вашей системы в целом. А зря. Плохой кабель может свести на нет все усилия конструктора, даже если усилитель правильно настроен, и хорошо звучит. Для акустических систем применяйте OFC провода сечением от 2,5 кв.мм, желательно известного производителя. В качестве межблочных, тоже лучше всего воспользоваться изделиями известных фирм (например Atlas, Daxx, Ecosse, Kimber, XLO и т.д.) Хороший кабель только подчеркнёт достоинства Вашего усилителя.

Также (бюджетный вариант), в качестве межблочных с неплохим звучанием можно применить компьютерный провод UTP-5 (витая пара 5й категории), UTP-6 или радиопровод ПРППМ.

Восьмая группа вопросов связана с особенностями настройки усилителя. Я не думаю, что подбор рекомендованных мною напряжений, вызовет затруднения у людей, хоть раз державших паяльник в руках. Единственное, вольтметр должен иметь высокое входное сопротивление. Ток лампы (повторюсь) удобно контролировать по падению напряжения на катодном резисторе. Зная сопротивление этого резистора и падение напряжения на нём, по закону Ома легко вычисляем ток I=U/R. Одной из распространённых ошибок является измерение тока в разрыве анодной цепи лампы. Для триода это справедливо, но в случае применения пентода, радиолюбители забывают, что суммарный ток, протекающий через лампу, состоит из суммы токов анода и второй сетки. Это же касается и суммарной рассеиваемой мощности.

Для правильной фазировки (очень важно), нужно иметь генератор и 2-х лучевой осциллограф. Если осциллограф однолучевой, то можно настроить по фигурам Лиссажу,

подав сигналы с выхода усилитея на входы “Х” и “Y”. Вместо генератора можно

воспользоваться тестовым диском, с записанными на нем сигналами. Выпущены они редакциями журналов «Салон AV» и «Радиохобби». Смысл фазировки: фаза сигнала на входе усилителя = фазе сигнала на его выходе. Если это не так, меняйте местами выводы вторичной обмотки выходного трансформатора.

Девятая группа вопросов затрагивает схемотехнику. Чаще всего применяется три разновидности схем.

  1. Резистивный входной каскад.

  2. Входной каскад SRPP.

  3. Усилитель по схеме «Лофтин-Уайт».

Каждая схема имеет свои достоинства и недостатки, поэтому коротко скажу об особенностях.

Усилитель на резисторах – наиболее простой и, как правило, хорошо звучащий. Мне такое включение нравится больше всего. Можно несколько улучшить его, включив вместо анодного резистора дроссель. Но в этом случае придется увеличить габариты аппарата и «помучаться» с расположением, так как в случае применения дросселя резко возрастает чувствительность каскада к наводкам.

Усилитель с входным каскадом SRPP (каскад с динамической нагрузкой) был подробно описан в моей статье «И снова ламповый, однотактный», опубликованной в журнале «Радиолюбитель» №3 за 2004 год (стр.35-37). Статья достаточно большая и подробная, поэтому её лучше прочитать целиком. На сайтах она тоже есть, пересказывать нет никакого смысла.

Усилитель по схеме «Лофтин-Уайт» не имеет разделительного конденсатора, поэтому можно немного сэкономить. Но есть и особенности звучания, например более «рыхлый» и, как следствие, плохо артикулируемый низкочастотный диапазон, из-за большого номинала катодного резистора. Обязательна для таких схем задержка подачи анодного питания, так как предварительный и оконечный каскад связаны непосредственно. Не очень нравится и сильная зависимость звучания от сопротивления в цепи катода выходной лампы и повышенное (из-за схемотехнических особенностей) напряжение питания, как правило, от 350 вольт и выше. Но есть и ярые поклонники этой схемы, которые отмечают удивительную «чистоту и заоблачную прозрачность» (цитата не моя) в прорисовке музыкальных образов, так что выбор снова за Вами, уважаемые читатели.

Существуют также схемы с разделительными межкаскадными трансформаторами. Но хороший «межкаскадник» стоит дороже хорошего разделительного конденсатора, его применение должно быть оправдано в каких-то конкретных случаях. Обратитесь к литературе, если интересно, попробуйте.

Десятая группа вопросов связана с акустическими системами, применяемыми совместно с однотактными усилителями.

Общее правило – чувствительность акустики от 90 дБ, так как мощности усилителей небольшие. Хорошо применять системы, динамики которых имеют бумажные диффузоры, потому что «бумажник» наилучшим образом «обращается» с музыкальным сигналом (можно сказать, очень бережно и деликатно). Некоторые используют давно забытую открытую акустику, но имейте ввиду, что звучание таких систем настолько не привычно и не похоже на современное, что может оттолкнуть Вас от применения этих изделий, а также их большие габариты и акустическое короткое замыкание на низких частотах.

Слушайте и выбирайте сами. Из-за нехватки места в наших квартирах, очень часто применяется полочная акустика (например, KEF Q1 и т.д.), которая дает очень неплохие результаты.

Для тех, кто самостоятельно хочет изготовить акустические системы, нужно сказать, что процесс этот очень долгий и сложный, требующий немалых знаний, столярных навыков, терпения и аккуратности. Вряд ли кого-то устроит, как предмет интерьера, безобразный угловатый ящик без отделки, но опять же – выбирать Вам. Чтобы Вы поняли, насколько сложно правильно рассчитать и изготовить акустику самостоятельно, советую прочитать статьи моего друга Александра Клячина. Они есть в журналах и Интернете. Масса информации, полезных рекомендаций и расчётов. Кстати, на сайте Александра есть и моя статья, посвящённая межблочным и акустическим кабелям. Если интересно, прочитайте. Она хоть и рассчитана на начинающих, но позволит избежать ненужной траты денег и времени.

Одиннадцатая группа вопросов касается источника питания. Как Вы знаете, он может быть построен с использованием диодов и ламп (кенотронов). В первом случае Вы экономите место (потому что диоды имеют маленький размер), а также упрощается изготовление силового трансформатора (отсутствует обмотка питания накала кенотрона и средний вывод в анодной обмотке, которая, кроме того, рассчитывается на удвоенное напряжение питания), во втором - выигрываете в качестве звучания. Усилитель, источник питания которого выполнен на кенотронах, звучит лучше. Об этом феномене написано много статей, поэтому покопайтесь в Интернете и почитайте соответствующую литературу. Кроме звучания, у кенотронного питания есть ещё одно очень важное преимущество. Поскольку анодное напряжение усилителя увеличивается постепенно (по мере разогрева накала кенотрона), можно не делать дополнительный тумблер для включения анодного питания. Лампы (особенно дорогостоящие) в этом случае не пострадают. Если же Ваша конструкция малогабаритная, придётся выполнить источник питания на диодах. Тут есть маленькая тонкость. Выпрямительные диоды нужно выбирать «быстрые» (частота от 30 kHz и выше, например КД 226) на соответствующий ток и напряжение. Кроме этого, каждый диод шунтируется конденсатором, ёмкостью от 5100 пФ до 0,022 мкФ на удвоенное напряжение питания. Прекрасно подходят для этой цели конденсаторы К78-2. Эта мера позволяет уменьшить коммутационные помехи, вызываемые переключением диодов.

Теперь можно рассказать Вам, какие лампы и радиоэлементы работают в моей конструкции усилителя. Схема, приведенная на рис.1, тоже полностью отработана и отлично звучит, просто я посчитал нужным привести описание деталей и режимов, обеспечивающих (с моей точки зрения) ещё лучшее качество звучания. Итак, начнём. Переменный резистор ALPS – 47 ком. Лампа первого каскада – 6С5С(6С2С). Резистор в цепи анода первой лампы – 24 ком 5 Вт. Резистор утечки – 300 ком 1 Вт. Резистор в катоде – 510 Ом 2 Вт. Шунтирующий его конденсатор 1000х6,3v Black Gate. Напряжение на катоде – около 3х вольт. Ток через лампу – около 6 мА. Разделительный конденсатор – 0,22х630v Jensen алюминий. Лампа выходного каскада – 6L6WXT. Выходной трансформатор TW10SE фирмы «Audioinstrument», габаритная мощность 100 Вт, ток первичной обмотки до100 мА, сопротивление Ra=4ком, К=24. Катодный резистор ПЭВ-10 проволочный 200 Ом. Зашунтирован конденсатором 1000х63v+20 мкФ МБГО на 160 вольт. Ток через лампу – 80 мА. Напряжение на катоде – около16 вольт. Резистор утечки – 270 ком 2 Вт. Внутренний монтаж выполнен медным одножильным проводом Nordost Wyre Wizard Dreamcaster, диаметром 1мм. Кенотрон 5U4G. Электролитические конденсаторы в фильтрах питания Jamicon 470мкфх400v, каждый зашунтирован ёмкостью К73-17 1мкфх630v. Напряжение анодного питания – около 300 вольт.

В заключении я хотел бы поблагодарить моего друга А. И. Манакова за консультации при подготовке этой статьи, В. Зимакова (Z-Audio) за предоставленные лампы 6L6 GA (1964 год), А. Романова и С. Глазунова (Audioinstrument) за изготовление моточных изделий. Пробуйте, экспериментируйте, слушайте Ваши конструкции и результат не заставит себя долго ждать, ведь качественное звучание – это целый мир, которого вы все достойны.


Добавил:  Павел (Admin)  
Автор:  В.В.Пузанов, г. Брянск. caravan@online.bryansk.ru 

Вас может заинтересовать:

  1. Усилитель SE на лампах 6П44СМ
  2. Усилитель с непосредственной связью каскадов на 6Ж1П, 6П14П
  3. Три источника и три составные части...
  4. Универсальная одноламповая схема предусилителя, усилителя для телефонов и усилителя мощности
  5. Усилитель на ГМ 70


    © PavKo, 2007-2018   Обратная связь   Ссылки views: 1430 -- users: 573 -- web3   Яндекс.Метрика