Портал для радиолюбителей
   Устройство для автоматической подзарядки аккумуляторов в системе аварийного питания
    Главная -> Статьи -> Блоки питания, зарядные устройства -> Устройство для автоматической подзарядки аккумуляторов в системе аварийного питания


<< Назад в раздел   Распечатать Дата добавления: 2008-06-17 | Просмотров: 10516

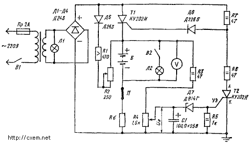
Источником питания аварийного питания освещения, сигнализации и других устройств на многих объектах служат аккумуляторные батареи напряжением 12 В. Однако в процессе эксплуатации они разряжаются. Предлагаемое устройство для автоматической подзарядки аккумуляторных батарей в системе аварийного питания в процессе эксплуатации показано на схеме.

Схема устройства подзарядки

Устройство питается от сети переменного тока напряжением 127— 220 В и работает следующим образом. Во время заряда батареи Б тиристор Т1 открыт. При этом напряжение U на потенциометре R4 ниже порогового напряжения (12—14 В) стабилитрона Д7, и тиристор Т2 закрыт.
Когда напряжение батареи приближается к значению полного заряда, отпирается тиристор Т2, и через делитель напряжения R6—R7 на управляющий электрод тиристора Т1 подается запирающее напряжение отрицательной полярности. Тиристор Т1 закрывается, батарея разряжается и переходит в режим дозарядки малым током, определяемым величиной сопротивления резисторов R1, R2 и RЗ. Величина тока дозарядки может устанавливаться резистором R2.
Величина зарядного тока батареи может быть замерена амперметром, включенным вместо перемычки П. Повторный заряд батареи начинается автоматически, когда ее напряжение упадет настолько, что тиристор Т2 закроется.
При первом включении схему следует настроить. Это достигается изменением сопротивления резистора R4 до такого значения, пока в цепи батареи не появится ток и не откроется тиристор Т1.
В дальнейшем схема в подстройке не нуждается и работает в автоматическом режиме. Устройство не только подзаряжает, но и поддерживает номинальную емкость аккумуляторных батарей в системе аварийного питания.


Добавил:  Павел (Admin)  
Автор:  Неизвестно 

Вас может заинтересовать:

  1. Простой регулятор напряжения на тиристоре
  2. Блок питания автомобильного усилителя Jensen 4*40 Вт
  3. Сетевой источник питания с высокими удельными параметрами
  4. Зарядное устройство для стартерных аккумуляторных батарей
  5. Блок питания с защитой от короткого замыкания


    © PavKo, 2007-2018   Обратная связь   Ссылки views: 654 -- users: 628 -- web3   Яндекс.Метрика