Портал для радиолюбителей
   Автомат кормления аквариумных рыб
    Главная -> Статьи -> Бытовая электроника -> Автомат кормления аквариумных рыб

хочу купить речную рыбу оптом в Москве по низкой цене

<< Назад в раздел   Распечатать Дата добавления: 2007-12-19 | Просмотров: 8088

   Да, любители аквариумный рыб, заботу о регулярном кормлении ваших подопечных вполне можно поручить описываемому здесь автомату. Он обеспечивает ежедневное одноразовое утреннее кормление рыб.
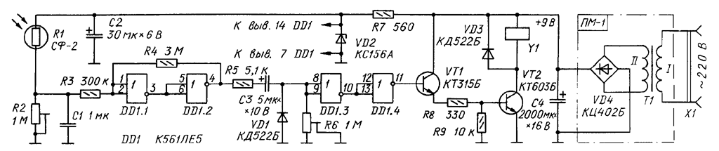
   Электронную часть такого устройства (рис.1) образуют светочувствительный элемент, функцию которого выполняет фоторезистор R1, триггер Шмитта, собранный на элементах DD1.1 и DD1.2, формирователь импульса нормированной длительности подачи корма, выполненный на элементах DD1.3, DD1.4, и электронный ключ на транзисторах VT1,VT2. Роль дозатора корма выполняет электромагнит, управляемый транзисторным ключом.
   Источником питания автомата служит серийно выпускаемое выпрямительное устройство ПМ-1, предназначаемое для питания двигателей электрифицированных самоходных моделей и игрушек, или любой другой сетевой блок питания с выходным напряжением 9 В и током нагрузки до 300 мА. Для повышения стабильности работы автомата его фотоэлемент и микросхема питаются от параметрического стабилизатора напряжения R7, VD2, С2.
   В темное время суток, когда сопротивление фотодатчика R1 велико, на входе и выходе триггера Шмитта, а также на входе элемента DD1.3 и выходе элемента DD1.4 действует напряжение низкого уровня. Транзисторы VT1 и VT2 закрыты. В таком "дежурном" режиме устройство потребляет небольшой ток- всего несколько миллиампер. С рассветом сопротивление фоторезистора начинает постепенно уменьшаться, а падение напряжения на резисторе R2 - увеличиваться. Когда это напряжение достигает порога срабатывания триггера, на выходе его элемента DD1.2 появляется сигнал высокого уровня, который через резистор R5 и конденсатор С3 поступает на вход элемента DD1.3. В результате элементы DD1.3 и DD1.4 формирователя импульса нормированной длительности переключаются в противоположное логическое состояние. Теперь сигнал высокого уровня на выходе элемента DD1.4 открывает транзисторы VT1 и VT2, а электромагнит Y1, срабатывая, приводит в действие дозатор корма рыб.
   С наступлением вечернего времени суток сопротивление фоторезистора увеличивается, а напряжение на резисторе R2 и, следовательно, на входе триггера уменьшается. При пороговом напряжении триггер переключается в исходное состояние и конденсатор С3 быстро разряжается через диод VD1, резистор R5 и элемент DD1.2. С рассветом весь процесс работы автомата повторяется.


Рис. 1


   Длительность работы дозатора определяется временем зарядки конденсатора С3 через резистор R6. Изменением сопротивления этого резистора регулируют норму высыпаемого в аквариум корма. Чтобы устройство не срабатывало при пропадании и последующем появлении сетевого напряжения, различных световых помех, параллельно резистору R2 подключен конденсатор С1.
   Микросхема DD1 может быть К561ЛА7, транзистор VT1 - КТ315А-КТ315И, КТ312А-КГ315В, КТ3102А-КТ3102Е,/Т2 - КТ603А, КТ603Б, КТ608А, КТ608Б, КТ815А-КТ815Г, КТ817А - КТ817Г. Стабилитрон КС156А заменим на КС168А, КС162В, КС168В. Диоды КД522Б - на КД521А, КД102А, КД102Б, КД103А, КД103Б, Д219А, Д220. Конденсатор С1-КМ; С2 и С3-К50-6, К50-16; С4 - К50-16 или К50-6. Подстроечные резисторы R2 и R6 - СП3-3, другие резисторы-ВС, МЛТ. Фоторезистор R1 -СФ2-2, СФ2-5, СФ2-6, СФ2-12, СФ2-16; можно также использовать фототранзистор ФТ-1.
   Монтажную плату вместе с фоторезистором размешают в пластмассовом корпусе подходящих размеров. В стенке корпуса против фоторезистора сверлят отверстие. Устройство ставят на подоконнике таким образом, чтобы через отверстие в корпусе на фоторезистор падал рассеянный дневной свет и не попадали прямые солнечные лучи или свет от искусственных источников освещения. Для соединения с блоком питания и дозатором на корпусе можно установить разъемы любой конструкции.
   Возможная конструкция дозатора, устанавливаемого на аквариуме, показана на рис.2. С целью упрощения, функцию электромагнита в нем выполняет несколько переделанное электромагнитное реле РЭН-18 (паспорт РХ4.564.706), которое срабатывает при напряжении 6 В и обеспечивает достаточное усилие для работы дозатора.
   Сам дозатор состоит из конусообразного бункера 2 из тонкого металла (можно использовать корпус от аэрозольного препарата), приклеенного к цилиндрическому основанию 1 толщиной 5...7 мм и диаметром 15...20 мм. В основании - сквозное отверстие диаметром 5...7 мм, в котором свободно перемещаете тонкостенная трубка 3 с дозирующим отверстием в стенке. Снизу на трубку надета пружина 9, зафиксированная шайбой 10 и развальцованным (или оплавленным - для пластмассовой трубки) концом. Верхний конец трубки стальной проволочной тягой 4 соединен с рычагом 5, скрепленным с якорем 6 реле 7. Все контактные группы реле удаляют. Бункер и реле жестко скреплены с основанием 8 дозатора.
   Сухой корм насыпают в бункер. В это время дозирующее отверстие в трубке, диаметр которого равен длине хода трубки, под действием якоря реле должен перекрываться основанием бункера. При срабатывании реле его якорь через рычаг 5 и тягу 4 смещает трубку вверх, дозирующее отверстие в трубке открывается и через него корм попадает в аквариум.
   Налаживают автомат в таком порядке. Движок резистора R2 устанавливаютв верхнее (по схеме) положение и размещают устройство на выбранном месте. В утренние часы, при небольшом освещении, медленно увеличивая сопротивление этого резистора, добиваются срабатывания дозатора. Далее в бункер засыпают корм и, периодически затеняя фоторезистор, подстроечным резистором R6 регулируют длительность работы дозатора.
   Работу устройства в автомагическом режиме контролируют в течение двух-трех недель и проводят дополнительные необходимые регулировки.

Рис. 2

    И.НЕЧАЕВ, г. Курск, Радио №5, 1993 г., стр.33


Добавил:  Павел (Admin)  
Автор:  И.НЕЧАЕВ, г. Курск, Радио №5, 1993 г., стр.33 

Вас может заинтересовать:

  1. Фототир на базе лазерной указки
  2. Простой сигнализатор протечки (влажности)
  3. Схема питания высоковольтных ламп дневного света от аккумуляторной батареи
  4. Однофазный электронный счетчик электроэнергии Меркурий-200
  5. Фототранзистор-индикатор дыма


    © PavKo, 2007-2018   Обратная связь   Ссылки views: 707 -- users: 661 -- web3   Яндекс.Метрика