Портал для радиолюбителей
   УЗЧ на базе А2030
    Главная -> Статьи -> Полупроводниковые усилители низкой частоты -> УЗЧ на базе А2030


<< Назад в раздел   Распечатать Дата добавления: 2008-02-17 | Просмотров: 12015

Микросхема А2030, на мой взгляд, является наилучшим из существующих на данный момент интегральных усилителей мощности. По таким важнейшим показателям как выходная мощность и коэффициент гармоник он далеко обгоняет другие имеющиеся на рынке интегральные усилители. Предлагаемый стереофонический УЗЧ на базе А2030 обладает низким коэффициентом гармоник и большой выходной мощностью.

		Параметры УЗЧ
	
	Выходная мощность, Вт
		- при Рн=4 Oм 			2х180
		- при Rн=8 Ом 			2х90
	Коэффициент гармоник,% не более 	1
	Напряжение питания, В ±	22

uzch1.gif

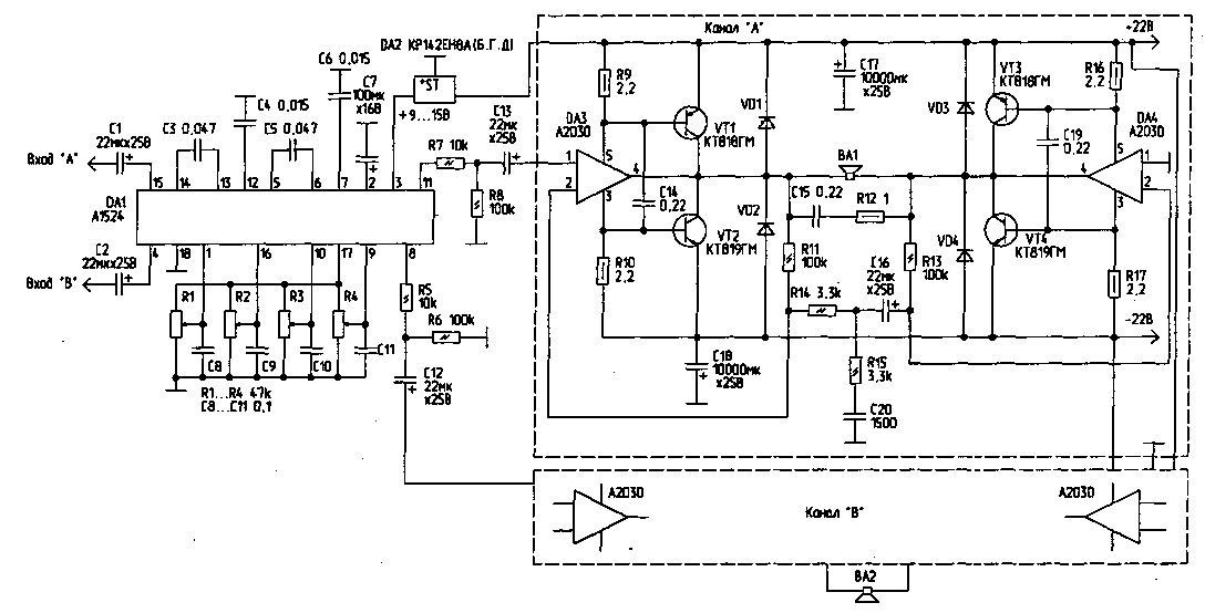
На микросхеме DA1 собран предварительный усилитель, регуляторы тембра, громкости и баланса. Резисторы R1 и R2 используются для регулировки громкости и баланса соответственно, a R3 и R4 - для регулировки тембра. Далее сигнал ЗЧ идет на микросхемы DA3, DA4, которые "раскачивают" транзисторы VT1 ...VT4. Их следует установить на теплоотводы. Диоды VD1...VD4 могут быть любые средней мощности. Полученный сигнал ЗЧ большой мощности поступает на нагрузку ВА1 (ВА2). Мощность громкоговорителя должна быть не менее 200 Вт при сопротивлении 4 Ом и не менее 100 Вт при 8 Ом.

Данный УЗЧ можно использовать на дискотеках, для озвучивания больших площадей или залов.


Добавил:  Павел (Admin)  
Автор:  С.СЫЧ, п.Ореховский, Брестской обл. (РЛ 3/99) 

Вас может заинтересовать:

  1. Автомобильный усилитель 2x40 Вт
  2. УМЗЧ для плейера
  3. "Несжигаемый" УНЧ для автомагнитолы
  4. Усилитель мощности класса В с коррекцией искажений из-за использования прямой связи
  5. Усилитель мощности на комплементарных транзисторах с полной симметрией плеч для обеих полуволн усиливаемого сигнала и с двойным дифференциальным каскадом на входе


    © PavKo, 2007-2018   Обратная связь   Ссылки views: 1612 -- users: 1601 -- web3   Яндекс.Метрика